GM Service Manual Online
For 1990-2009 cars only

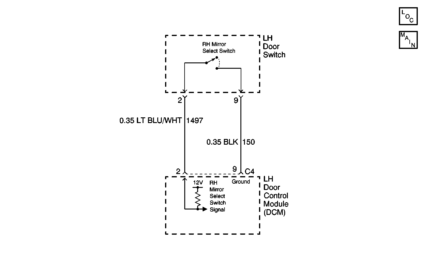
Object Number: 551137  Size: MF
Power and Grounding Components
Door Control Module Schematics

Circuit Description

The LH door switch circuit provides input to the LH Door Control Module (LDCM) when the mirror select switch is pressed. This input allows the LDCM to detect a LH or RH mirror request. The LDCM provides both power and ground to both of the mirror select switches. When the LH mirror select switch is pressed, a ground is supplied through the LH mirror select switch to the LH mirror select switch signal which is pulled low. When the LDCM detects low voltage on the LH mirror select switch input, the LDCM will allow the LH mirror to operate. When the LDCM detects low voltage on the RH mirror select switch signal, the LDCM will allow the RH mirror to operate. The LDCM controls RH mirror functions by sending mirror control messages to the RH Door Control Module (RDCM) on the serial data line. The LDCM monitors both the LH and RH mirror select switch signal circuit and determines how long a ground (switch pressed) has been applied. If the ground is applied for longer than expected, a malfunction is present and a DTC will set.

Conditions for Setting the DTC

    • The LDCM detects a low voltage level (short to ground) at the RH mirror select switch signal circuit.
    • Condition must be present for 20 seconds.

Action Taken When the DTC Sets

    • Stores a history DTC B2224 in the LDCM memory.
    • This DTC can only be set as a history code even if the malfunction is current.
    • No driver warning message will be displayed for this DTC.

Conditions for Clearing the DTC

    • The LDCM no longer detects a low voltage level (short to ground) at the RH mirror select switch signal circuit for longer than 20 seconds.
    • Use the IPC clearing DTCs feature.
    • Use a scan tool.

Diagnostic Aids

    • The following conditions may cause an intermittent malfunction:
       - There is an intermittent short to ground in RH mirror select switch signal circuit.
       - The RH mirror select switch is shorted to ground internally or is sticking.
       - The RH mirror select switch was pressed for longer than 20 seconds.
    • If RH mirror select switch signal circuit is shorted to ground or the RH mirror select switch is stuck closed, the RH mirror will operate, but the LH mirror will be inoperative .
    • Using a scan tool, select LDCM inputs and monitor the Passenger Mirror Select Switch status. If the scan tool displays ACTIVE, disconnect the LH mirror switch and check if the Passenger Mirror Select Switch status changes to INACTIVE. If the Passenger Mirror Select Switch status changed, then replace the LH mirror switch. If the Passenger Mirror Select Switch status did not change, then check RH mirror select switch signal circuit for a short to ground.
    • If the DTC does not reset after the code is cleared, then the problem may be intermittent. Perform the tests shown while moving related wiring and connectors. This can often cause the malfunction to occur. Refer to Intermittents and Poor Connections .

Test Description

The number(s) below refer to the step number(s) on the diagnostic table.

  1. Tests for the normal state of the RH mirror select switch using a scan tool. The scan tool will display the normal state as INACTIVE, and ACTIVE when the switch is activated.

  2. Tests if the LH DCM is able to detect a change in RH mirror select switch state. The scan tool will display the normal state as INACTIVE, and ACTIVE when the switch is activated.

  3. Tests for a stuck or shorted RH mirror select switch. If the RH mirror select switch is stuck or shorted, the state will change from ACTIVE to INACTIVE when the RH mirror select switch is disconnected.

  4. Tests for a short to ground in the RH mirror select switch signal circuit.

Step

Action

Value(s)

Yes

No

1

Did you perform the Power Door Systems Diagnostic System Check?

--

Go to Step 2

Go to Diagnostic System Check - Power Door Systems

2

  1. Install a scan tool.
  2. Turn ON the ignition, with the engine OFF.
  3. With a scan tool, observe the Passenger Mirror Select Switch parameter in the LH DCM data list.

Does the scan tool display INACTIVE?

--

Go to Step 3

Go to Step 4

3

  1. Activate the RH mirror select switch.
  2. With the scan tool, observe the Passenger Mirror Select Switch parameter in the LH DCM data list.

Does the Passenger Mirror Select Switch parameter change state?

--

Go to Diagnostic Aids

Go to Step 4

4

  1. Turn OFF the ignition.
  2. Disconnect the RH mirror select switch.
  3. Turn ON the ignition, with the engine OFF.
  4. With a scan tool, observe the Passenger Mirror Select Switch parameter in the LH DCM data list.

Does the scan tool display INACTIVE?

--

Go to Step 7

Go to Step 5

5

Test the signal circuit of the RH mirror select switch for a short to ground. Refer to Circuit Testing and Wiring Repairs in Wiring Systems.

Did you find and correct the condition?

--

Go to Step 10

Go to Step 6

6

Inspect for poor connections at the harness connector of the LH DCM. Refer to Testing for Intermittent Conditions and Poor Connections and Connector Repairs in Wiring Systems.

Did you find and correct the condition?

--

Go to Step 10

Go to Step 8

7

Inspect for poor connections at the harness connector of the LH door switch. Refer to Testing for Intermittent Conditions and Poor Connections and Connector Repairs in Wiring Systems.

Did you find and correct the condition?

--

Go to Step 10

Go to Step 9

8

Replace the LH DCM. Refer to Door Control Module Replacement .

Did you complete the replacement?

--

Go to Step 10

--

9

Replace the LH door switch. Refer to Front Door Switch Replacement .

Did you complete the replacement?

--

Go to Step 10

--

10

  1. Use the scan tool in order to clear the DTCs.
  2. Operate the vehicle within the Conditions for Running the DTC as specified in the supporting text.

Does the DTC reset?

--

Go to Step 2

System OK