GM Service Manual Online
For 1990-2009 cars only

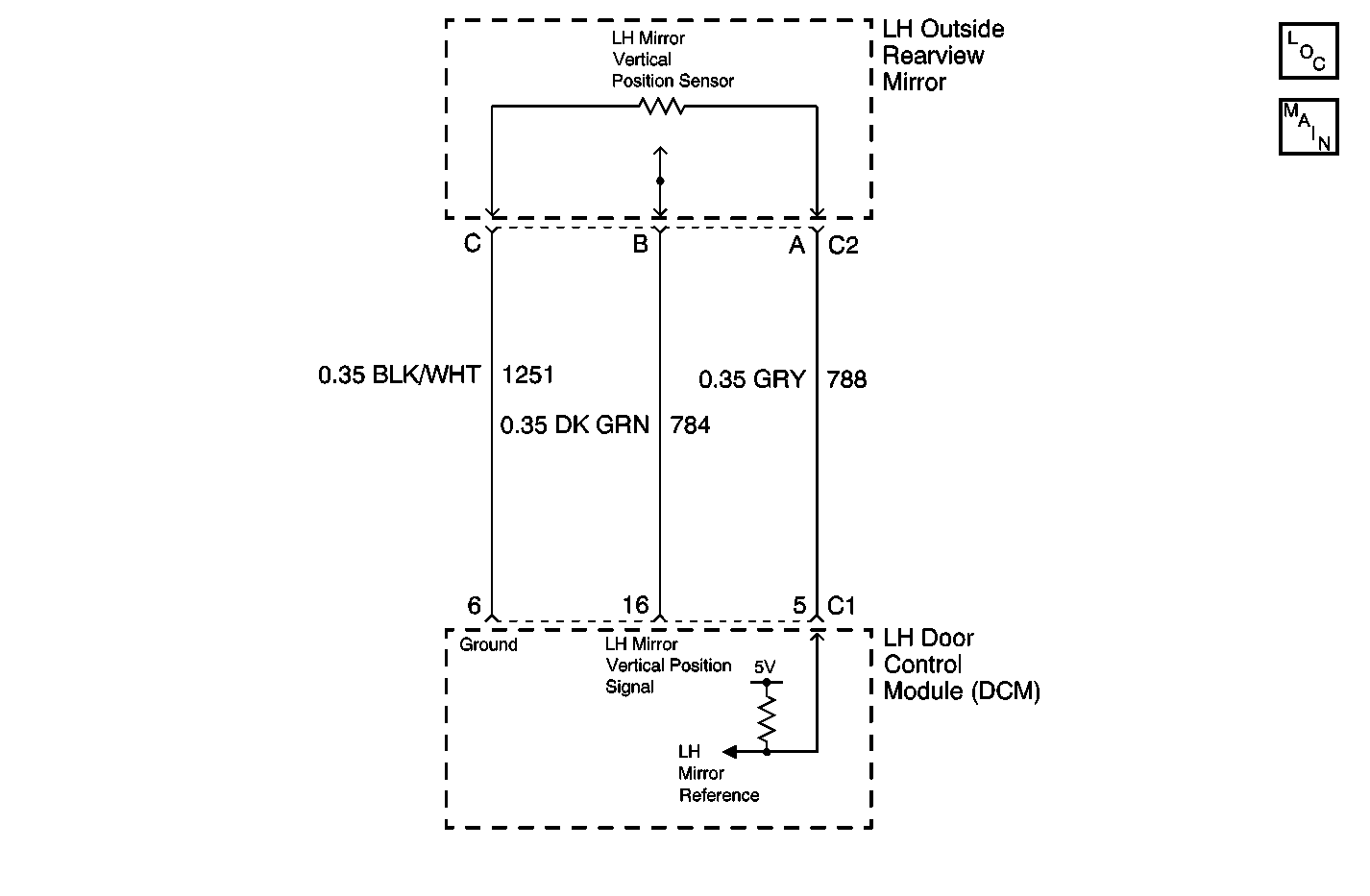
Object Number: 551154  Size: MF
Power and Grounding Components
Door Control Module Schematics

Circuit Description

The LH Door Control Module (LDCM) receives a vertical position signal from the LH mirror vertical position sensor. This signal is used by the LDCM for memory recall functions to determine the vertical position of the LH mirror. The LDCM commands the mirror memory settings based upon the voltage level the LDCM receives back from the vertical position sensor. The LDCM provides a 5 volt supply, a signal, and a ground to the vertical position sensor. The vertical position sensor is a variable resistor which the LDCM monitors the voltage level across. When a memory setting is recalled, the LDCM will command the LH mirror motor in the appropriate direction until the stored position sensor voltage level is achieved. The LDCM also monitors the LH mirror vertical position signal circuit and can determine if the voltage level received is out of range. If the voltage level is out of range, then a malfunction is present and a DTC will set.

Conditions for Setting the DTC

    • The LDCM detects LH mirror vertical position sensor signal voltage range under 0.1 volts or over 4.78 volts.
    • Condition must be present for 2 seconds.

Action Taken When the DTC Sets

    • Stores a history DTC B2264 in the LDCM memory.
    • This DTC can only be set as a history code even if the malfunction is current.
    • No driver warning message will be displayed for this DTC.

Conditions for Clearing the DTC

    • The LDCM detects the correct LH mirror vertical position sensor signal voltage range (0.1-4.78 volts) for longer than 2 seconds.
    • Use the IPC clearing DTCs feature.
    • Use a scan tool.

Diagnostic Aids

    • The following conditions may cause an intermittent malfunction:
       - There is an intermittent open or short (to ground or voltage) in LH mirror reference, signal, or ground circuit.
       - The LH mirror vertical position sensor is open or shorted internally.
    • If the LDCM is unable to determine the correct vertical position, manual power mirror functions will still operate, but the LDCM will not be able to recall the correct mirror memory settings.
    • Using a scan tool, select LDCM Data display and monitor the mirror vertical position data. Move the LH power mirror vertically in both direction while monitoring the vertical position sensor data. The voltage range should vary and stay between 0.1-4.78 volts depending on the direction of the mirror. This checks if the mirror vertical position sensor is open or shorted in different positions.
    • If the DTC does not reset after the code is cleared, then the problem may be intermittent. Perform the tests shown while moving related wiring and connectors. This can often cause the malfunction to occur. Refer to Intermittents and Poor Connections .

Test Description

The number(s) below refer to the step number(s) on the diagnostic table.

  1. This tests the LH mirror vertical position signal voltage using a scan tool. Normal signal voltage range is between 0.1-4.78 volts.

  2. This tests the LH mirror vertical position signal voltage using a scan tool with the mirror disconnected. Normal signal voltage range with the mirror disconnected is approximately 4.0 volts.

  3. This tests the LH mirror vertical position signal voltage using a scan tool with the signal circuit jumpered to the sensor ground circuit. Normal signal voltage range with the sensor jumpered to ground is less than 0.1 volt.

  4. This tests the LH mirror vertical position signal voltage using a scan tool with the signal circuit jumpered to the 5 volt reference circuit. Normal signal voltage range with the sensor jumpered to the 5 volt reference circuit is over 4 volts.

Step

Action

Value(s)

Yes

No

1

Did you perform the Power Door Systems Diagnostic System Check?

--

Go to Step 2

Go to Diagnostic System Check - Power Door Systems

2

  1. Install a scan tool.
  2. Turn ON the ignition, with the engine OFF.
  3. With a scan tool, observe the Mirror Vertical Position parameter in the LH DCM data list.

Does the scan tool indicate that the Mirror Vertical Position parameter is within the specified range?

0.1-4.78 V

Go to Diagnostic Aids

Go to Step 3

3

  1. Turn OFF the ignition.
  2. Disconnect the LH mirror.
  3. Turn ON the ignition, with the engine OFF.
  4. With a scan tool, observe the Mirror Vertical Position parameter.

Does the scan tool indicate that the Mirror Vertical Position parameter is greater than the specified value?

4.0 V

Go to Step 4

Go to Step 8

4

  1. Turn OFF the ignition
  2. Connect a 3 amp fused jumper wire between the signal circuit of the LH mirror vertical position sensor and the ground circuit of the LH mirror vertical position sensor.
  3. Turn ON the ignition, with the engine OFF.
  4. With a scan tool, observe the Mirror Vertical Position parameter.

Does the scan tool indicate that the Mirror Vertical Position parameter is less than the specified value?

0.1 V

Go to Step 5

Go to Step 9

5

  1. Turn OFF the ignition
  2. Disconnect the fused jumper wire.
  3. Connect a 3 amp fused jumper wire between the 5 volt reference circuit of the LH mirror vertical position sensor and the signal circuit of the LH mirror vertical position sensor.
  4. Turn ON the ignition, with the engine OFF.
  5. With a scan tool, observe the Mirror Vertical Position parameter.

Does the scan tool indicate that the Mirror Vertical Position parameter is greater than the specified value?

4.0 V

Go to Step 7

Go to Step 6

6

Test the 5 volt reference circuit of the LH mirror vertical position sensor for a short to ground. Refer to Circuit Testing and Wiring Repairs in Wiring Systems.

Did you find and correct the condition?

--

Go to Step 15

Go to Step 12

7

Test the 5 volt reference circuit of the LH mirror vertical position sensor for a short to voltage, a high resistance, or an open. Refer to Circuit Testing and Wiring Repairs in Wiring Systems.

Did you find and correct the condition?

--

Go to Step 15

Go to Step 11

8

Test the signal circuit of the LH mirror vertical position sensor for a short to ground. Refer to Circuit Testing and Wiring Repairs in Wiring Systems.

Did you find and correct the condition?

--

Go to Step 15

Go to Step 12

9

Test the signal circuit of the LH mirror vertical position for a short to voltage, a high resistance, or an open. Refer to Circuit Testing and Wiring Repairs in Wiring Systems.

Did you find and correct the condition?

--

Go to Step 15

Go to Step 10

10

Test the ground circuit of the LH mirror vertical position for a high resistance or an open. Refer to Circuit Testing and Wiring Repairs in Wiring Systems.

Did you find and correct the condition?

--

Go to Step 15

Go to Step 12

11

Inspect for poor connections at the harness connector of the LH mirror. Refer to Testing for Intermittent Conditions and Poor Connections and Connector Repairs in Wiring Systems.

Did you find and correct the condition?

--

Go to Step 15

Go to Step 13

12

Inspect for poor connections at the harness connector of the LH DCM. Refer to Testing for Intermittent Conditions and Poor Connections and Connector Repairs in Wiring Systems.

Did you find and correct the condition?

--

Go to Step 15

Go to Step 14

13

Replace the LH mirror. Refer to Outside Rearview Mirror Replacement .

Did you complete the replacement?

--

Go to Step 15

--

14

Replace the LH DCM. Refer to Door Control Module Replacement .

Did you complete the replacement?

--

Go to Step 15

--

15

  1. Use the scan tool in order to clear the DTCs.
  2. Operate the vehicle within the Conditions for Running the DTC as specified in the supporting text.

Does the DTC reset?

--

Go to Step 2

System OK