GM Service Manual Online
For 1990-2009 cars only

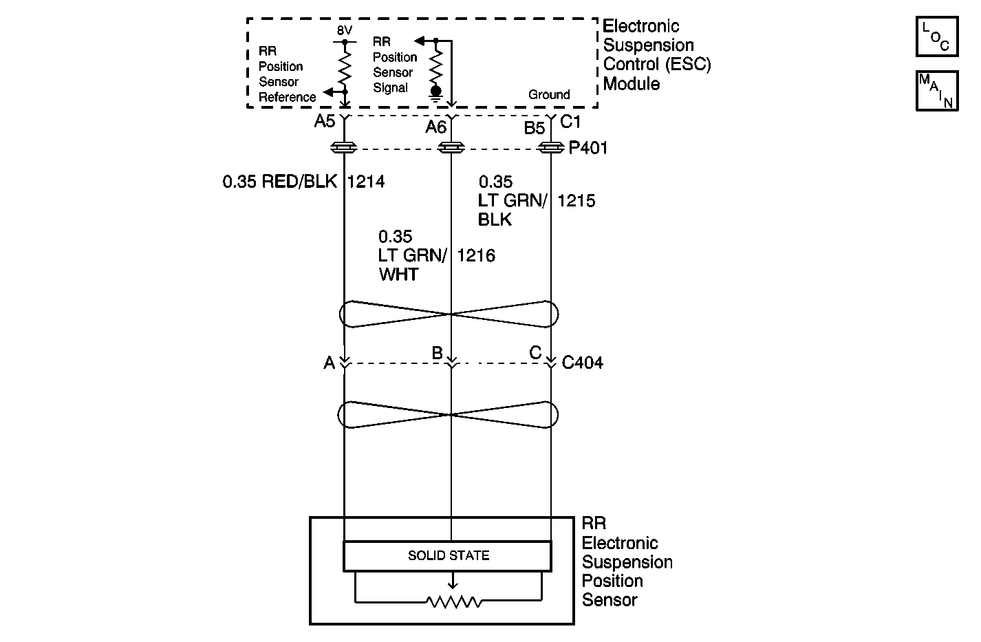
Object Number: 539871  Size: MF
Power and Grounding Components
Suspension Controls Schematics

Circuit Description

The ESC module supplies 8 volts to the position sensors. The position sensors use the supplied 8 volts to produce an analog output range of 0-5 volts. The ESC module calculates vehicle suspension settings based upon the voltage levels received back from the position sensors. The ESC model monitors for an out of range condition.

Conditions for Setting the DTC

    • The ESC module senses position sensor output voltage under 0.35 volts or over 4.75 volts.
    • The condition must be detected for 1 second in 4 consecutive ignition cycles.

Action Taken When the DTC Sets

    • Stores a DTC C0630 in the ESC memory.
    • Provides shocks absorber solenoid control based on the vehicle speed only.
    • Sends a message to the IPC to display the SERVICE RIDE CONTROL message.

Conditions for Clearing the DTC

    • A history DTC will clear after 100 consecutive ignition cycles if the condition for the malfunction is no longer present.
    • The ESC module senses the correct position sensor output voltage between 0.35-4.75 volts.
    • Use the IPC clearing DTC feature.
    • Using a scan tool.

Diagnostic Aids

    • The following conditions may cause an intermittent malfunction to occur:
       - An intermittent open or short in the RR position sensor circuit.
       - Bent, disconnected, or damaged position sensor linkage.
    • When using a scan tool in order to read position sensor voltage, always make sure the vehicle is sitting with the full vehicle weight on its wheels. Measuring position sensor voltage with the vehicle raised and the wheels hanging may lead to incorrect diagnosis.
    • An intermittent DTC C0630 may produce a random firm/soft ride condition.
    • The ESC module uses an ignition cycle counter diagnostic approach to set this DTC. This requires the ESC module to detect the malfunction 4 times before setting the DTC. To disable this feature, use a scan tool to clear all DTCs before preforming diagnostic procedures.
    • If the DTC is a history DTC, the problem may be intermittent. Using a scan tool, monitor the position sensor voltage while test driving the vehicle or moving the wiring and the connectors. This can often cause the malfunction to occur.

Test Description

The number(s) below refer to the step number(s) on the diagnostic table.

  1. This tests the RR position sensor signal voltage range using a scan tool. Normal signal voltage range is between 0.35-4.75 volts.

  2. This tests the RR position sensor signal voltage range using a scan tool with the sensor disconnected. Normal signal voltage range with the sensor disconnected is approximately 0  volts.

  3. Tests for the proper operation of the circuit in the high voltage range. If the fuse in the jumper opens when you perform this test, the signal circuit is shorted to ground.

  4. Tests for a short to voltage in the 8 volt reference circuit.

  5. Tests for a high resistance or an open in the ground circuit.

  6. Tests for an open or high residence in the position sensor ground circuit.

Step

Action

Value(s)

Yes

No

1

Did you perform the RTD Diagnostic System Check?

--

Go to Step 2

Go to Diagnostic System Check

2

  1. Install a scan tool.
  2. Turn ON the ignition, with the engine OFF.
  3. With the scan tool, observe the RR Position Sensor data parameter in the RTD data list.

Does the scan tool indicate that the RR Position Sensor data parameter is within the specified range?

0.35 - 4.75 V

Go to Diagnostic Aids

Go to Step 3

3

  1. Turn OFF the ignition.
  2. Disconnect the RR Position sensor.
  3. Turn ON the ignition, with the engine OFF.
  4. With a scan tool, observe the RR Position Sensor data parameter.

Does the scan tool indicate that the RR Position Sensor data parameter is less than the specified value?

0.35 V

Go to Step 4

Go to Step 10

4

  1. Turn OFF the ignition.
  2. Connect a 3 amp fused jumper wire between the 8 volt reference circuit of the RR Position Sensor and the signal circuit of the RR Position Sensor.
  3. Turn ON the ignition, with the engine OFF.
  4. With a scan tool, observe the RR Position Sensor data parameter.

Does the scan tool indicate that the RR Position Sensor data parameter is greater than the specified value?

4.75 V

Go to Step 5

Go to Step 8

5

  1. Disconnect the fused jumper wire.
  2. Measure the voltage between the 8 volt reference circuit of the RR Position Sensor and the ground circuit of the RR Position Sensor.

Does the voltage measure less than the specified value?

8 V

Go to Step 6

Go to Step 7

6

  1. Turn OFF the ignition.
  2. Measure the resistance from the ground circuit of the RR Position Sensor to a good ground.

Does the resistance measure less than the specified value?

5 ohms

Go to Step 12

Go to Step 11

7

Test the 8 volt reference circuit of the RR Position Sensor for a short to voltage. Refer to Circuit Testing and Wiring Repairs in Wiring Systems.

Did you find and correct the condition?

--

Go to Step 16

Go to Step 13

8

Test the 8 volt reference circuit of the RR Position Sensor for a short to ground, a high resistance, or an open. Refer to Circuit Testing and Wiring Repairs in Wiring Systems.

Did you find and correct the condition?

--

Go to Step 16

Go to Step 9

9

Test the signal circuit of the RR Position Sensor for a short to ground, a high resistance, or an open. Refer to Circuit Testing and Wiring Repairs in Wiring Systems.

Did you find and correct the condition?

--

Go to Step 16

Go to Step 13

10

Test the signal circuit of the RR Position Sensor for a short to voltage. Refer to Circuit Testing and Wiring Repairs in Wiring Systems.

Did you find and correct the condition?

--

Go to Step 16

Go to Step 13

11

  1. Disconnect the ESC module.
  2. Test the ground circuit of the RR Position Sensor for a high resistance or an open. Refer to Circuit Testing and Wiring Repairs in Wiring Systems.

Did you find and correct the condition?

--

Go to Step 16

Go to Step 13

12

Inspect for poor connections at the harness connector of the RR Position Sensor. Refer to Testing for Intermittent Conditions and Poor Connections and Connector Repairs in Wiring Systems.

Did you find and correct the condition?

--

Go to Step 16

Go to Step 14

13

Inspect for poor connections at the harness connector of the ESC module. Refer to Testing for Intermittent Conditions and Poor Connections and Connector Repairs in Wiring Systems.

Did you find and correct the condition?

--

Go to Step 16

Go to Step 15

14

Replace the RR Position Sensor. Refer to Electronic Suspension Rear Position Sensor Replacement .

Did you complete the replacement?

--

Go to Step 16

--

15

Replace the ESC module. Refer to Electronic Suspension Control Module Replacement .

Did you complete the replacement?

--

Go to Step 16

--

16

  1. Use the scan tool in order to clear the DTCs.
  2. Operate the vehicle within the Conditions for Running the DTC as specified in the supporting text.

Does the DTC reset?

--

Go to Step 2

System OK