GM Service Manual Online
For 1990-2009 cars only

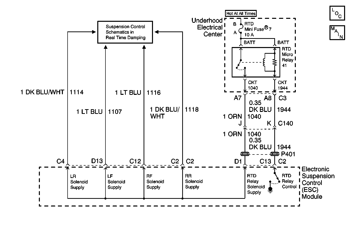
Object Number: 539885  Size: MF
Power and Grounding Components
Suspension Controls Schematics
Suspension Controls Schematics

Circuit Description

Shock absorber solenoid voltage is supplied to the ESC module through the RTD relay circuit. The ESC module controls the RTD relay by grounding the RTD relay control circuit. This closes the relay contacts providing each shock absorber solenoid with supply voltage through the ESC module's internal solenoid supply circuitry. Each individual solenoid control then controls the operation of the corresponding shock absorber. The ESC module monitors the RTD relay control/solenoid supply circuits for any malfunction conditions.

Conditions for Setting the DTC

    • The ESC module detects low voltage (an open or a short to ground) on the RTD relay solenoid supply circuit.
    • There is a loss of voltage on all four shock absorber supply circuits.
    • Detection for this DTC can only be accomplished during the ON (relay applied) state.

Action Taken When the DTC Sets

    • Stores a DTC C0690 in the ESC memory.
    • Commands 0% PWM duty cycle in order to disable all four solenoids.
    • Sends a message to the IPC to display the SERVICE RIDE CONTROL and SHOCKS INOPERATIVE messages.
    • Sends a message to the PCM to limit the speed. The PCM then sends a message to the IPC to display the MAXIMUM SPEED 129 km/h (80 mph) message.

Conditions for Clearing the DTC

    • The ESC module no longer detects low voltage (an open or a short to ground) on the RTD relay solenoid supply circuit.
    • No shock absorber short to ground DTCs are present.
    • A history DTC will clear after 100 consecutive ignition cycles if the condition for the malfunction is no longer present.
    • The IPC clearing DTCs feature
    • Using a scan tool.

Diagnostic Aids

    • The following conditions may cause an intermittent malfunction:
       - An open or a short to ground on the RTD relay solenoid supply circuit.
       - An open RTD relay contact(s).
       - An open or removed RTD relay fuse #7.
       - A short to ground on any shock absorber solenoid supply circuits.
    • The RTD relay provides supply voltage to all four shock absorber solenoids. Therefore, multiple shock absorber solenoid open or short to ground DTCs may also be stored along with a DTC C0690.
    • The RTD relay may be installed in the underhood electrical center in two directions and still function properly. Refer to Power Distribution Schematics Power Distribution Schematics in Wiring Systems for electrical center identification.
    • If the conditions for a DTC C0690 are current, the ESC module will command 0% PWM duty cycle in order to disable all four solenoids. The vehicle will experience a soft ride condition.

Test Description

The number(s) below refer to the step number(s) on the diagnostic table.

  1. Tests for other RTD relay related DTCs that may cause this DTC to set.

  2. Tests for other RTD relay related DTCs that may cause this DTC to set.

  3. Tests for voltage at the feed side of the RTD Damper Control relay.

  4. Tests for an open or short to ground in the RTD solenoid supply circuit.

Step

Action

Value(s)

Yes

No

1

Did you perform the RTD Diagnostic System Check?

--

Go to Step 2

Go to Diagnostic System Check

2

  1. Install a scan tool.
  2. Turn ON the ignition, with the engine OFF.
  3. Select RTD display DTC function on the scan tool.

Does the scan tool display DTC C0691 or C0693?

--

Go to Diagnostic Trouble Code (DTC) List/Type

Go to Step 3

3

Does the scan tool display DTC C0577, C0582, C0587 or C0592?

--

Go to Diagnostic Trouble Code (DTC) List/Type

Go to Step 4

4

  1. Turn OFF the ignition.
  2. Disconnect the RTD Damper Control relay.
  3. Turn ON the ignition, with the engine OFF.
  4. Probe the feed circuit of the RTD Damper Control relay with a test lamp that is connected to a good ground. Refer to Power Distribution Schematics in Wiring Systems for electrical center circuit identification.

Does the test lamp illuminate?

--

Go to Step 5

Go to Step 7

5

Test the solenoid supply circuit of the RTD relay for a short to ground or an open. Refer to Circuit Testing and Wiring Repairs in Wiring Systems.

Did you find and correct the condition?

--

Go to Step 9

Go to Step 6

6

Inspect for poor connections at the RTD Damper Control relay. Refer to Testing for Intermittent Conditions and Poor Connections and Connector Repairs in Wiring Systems.

Did you find and correct the condition?

--

Go to Step 9

Go to Step 8

7

Repair the feed circuit of the RTD Damper Control relay. Refer to Wiring Repairs in Wiring Systems.

Did you complete the repair?

--

Go to Step 9

--

8

Replace the RTD Damper Control relay.

Did you complete the replacement?

--

Go to Step 9

--

9

  1. Use the scan tool in order to clear the DTCs .
  2. Operate the vehicle within the Conditions for Setting the DTC as specified in the supporting text.

Does the DTC reset?

--

Go to Step 2

System OK