GM Service Manual Online
For 1990-2009 cars only

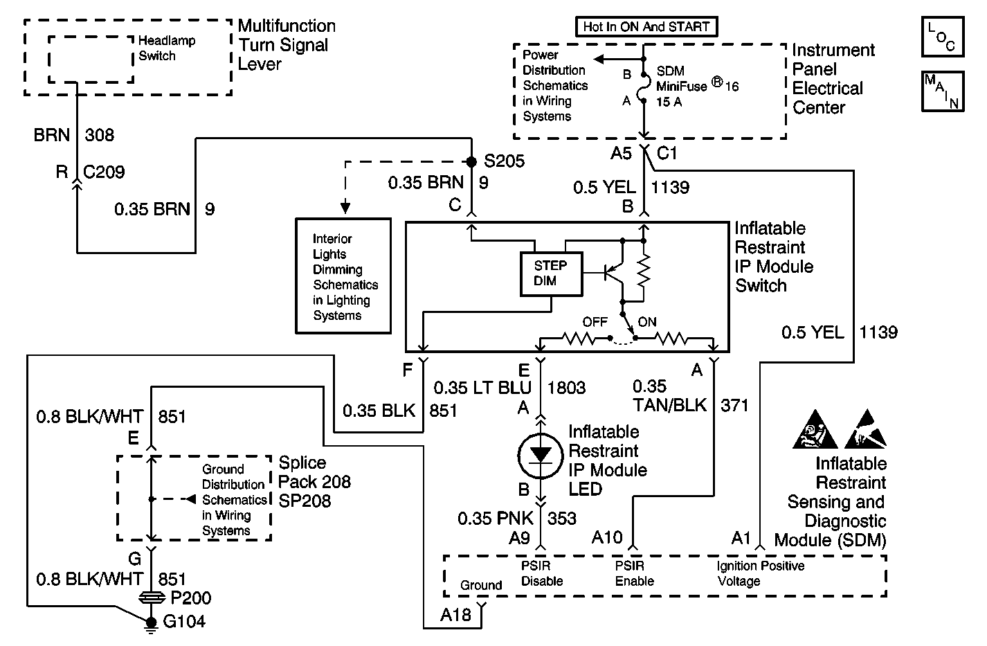
Object Number: 626568  Size: MF
SIR Components
Passenger Side Inflatable Restraint (PSIR) IP Module Switch
I/P Fuses 15, 16, 13, 20, 19
ALC PRK LP Relay
SP102, SP208, G104
SIR Handling Caution
Handling ESD Sensitive Parts Notice

Circuit Description

When you first turn the ignition switch to the RUN position, the inflatable restraint sensing and diagnostic module (SDM) performs tests to diagnose critical malfunctions within itself. The SDM monitors the voltage levels at the PSIR enable and PSIR disable terminals of the SDM to determine the position of the inflatable restraint IP module switch. The SDM then performs the following continuous diagnostic tests on the deployment loops:

    • Deployment loop voltage out of range test
    • Deployment loop resistance measurement test

If the voltage out of range test detects a short to voltage condition, the resistance measurement test for that deployment loop will not be performed.

Conditions for Running the DTC

    • Ignition 1 voltage is within the normal operating voltage range.
    • PSIR enable circuit is not shorted to voltage.
    • PSIR disable circuit is not shorted to voltage.

Conditions for Setting the DTC

    • The voltage detected at PSIR enable terminal and PSIR disable terminal are less than 1.0 volts when the PASSENGER AIR BAG OFF LED is commanded OFF.
    • The voltage detected at PSIR enable terminal and PSIR disable terminal are greater than 1.0 volt when the PASSENGER AIR BAG OFF LED is commanded ON.

Action Taken When the DTC Sets

    • The inflatable restraint IP module switch is defaulted to a calibrated state.
    • The SDM commands ON the PASSENGER AIR BAG OFF LED via Class 2 serial data.

Conditions for Clearing the DTC

    • You issue a scan tool CLEAR CODES command.
    • A history DTC will clear once 255 malfunction free ignition cycles have occurred.

When the SDM detects that no DTCs are present, the SDM commands the AIR BAG warning lamp OFF.

Diagnostic Aids

The following can cause an intermittent condition:

    • A short between the PSIR enable and PSIR disable circuits.
    • Refer to Testing for Intermittent Conditions and Poor Connections in Wiring Systems.

Test Description

The numbers below refer to the step numbers on the diagnostic table:

  1. Test determines if the AIR BAG ON lamp illuminates when the inflatable restraint IP module switch is in the ON position.

  2. Tests for a poor connection at the inflatable restraint IP module switch harness connector.

  3. Tests for a poor connection at the inflatable restraint IP module LED harness connector.

  4. Tests for a poor connection at the inflatable restraint IP module LED connector.

  5. Tests for an open or high resistance in the inflatable restraint IP module LED.

  6. Test determines whether the malfunction is in the inflatable restraint IP module switch ground circuit.

  7. Test determines whether the malfunction is in the power feed circuit between the fuse block and the inflatable restraint IP module switch.

  8. Tests for proper contact or corrosion of the inflatable restraint sensing and diagnostic module (SDM) harness connector.

  9. Tests for an open or high resistance in the passenger SIR enable circuit.

  10. Tests for a short to ground in the passenger SIR enable circuit.

  11. Tests for a short to voltage in the passenger SIR enable circuit.

  12. Tests for a short between the passenger SIR enable and disable circuits.

Step

Action

Value(s)

Yes

No

1

Did you perform the SIR Diagnostic System Check?

--

Go to Step 2

Go to Diagnostic System Check - SIR

2

  1. Turn OFF the ignition.
  2. Turn the inflatable restraint IP module switch to the OFF position.
  3. Turn ON the ignition, with the engine OFF.

Does the PASSENGER AIR BAG OFF LED illuminate?

--

Go to Step 16

Go to Step 3

3

  1. Turn OFF the ignition.
  2. Disconnect the inflatable restraint IP module switch connector. Refer to Inflatable Restraint Instrument Panel Module Disable Switch Replacement .
  3. Inspect the inflatable restraint IP module switch wiring harness connector for the following conditions:
    • Corrosion
    • Terminal damage
    • Poor connections/terminal tension
    • Refer to Testing for Intermittent Conditions and Poor Connections in Wiring Systems.

Does the connector exhibit any signs of corrosion, terminal damage, or poor connections?

--

Go to Step 4

Go to Step 5

4

Repair or replace the the inflatable restraint IP module switch harness connector. Refer to Connector Repairs in Wiring Systems.

Did you complete the repair?

--

Go to Step 29

--

5

Inspect the inflatable restraint IP module switch terminals for the following conditions:

    • Corrosion
    • Terminal damage
    • Poor connections/terminal tension
    • Refer to Testing for Intermittent Conditions and Poor Connections in Wiring Systems.

Do the terminals exhibit any signs of corrosion, terminal damage, or poor connections?

--

Go to Step 27

Go to Step 6

6

  1. Remove the inflatable restraint IP module LED connector. Refer to Inflatable Restraint Instrument Panel Module Disable Switch LED Replacement .
  2. Inspect the inflatable restraint IP module LED wiring harness connector for the following conditions:
  3. • Corrosion
    • Terminal Damage
    • Poor connection/terminal tension
  4. Refer to Testing for Intermittent Conditions and Poor Connections in Wiring Systems.

Does the connector exhibit any signs of corrosion, terminal damage, or poor connections?

--

Go to Step 7

Go to Step 8

7

Repair or replace the inflatable restraint IP module LED harness connector. Refer to Connector Repairs in Wiring Systems.

Did you complete the repair?

--

Go to Step 29

--

8

  1. Inspect the inflatable restraint IP module LED connector for the following conditions:
  2. • Corrosion
    • Terminal damage
    • Poor connections/terminal tension
  3. Refer to Testing for Intermittent Conditions and Poor Connections in Wiring Systems?

Does the connector exhibit any signs of corrosion, terminal damage, or poor connections?

--

Go to Step 9

Go to Step 10

9

Repair or replace the inflator restraint IP module LED connector. Refer to Connector Repairs in Wiring Systems.

Did you complete the repair?

--

Go to Step 29

--

10

Use the J 39200 DMM to measure the resistance of the inflatable restraint IP module LED.

Does the resistance measure less than the specified value?

0.8 ohms

Go to Step 11

Go to Step 12

11

Replace the inflatable restraint IP module LED. Refer to Inflatable Restraint Instrument Panel Module Disable Switch LED Replacement .

Did you complete the repair?

--

Go to Step 29

--

12

  1. Disable the SIR system. Refer to Disabling the SIR System .
  2. Use the J 39200 DMM to measure the resistance of the ground circuit from the inflatable restraint IP module switch harness connector terminal to a known good ground. Refer to Circuit Testing in Wiring Systems.

Does the resistance measure greater than the specified value?

5 ohms

Go to Step 13

Go to Step 14

13

Locate and repair an open or high resistance in the inflatable restraint IP module switch ground circuit. Refer to Wiring Repairs in Wiring Systems.

Did you complete the repair?

--

Go to Step 29

--

14

  1. Install the SDM Fuse.
  2. Turn ON the ignition, with the engine OFF.
  3. Using theJ 39200 DMM measure the voltage of the power feed circuit between the inflatable restraint IP module switch harness connector and a known good ground. Refer to Circuit Testing in Wiring Systems.

Does the voltage measure greater than the specified value?

1 V

Go to Step 15

Go to Step 16

15

Locate and repair an open or high resistance in the inflatable restraint IP module switch power feed circuit between the fuse block and the IP module switch. Refer to Wiring Repairs in Wiring Systems.

Did you complete the repair?

--

Go to Step 29

--

16

  1. Turn OFF the ignition.
  2. Install a scan tool.
  3. Turn the inflatable restraint IP module switch to the ON position.
  4. Turn ON the ignition, with the engine OFF.
  5. Use the scan tool to request the SIR data list display.

Does the active switch show the specified state?

Enabled

Go to Step 28

Go to Step 17

17

  1. Turn OFF the ignition.
  2. Remove the SDM Fuse.
  3. Disconnect the inflatable restraint sensing and dignostic module (SDM) harness connector. Refer to Inflatable Restraint Sensing and Diagnostic Module Replacement .
  4. Inspect the SDM harness connector for the following conditions:
  5. • Corrosion
    • Terminal damage
    • Poor connections/terminal tension
  6. Refer to Testing for Intermittent Conditions and Poor Connections in wiring systems.

Does the connector exhibit any signs of corrosion, terminal damage, or poor connections?

--

Go to Step 18

Go to Step 19

18

Repair or replace the inflatable restraint sensing and diagnostic module (SDM) wiring harness connector. Refer to Connector Repairs in Wiring Systems.

Did you complete the repair?

--

Go to Step 29

--

19

  1. Disconnect the inflatable restraint IP module switch connector. Refer to Inflatable Restraint Instrument Panel Module Disable Switch Replacement .
  2. Use the J 39200 DMM to measure the resistance of the PSIR enable circuit between the inflatable restraint IP module switch harness connector and the SDM harness connector.

Does the resistance measure greater than the specified value?

5 ohms

Go to Step 20

Go to Step 21

20

Locate and repair an open or high resistance in the PSIR enable circuit. Refer to Wiring Repairs in Wiring Systems.

Did you complete the repair?

--

Go to Step 29

--

21

  1. Reconnect the inflatable restraint sensing and diagnostic module (SDM) harness connector. Refer to Inflatable Restraint Sensing and Diagnostic Module Replacement .
  2. Use J 39200 DMM to measure the resistance of the PSIR enable circuit from the inflatable restraint IP module harness connector to a known good ground. Refer to Circuit Testing in Wiring Systems.

Does the resistance measure less than the specified value?

0 L

Go to Step 22

Go to Step 23

22

Locate and repair a short to ground in the PSIR enable circuit. Refer to Wiring Repairs in Wiring Systems.

Did you complete the repair?

--

Go to Step 29

--

23

  1. Reconnect the inflatable restraint IP module switch harness connector. Refer to Inflatable Restraint Instrument Panel Module Disable Switch Replacement .
  2. Install the SDM Fuse.
  3. Turn ON the ignition, with the engine OFF.
  4. Turn the inflatable restraint IP module switch to the OFF position.
  5. Use J 39200 DMM to measure the voltage of the PSIR enable circuit between the inflatable restraint IP module switch harness connector and a known good ground. Refer to Circuit Testing in Wiring Systems.

Does the voltage measure greater than the specified value?

2 V

Go to Step 24

Go to Step 25

24

Locate and repair a short to voltage in the PSIR enable circuit. Refer to Wiring Repairs in Wiring Systems.

Did you complete the repair?

--

Go to Step 29

--

25

  1. Turn OFF the ignition.
  2. Use J 39200 DMM to measure the resistance between the PSIR enable and the PSIR disable circuits at the inflatable restraint IP module harness connector. Refer to Circuit Testing in Wiring Systems.

Does the resistance measure less than the specified value?

O.8 ohms

Go to Step 26

Go to Step 27

26

Locate and repair a short between the PSIR enable and PSIR disable circuits. Refer to Wiring Repairs in Wiring Systems.

Did you complete the repair?

--

Go to Step 29

--

27

Replace the inflatable restraint IP module switch. Refer to Inflatable Restraint Instrument Panel Module Disable Switch Replacement .

Did you complete the repair?

--

Go to Step 29

--

28

Replace the inflatable restraint sensing and diagnostic module (SDM). Refer to Inflatable Restraint Sensing and Diagnostic Module Replacement

Did you complete the repair?

--

Go to Step 29

--

29

  1. Reconnect all SIR system components.
  2. Verify that all components and connectors are properly mounted.
  3. Turn ON the ignition, with the engine OFF.
  4. Use the scan tool in order to clear the DTCs.

Did you complete the action?

--

Go to Diagnostic System Check - SIR

--