GM Service Manual Online
For 1990-2009 cars only
Makes
🢒
Chevrolet
🢒
2004
🢒
Corvette
🢒
Body
🢒
Wiring Systems
🢒 Cruise Control Schematics
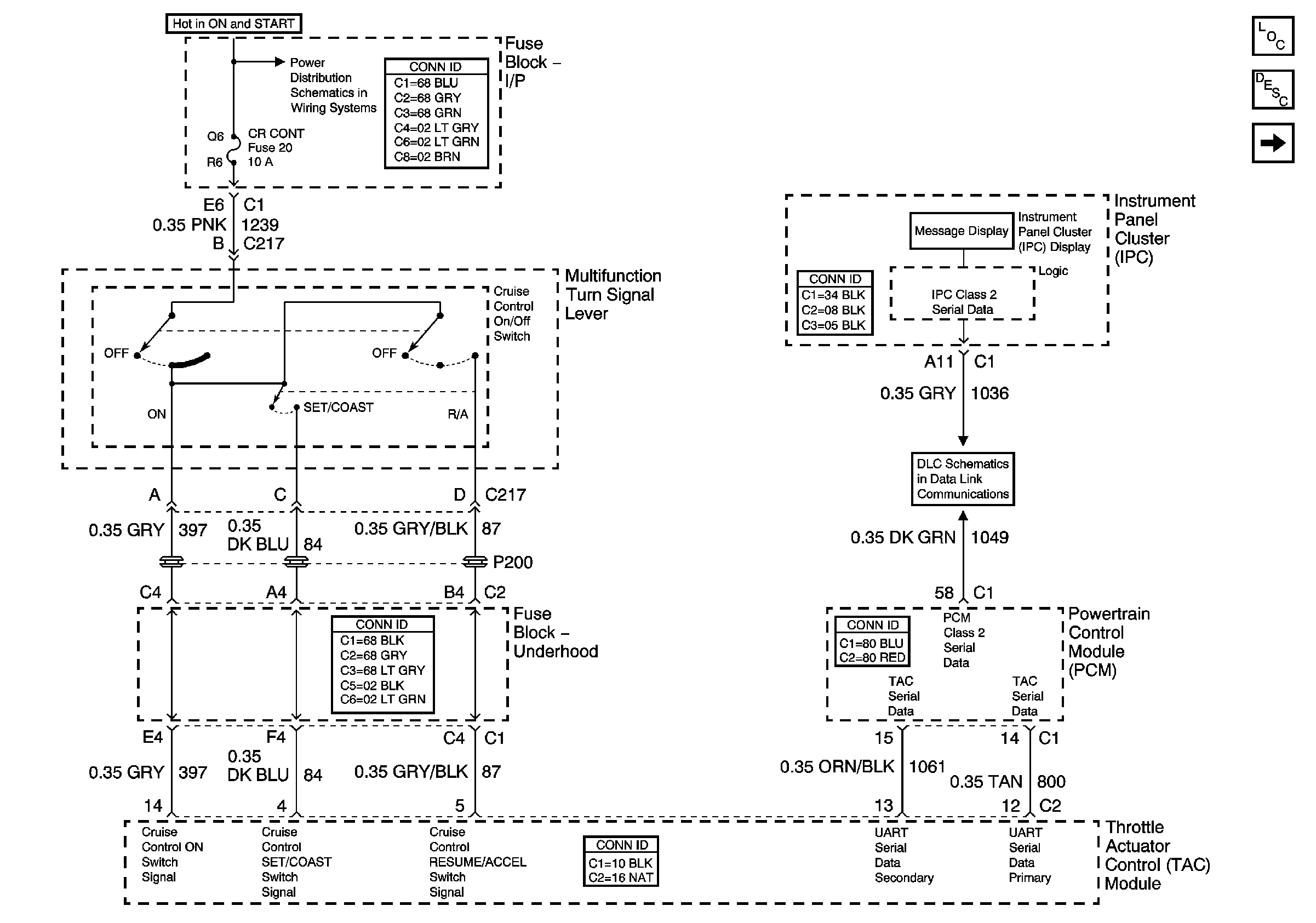
Figure
1:
Cruise Control Switch, Throttle Actuator Control Motor and Cruise Control Release Switch
Master Electrical Component List
Cruise Control Description and Operation
Power, Ground and Stoplamp Switch
Fuse Block-I/P Fuses 15, 16, 13, 20 and 19
Star Connectors
Figure
2:
Power, Ground and Stop Lamp Switch
Master Electrical Component List
Cruise Control Description and Operation
CruiseControl Switch,Throttle Actuator Control Motor and Cruise ControlRelease Switch
Fuse Block-Underhood Fuses 14, 13, 16, 15, 5 and Relays 43, 44, 35 and 42
Fuse Block-Underhood Bussing (2 of 2)
Fuse Block-I/P Bussing (1 of 2)
Engine Data Sensors - Pressure, Temperature and VSS
Figure 1
Figure 1
G106 and G105