GM Service Manual Online
For 1990-2009 cars only
Makes
🢒
Chevrolet
🢒
2004
🢒
Corvette
🢒
Steering
🢒
Variable Effort Steering
🢒 Steering Assist Schematics
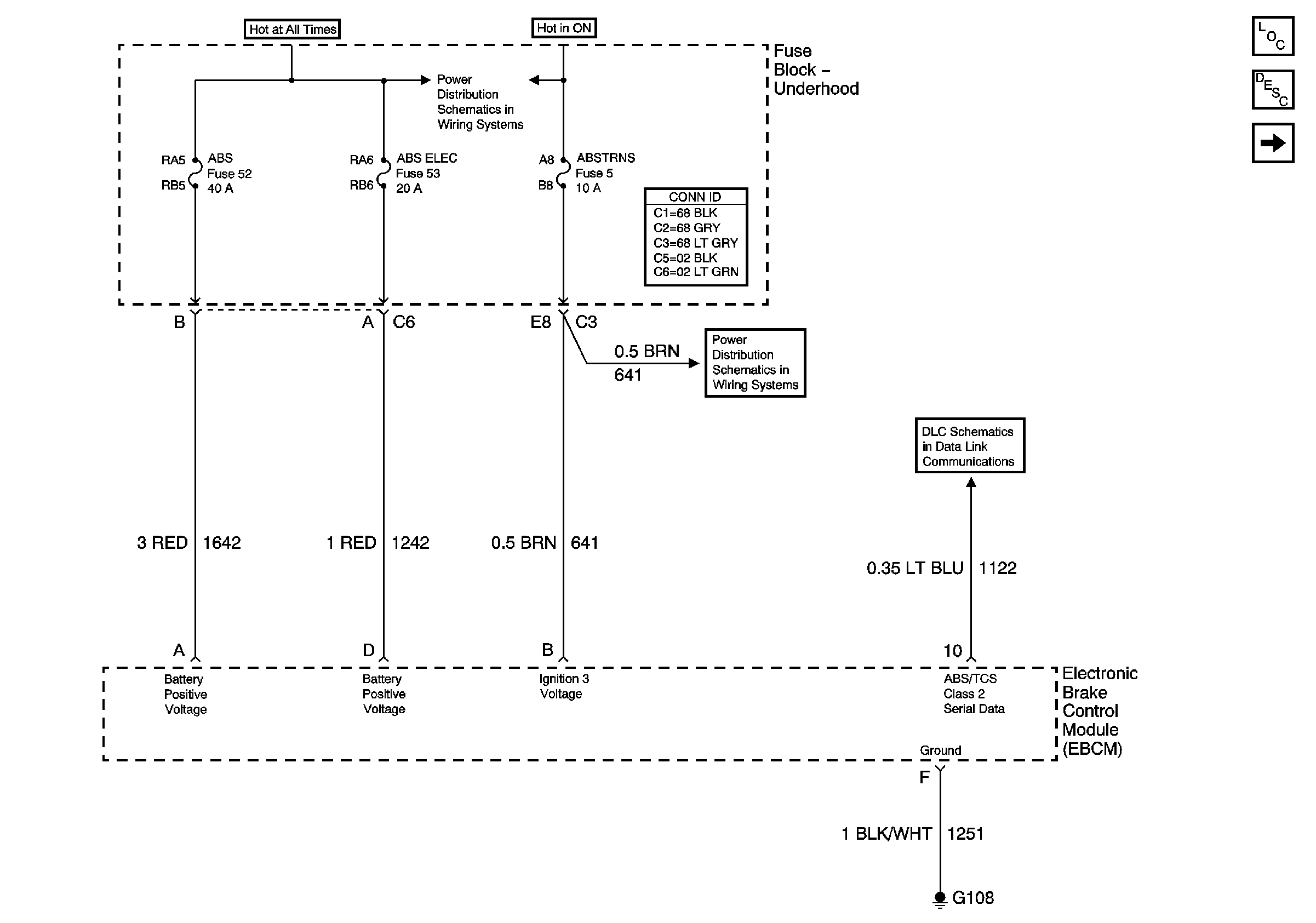
Figure
1:
Power, Ground, and DLC
Master Electrical Component List
Variable Effort Steering System Description and Operation
Steering Wheel Position Sensor
Fuse Block-Underhood Bussing 1 of 2
Fuse Block-Underhood Fuses 14, 13, 16, 15, 5 and Relays 43, 44, 35 and 42
Star Connectors
Figure
2:
Steering Wheel Position Sensor
Master Electrical Component List
Variable Effort Steering System Description and Operation
Power, Ground and DLC
Brake Fluid Pressure Sensor, Lateral Accelerometer and Yaw Rate Sensor (JL4)
Brake Fluid Pressure Sensor, Lateral Accelerometer and Yaw Rate Sensor (JL4)