GM Service Manual Online
For 1990-2009 cars only
Makes
🢒
Chevrolet
🢒
2004
🢒
Corvette
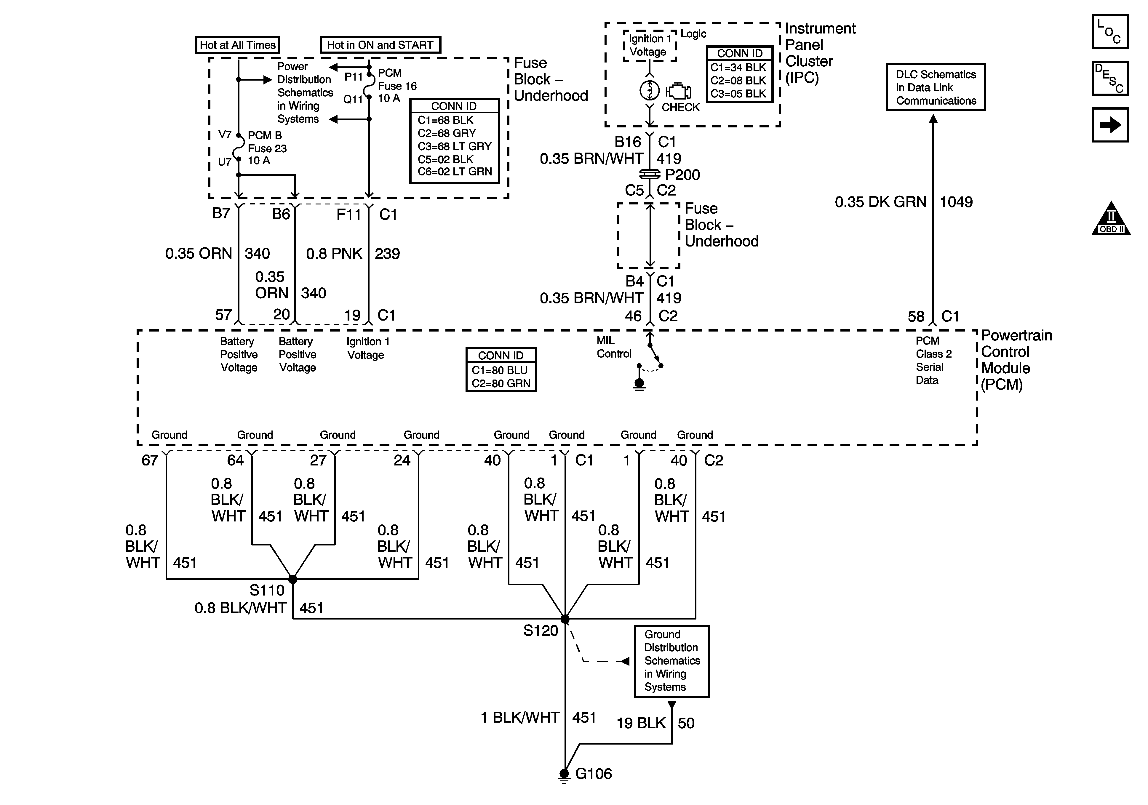
🢒 Module Power, Ground, Serial Data and MIL
Module Power, Ground, Serial Data and MIL
Module Power, Ground, Serial Data and MIL
Master Electrical Component List
Powertrain Control Module Description
Engine Data Senors - 5 Volt and Low Reference
Engine Controls Schematic Icons
Fuse Block-Underhood Bussing 1 of 2
G106 and G105
Star Connectors