GM Service Manual Online
For 1990-2009 cars only
Makes
🢒
Chevrolet
🢒
2004
🢒
Corvette
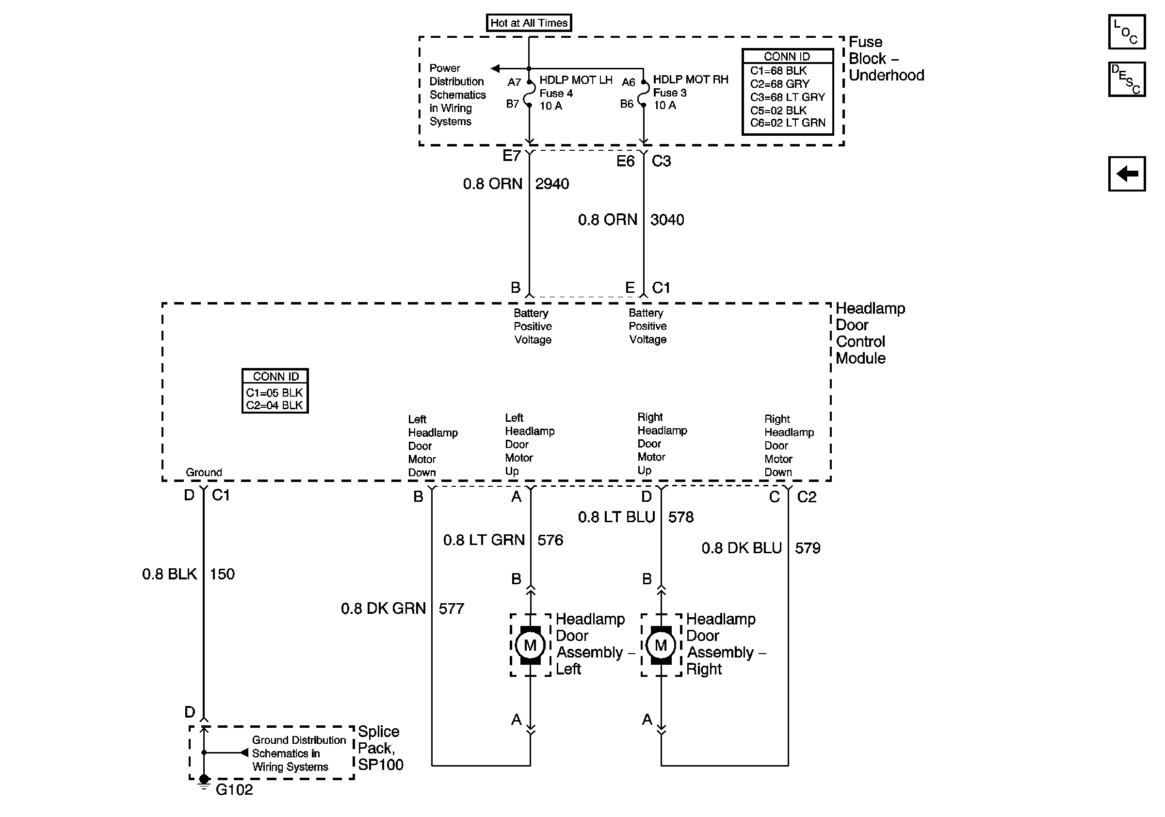
🢒 Headlamp Door Assemblies
Headlamp Door Assemblies
Headlamp Door Assemblies
Fuse Block-Underhood Bussing 1 of 2
G101 and G102
Master Electrical Component List
Exterior Lighting Systems Description and Operation
Headlamp Door Control Module Signals