GM Service Manual Online
For 1990-2009 cars only
Makes
🢒
Chevrolet
🢒
2004
🢒
Corvette
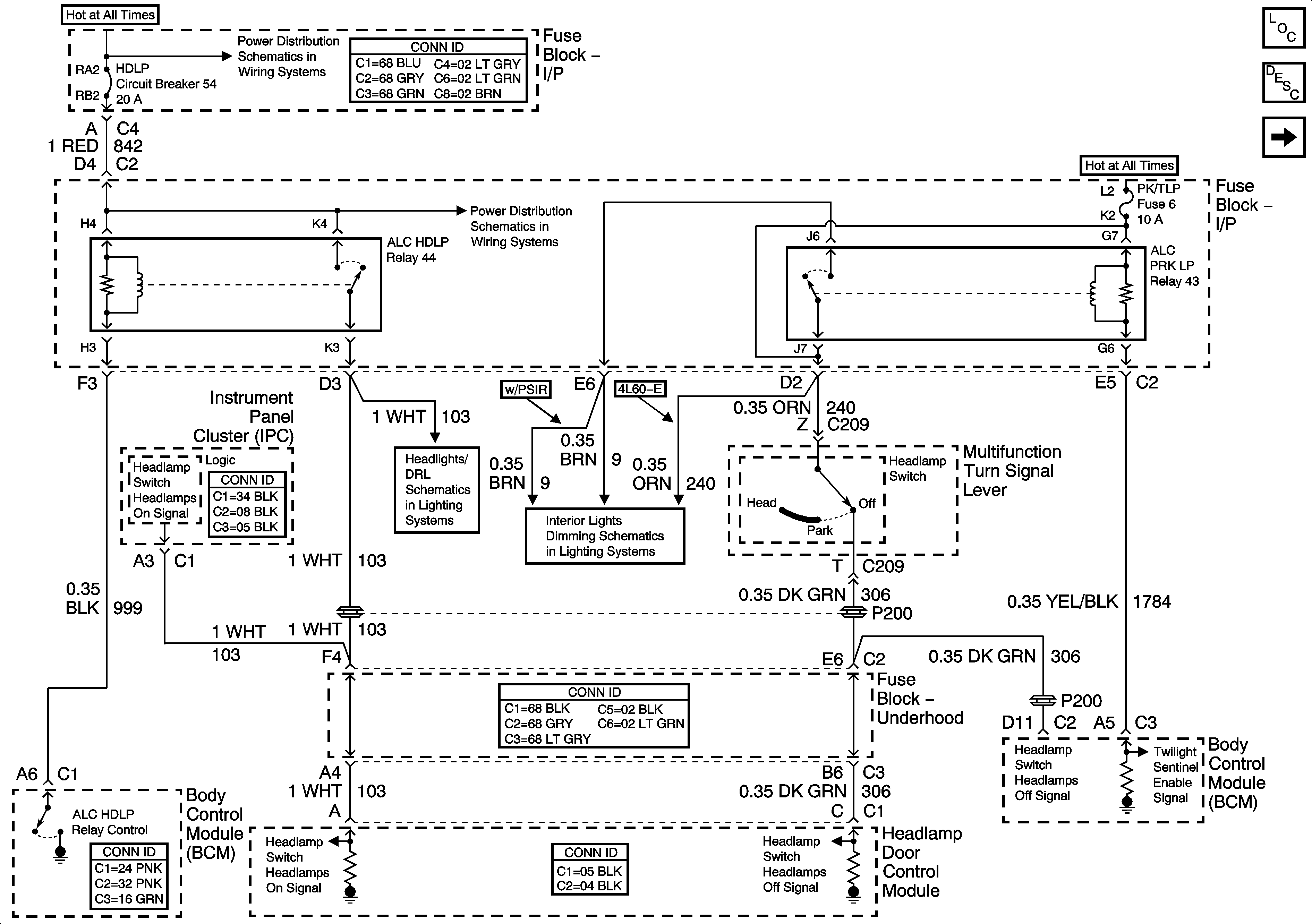
🢒 Headlamp Door Control Module Signals
Headlamp Door Control Module Signals
Headlamp Door Control Module Signals
Master Electrical Component List
Exterior Lighting Systems Description and Operation
Headlamp Door Assemblies
Fuse Block-I/P Bussing (2 of 2)
Fuse Block-I/P Fuses 6, 29, Circuit Breaker 54, Relays 43, 44 and 42
Rear Fog Lamps - Europ
Fog Lamp Switch