GM Service Manual Online
For 1990-2009 cars only
Makes
🢒
Chevrolet
🢒
2004
🢒
Corvette
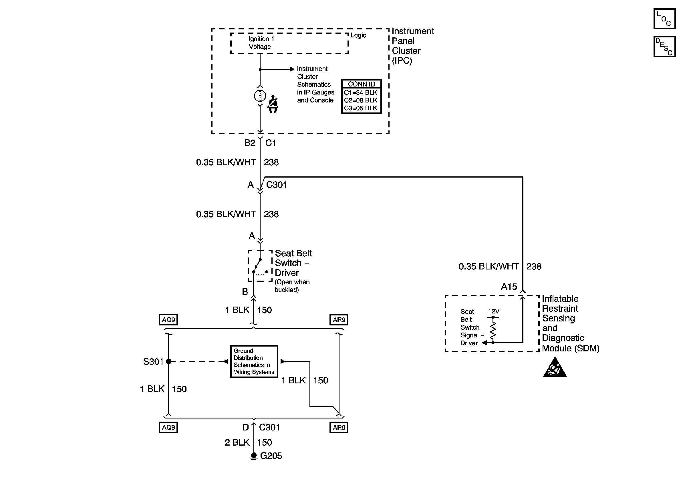
🢒 Seat Belts Schematics
Seat Belts Schematics
Master Electrical Component List
Seat Belt System Description and Operation
Indicators
G205
Seat Belt Schematic Icons