GM Service Manual Online
For 1990-2009 cars only

DTC P0712 Transmission Fluid Temperature (TFT) Sensor Circuit Low Input Diesel


Object Number: 69998  Size: MF
Automatic Transmission Components Diesel Engines
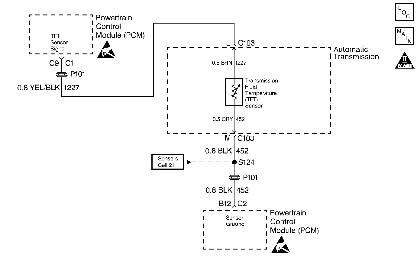
Automatic Transmission Controls Schematics Diesel Engines
OBD II Symbol Description Notice
Handling ESD Sensitive Parts Notice
Handling ESD Sensitive Parts Notice

Circuit Description

The Automatic Transmission Fluid Temperature (TFT) Sensor is a thermistor that controls the signal voltage to the Powertrain Control Module (PCM). The PCM supplies a 5 volt reference signal to the sensor on circuit 1227. When the transmission fluid is cold, the sensor resistance is high. The PCM detects high signal voltage. As the transmission fluid temperature (TFT) increases to the normal operating temperature, the sensor resistance becomes less, and the voltage decreases.

If the PCM detects a continuous short to ground in the TFT Sensor or signal circuit, then DTC P0712 sets. DTC P0712 is a type B DTC.

Conditions for Setting the DTC

    • The ignition is ON.
    • The TFT Sensor indicates a voltage of less than 0.14 volts.
    • All conditions met for 15 seconds.

Action Taken When the DTC Sets

    • The PCM uses a TFT default of 140°C (275°F). The scan tool does not display the default temperature.
    • The PCM illuminates the Malfunction Indicator Lamp (MIL).

Conditions for Clearing the MIL/DTC

    •  The PCM turns off the MIL after three consecutive ignition cycles without a failure reported.
    • A scan tool can clear the DTC from the PCM history. The PCM clears the DTC from the PCM history if the vehicle completes 40 warm-up cycles without a failure reported.
    • The PCM cancels the DTC default actions when the fault no longer exists and the ignition cycles OFF long enough to power down the PCM.

Diagnostic Aids

    • With a transmission fluid over temperature DTC P0218 also set, inspect the transmission cooling system.
    • Inspect the harness routing for a potential short to ground in circuit 1227. The scan tool TFT Sensor display should rise steadily, then stabilize.
    • Inspect the wiring for poor electrical connections at the PCM. Inspect the wiring for poor electrical connections at the transmission 20-way connector. Look for the following problems:
       - A bent terminal
       - A backed out terminal
       - A damaged terminal
       - Poor terminal tension
       - A chafed wire
       - A broken wire inside the insulation
    • When diagnosing for an intermittent short or open, massage the wiring harness while watching the test equipment for a change.
    • Test the TFT Sensor at various temperatures in order to evaluate the possibility of a skewed (mis-scaled) sensor. Use the Temperature vs Resistance table. A skewed sensor may cause delayed garage shifts or TCC complaints.
    • Verify the customer driving habits, trailer towing, weight, or towing in Overdrive.
    • First diagnose and clear any engine DTCs that are present. Then inspect for any transmission DTCs that may have reset.

Test Description

The numbers below refer to the step numbers on the diagnostic table.

  1. This step tests for a short to ground or a skewed sensor by verifying the fault still exists.

  2. This step tests for an internal fault within the transmission by creating an open.

  3. The TFT Sensor is part of the Automatic Transmission Wiring Harness Assembly.

DTC P0712

Step

Action

Value(s)

Yes

No

1

Was the Powertrain On-Board Diagnostic (OBD) System Check performed?

--

Go to Step 2

Go to Powertrain On Board Diagnostic (OBD) System Check

2

Perform the Transmission Fluid Checking Procedure.

Refer to Transmission Fluid Check .

Did you perform the fluid checking procedure?

--

Go to Step 3

Perform the Transmission Fluid Check

3

  1. Install the Scan Tool ®.
  2. With the engine OFF, turn the ignition switch to the RUN position.
  3. Important: Before clearing the DTCs, use the scan tool in order to record the Freeze Frame and Failure Records for reference. The Clear Info function will erase the data.

  4. Record the DTC Freeze Frame and Failure Records.

Does the scan tool display a TFT Sensor voltage less than the specified value?

0.2 volts

Go to Step 4

Go to Diagnostic Aids

4

  1. Turn the ignition OFF.
  2. Disconnect the transmission 20-way harness connector (Multiple DTCs will set).
  3. Turn the ignition ON.

Does the scan tool display a TFT Sensor voltage greater than the specified value?

4.92 volts

Go to Step 5

Go to Step 8

5

  1. Turn the ignition OFF.
  2. Install the J 39775 Jumper Harness on the transmission side of the 20-way connector (Automatic Transmission Connector End View ).
  3. Measure the resistance between terminals L and M. Use the J 39200 DMM and the J 35616 Connector Test Adapter Kit.
  4. Refer to Electronic Component Description .

Is the resistance within specified values?

16kohms at 10°C (50°F) to 133ohms at 110°C (230°F)

Go to Step 6

Go to Step 7

6

Measure the resistance between terminal L and a good ground on the transmission case.

Is the resistance less than the specified value?

50 kohms

Go to Step 7

--

7

Replace the Automatic Transmission Wiring Harness Assembly.

Refer to Interior Wiring Harness Replacement, in On-Vehicle Service.

Is the replacement complete?

--

Go to Step 11

--

8

Inspect circuit 1227 for a short to ground.

Refer to Electrical Diagnosis, Section 8.

Did you find a problem?

--

Go to Step 11

Go to Step 9

9

Inspect the PCM for faulty connections.

Did you find a problem?

--

Go to Step 11

Go to Step 10

10

Replace the PCM.

Refer to Powertrain Control Module Replacement/Programming , Section 6.

Is the replacement complete?

--

Go to Step 11

--

11

In order to verify your repair, perform the following procedure:

  1. Select DTC.
  2. Select Clear Info.
  3. Be sure the TFT Sensor indicates a voltage greater than 0.33 volts for 10 seconds.
  4. Select Specific DTC. Enter DTC P0712.

Has the test run and passed?

--

System OK

Begin the diagnosis again. Go to Step 1

DTC P0712 Transmission Fluid Temperature (TFT) Sensor Circuit Low Input Gas


Object Number: 69953  Size: MF
Automatic Transmission Components Gas Engines
Automatic Transmission Controls Schematics Gas Engines
OBD II Symbol Description Notice
Handling ESD Sensitive Parts Notice
Handling ESD Sensitive Parts Notice

Circuit Description

The Automatic Transmission Fluid Temperature (TFT) Sensor is a thermistor that controls the signal voltage to the Vehicle Control Module (VCM). The VCM supplies a 5 volt reference signal to the sensor on circuit 1227. When the transmission fluid is cold, the sensor resistance is high, and the VCM detects high signal voltage. As the transmission fluid temperature (TFT) increases to normal operating temperature, the sensor resistance becomes less, and the voltage decreases.

If the VCM detects a continuous short to ground in the TFT Sensor or signal circuit, then DTC P0712 sets. DTC P0712 is a type D DTC. For California emission vehicles, DTC P0712 is a type B DTC.

Conditions for Setting the DTC

    • The ignition is ON.
    • The TFT Sensor indicates a voltage of less than 0.14 volts.
    • All conditions met for 10 seconds.

Action Taken When the DTC Sets

    • The VCM uses a TFT default of 140°C (275°F). The scan tool does not display the default temperature.
    • VCM freezes shift adapts from being updated.
    • For California Emissions only, the VCM illuminates the Malfunction Indicator Lamp (MIL).

Conditions for Clearing the MIL/DTC

    • For California Emissions only, the VCM turns off the MIL after three consecutive ignition cycles without a failure reported.
    • A scan tool can clear the DTC from the VCM history. The VCM clears the DTC from the VCM history if the vehicle completes 40 warm-up cycles without a failure reported.
    • The VCM cancels the DTC default actions when the fault no longer exists and the ignition cycles OFF long enough to power down the VCM.

Diagnostic Aids

    • With a transmission fluid over temperature DTC P0218 also set, inspect the transmission cooling system.
    • Inspect the harness routing for a potential short to ground in circuit 1227.
    • Inspect the wiring for poor electrical connections at the VCM. Inspect the wiring for poor electrical connections at the transmission 20-way connector. Look for the following problems:
       - A bent terminal
       - A backed out terminal
       - A damaged terminal
       - Poor terminal tension
       - A chafed wire
       - A broken wire inside the insulation
    • When diagnosing for an intermittent short or open, massage the wiring harness while watching the test equipment for a change.
    • Test the TFT Sensor at various temperatures in order to evaluate the possibility of a skewed (mis-scaled) sensor. Use the Temperature vs Resistance table. A skewed sensor may cause delayed garage shifts or TCC complaints.
    • Verify the customer driving habits, trailer towing, weight, or towing in Overdrive.
    • First diagnose and clear any engine DTCs or TP Sensor codes that are present. Then inspect for any transmission DTCs that may have reset.

Test Description

The numbers below refer to the step numbers on the diagnostic table.

  1. This step tests for a short to ground or a "skewed" sensor by verifying the fault still exists.

  2. This step tests for an internal fault within the transmission by creating an open.

  3. This step replaces the A/T Wiring Harness Assy. The TFT Sensor is part of the A/T Wiring Harness Assy.

DTC P0712

Step

Action

Value(s)

Yes

No

1

Was the Powertrain On-Board Diagnostic (OBD) System Check performed?

--

Go to Step 2

Go to:

Powertrain On Board Diagnostic (OBD) System Check (4.3L)

Powertrain On Board Diagnostic (OBD) System Check (5.7L and 7.4L)

2

Perform the transmission fluid checking procedure.

Refer to Transmission Fluid Check .

Did you perform the fluid checking procedure?

--

Go to Step 3

Go to Transmission Fluid Check

3

  1. Install the Scan Tool ®.
  2. With the engine OFF, turn the ignition switch to the RUN position.
  3. Important: Before clearing the DTCs, use the scan tool in order to record the Freeze Frame and Failure Records for reference. The Clear Info function will erase the data.

  4. Record the DTC Freeze Frame and Failure Records.

Does the scan tool display a TFT Sensor signal voltage less than the specified value?

0.2 volts

Go to Step 4

Go to Diagnostic Aids

4

  1. Turn the ignition OFF.
  2. Disconnect the transmission 20-way harness connector. Multiple DTCs may set.
  3. Turn the ignition switch to the RUN position.

Does the scan tool display a TFT Sensor signal voltage greater than the specified value?

4.92 volts

Go to Step 5

Go to Step 8

5

  1. Turn the ignition OFF.
  2. Install the J 39775 Jumper Harness on the transmission side of the 20-way connector (Automatic Transmission Connector End View).
  3. Using the J 39200 DMM and the J 35616 Connector Test Adapter Kit, measure the resistance between terminals L and M.
  4. Refer to Electronic Component Description .

Is the resistance within the specified values?

16kohms at 10°C (50°F) to 133ohms at 110°C (230°F)

Go to Step 6

Go to Step 7

6

Measure the resistance between terminal L and a good ground on the transmission case.

Is the resistance less than the specified value?

50 kohms

Go to Step 7

--

7

Replace the A/T Wiring Harness Assy.

Refer to Interior Wiring Harness Replacement, in On-Vehicle Service.

Is the replacement complete?

--

Go to Step 11

--

8

Inspect circuit 1227 for a short to ground.

Refer to Electrical Diagnosis, Section 8.

Did you find a problem?

--

Go to Step 11

Go to Step 9

9

Inspect the VCM for faulty connections.

Did you find a problem?

--

Go to Step 11

Go to Step 10

10

Replace the VCM.

Refer to VCM Replacement/Programming (With KS Calibration PROM) , Section 6.

Is the replacement complete?

--

Go to Step 11

--

11

In order to verify your repair, perform the following procedure:

  1. Select DTC.
  2. Select Clear Info.
  3. Be sure the TFT Sensor indicates a voltage greater than 0.2 volts for 10 seconds.
  4. Select Specific DTC. Enter DTC P0712.

Has the test run and passed?

--

System OK

Begin the diagnosis again. Go to Step 1