GM Service Manual Online
For 1990-2009 cars only

DTC P0716 Input Speed Sensor CKT Range/Performance Diesel


Object Number: 69999  Size: MF
Automatic Transmission Components Diesel Engines
Automatic Transmission Controls Schematics Diesel Engines
OBD II Symbol Description Notice
Handling ESD Sensitive Parts Notice

Circuit Description

The Automatic Transmission Input Shaft Speed (A/T ISS) Sensor consists of a permanent magnet surrounded by a coil of wire. The rotation of the forward clutch housing induces an AC voltage in the circuit. The signal voltage and frequency vary directly with the forward clutch rotational speed.

When the Powertrain Control Module (PCM) detects an unrealistically large change in input speed, then DTC P0716 sets. DTC P0716 is a type B DTC.

Conditions for Setting the DTC

  1. No A/T ISS Sensor DTC P0717.
  2. No OSS Sensor DTCs P0722 or P0723.
  3. No Shift Solenoid DTC P0751, P0753, P0756, P0758.
  4. The APP Angle is greater than 15%.
  5. The vehicle speed is greater than 20 mph.
  6. The A/T ISS varies by more than 1200 RPM within 4 seconds.

Action Taken When the DTC Sets

    • The PCM commands maximum line pressure.
    • The PCM freezes shift adapts.
    • The PCM illuminates the Malfunction Indicator Lamp (MIL).

Conditions for Clearing the MIL/DTC

  1. The PCM turns OFF the MIL after three consecutive ignition cycles without a failure reported.
  2. A scan tool can clear the DTC from the PCM history. The PCM clears the DTC from the PCM history if the vehicle completes 40 warm-up cycles without a failure reported.
  3. The PCM cancels the DTC default actions when the fault no longer exists and the ignition is OFF long enough in order to power down the PCM

Diagnostic Aids

    • Inspect the wiring for poor electrical connections at the PCM Inspect the wiring for poor electrical connections at the transmission 20-way connector. Look for the following problems:
       - A bent terminal
       - A backed out terminal
       - A damaged terminal
       - Poor terminal tension
       - A chafed wire
       - A broken wire inside the insulation
    • When diagnosing for an intermittent short or open, massage the wiring harness while watching the test equipment for a change.
    • You may have to drive the vehicle in order to experience a fault.
    • First diagnose and clear any engine DTCs that are present. Then inspect for any transmission DTCs that may have reset.

Test Description

The numbers below refer to the step numbers on the diagnostic table.

  1. This step tests for proper operation of the A/T ISS Sensor.

  2. This step tests for proper A/T ISS Sensor circuit operation up to the PCM connections. Remove the Fuel Sol. fuse in order to eliminate a flooding condition during this step.

  3. This step tests for a short to ground in the A/T ISS Sensor circuit.

DTC P0716

Step

Action

Value(s)

Yes

No

1

Was the Powertrain On-Board Diagnostic (OBD) System Check performed?

--

Go to Step 2

Go to Powertrain On Board Diagnostic (OBD) System Check

2

  1. Install the Scan Tool ®.
  2. Turn the ignition to the RUN position with the engine OFF.
  3. Important: Before clearing the DTCs, use the scan tool in order to record the Freeze Frame and Failure Records for reference. The Clear Info function will erase the data.

  4. Record the DTC Freeze Frame and Failure Records
  5. With the transmission in Park, start the engine.
  6. Observe the scan tool, Transmission ISS.
  7. Run the engine to 2000 RPM and hold the engine speed steady.

Does the Transmission ISS RPM change by more than 1200 RPM at steady engine speed?

--

Go to Step 3

Exit DTC table. No fault at this time

3

  1. Turn the ignition to the OFF position.
  2. Disconnect the A/T ISS Sensor harness connector from the A/T ISS Sensor.
  3. Connect the J 39200 DMM to the A/T ISS Sensor terminals. Use the J 35616 Connector Test Adapter Kit.

Is the A/T ISS Sensor resistance within the specified value?

1042-2088ohms

Go to Step 4

Go to Step 15

4

  1. Select AC Volts on the J 39200 DMM.
  2. With the transmission in Park, start the engine.
  3. Run the engine to 2000 RPM and hold the engine speed steady.

Is the DMM voltage steady?

Greater than 0.5 volts AC

Go to Step 5

Go to Step 15

5

  1. Turn the ignition to the OFF position.
  2. Select DC Volts on the J 39200 DMM.
  3. Turn the ignition to the Run position with the engine OFF.
  4. Measure the voltage at both A/T ISS Sensor harness connector terminals A and B to a good ground.

Is either voltage reading greater than the specified value?

10.5 volts DC

Go to Step 6

Go to Step 8

6

  1. Inspect circuit 1230 for a short to power.
  2. Inspect circuit 1231 for a short to power.

Refer to Electrical Diagnosis, Section 8.

Did you find a problem?

--

Go to Step 7

Go to Step 16

7

Repair the short to power in circuit 1230 and/or circuit 1231.

Is the repair complete?

--

Go to Step 18

--

8

  1. Reconnect the A/T ISS harness connector to the A/T ISS Sensor.
  2. Turn the ignition to the OFF position.
  3. Disconnect the PCM C1 connector.
  4. Connect the J 39200 DMM on AC Volts to the C1 connector terminals C1-D1 and C1-D11.
  5. Remove the Fuel Sol. Fuse in the Fuse/Relay Center.
  6. Refer to Automatic Transmission Components .

  7. Turn the ignition to the Run position and crank the engine while observing the J 39200 DMM.

Is the voltage greater than the specified value and steady?

0.4 volts AC

Go to Step 16

Go to Step 9

9

With the J 39200 DMM measure the resistance between terminals C1-D1 and C1-D11 of the C1 connector.

Is the circuit resistance within the specified value?

1042-2088ohms

Go to Step 10

Go to Step 12

10

  1. Measure the resistance from C1 connector terminal C1-D1 to a good ground.
  2. Measure the resistance from C1 connector terminal C1-D11 to a good ground.

Is either resistance less than the specified value?

50kohms

Go to Step 11

Go to Diagnostic Aids

11

  1. Inspect circuit 1230 for short to ground.
  2. Inspect circuit 1231 for short to ground.

Refer to Electrical Diagnosis, Section 8.

Did you find and correct the problem?

--

Go to Step 18

--

12

Is the resistance reading from Step 9 less than the specified value?

1042-2088ohms

Go to Step 13

Go to Step 14

13

Repair circuits 1230 and 1231 for a short together.

Is the repair complete?

--

Go to Step 18

--

14

  1. Inspect circuit 1230 for high resistance or an open.
  2. Inspect circuit 1231 for high resistance or an open.

Refer to Electrical Diagnosis, Section 8.

Did you find and correct a problem?

--

Go to Step 18

--

15

Replace the A/T ISS Sensor.

Refer to Speed Sensor Replacement, in On-Vehicle Service.

Is the replacement complete?

--

Go to Step 18

--

16

  1. Inspect the PCM pins for corrosion or weak tension.
  2. Inspect the connector terminals for corrosion or weak tension.

Did you find a problem?

--

Go to Step 18

Go to Step 17

17

Replace the PCM.

Refer to Powertrain Control Module Replacement/Programming , Section 6.

Is the replacement complete?

--

Go to Step 18

--

18

In order to verify your repair, perform the following procedure:

  1. Select DTC.
  2. Important: Failure to clear codes first may cause poor engine performance and high idle at start up.

  3. Select Clear Info.
  4. Operate the vehicle under the following conditions:
  5. • Start and run the engine greater than 475 RPM.
    •  The PCM must see an A/T ISS change of less than 200 RPM for 1 second.
  6. Select Specific DTC. Enter DTC P0716.

Has the test run and passed?

--

System OK

Begin the diagnosis again. Go to Step 1

DTC P0716 Input Speed Sensor CKT Range/Performance Gas


Object Number: 69963  Size: MF
Automatic Transmission Components Gas Engines
Automatic Transmission Controls Schematics Gas Engines
OBD II Symbol Description Notice
Handling ESD Sensitive Parts Notice

Circuit Description

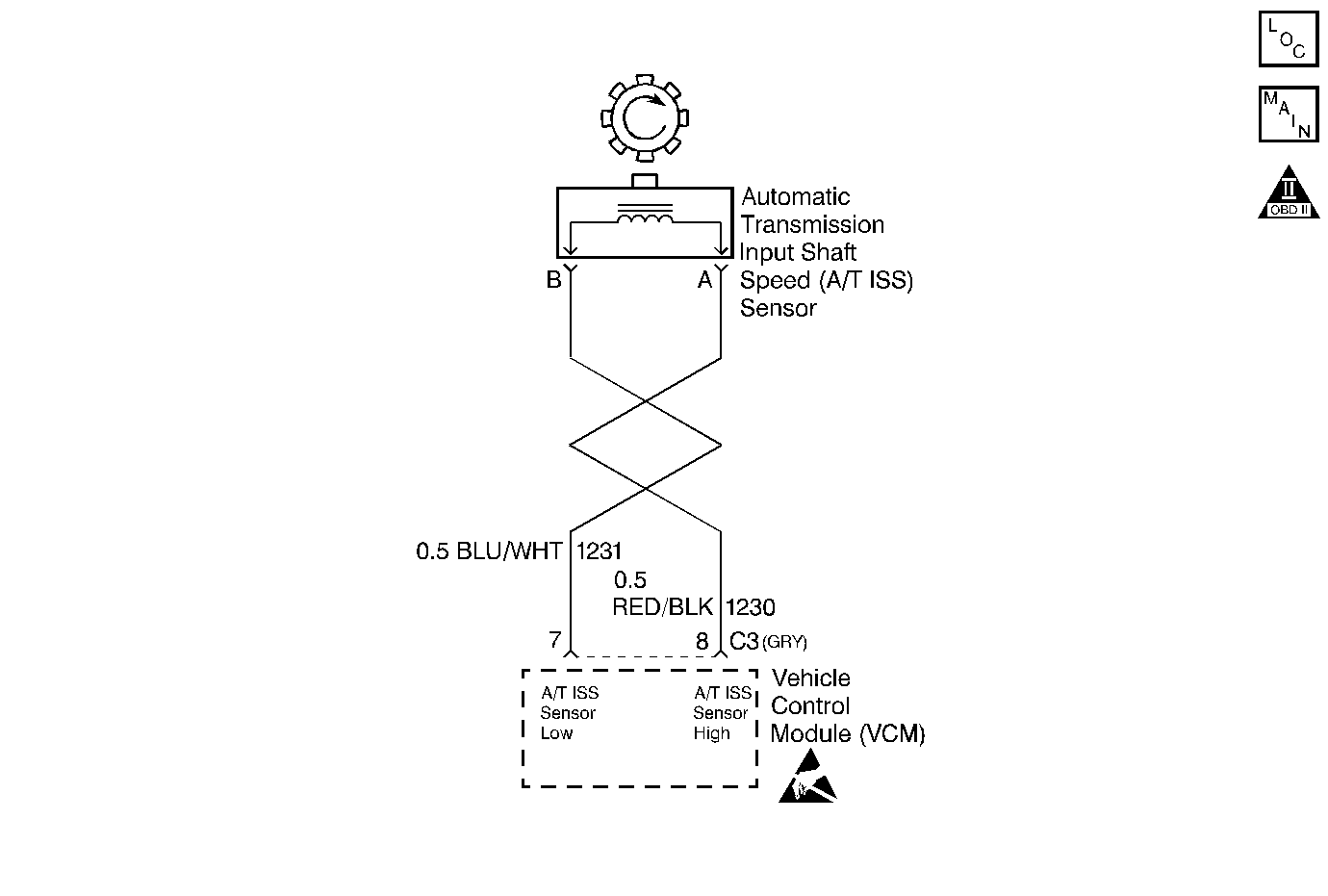
The Automatic Transmission Input Shaft Speed (A/T ISS) Sensor consists of a Permanent Magnet (PM) surrounded by a coil of wire. The rotation of the forward clutch housing induces an AC voltage in the circuit. The signal voltage and frequency vary directly with the forward clutch rotational speed.

When the Vehicle Control Module (VCM) detects an unrealistically large change in input speed, then DTC P0716 sets. DTC P0716 is a type D DTC. For California emissions vehicles, DTC P0716 is a type B DTC.

Conditions for Setting the DTC

  1. No Throttle Position (TP) Sensor DTCs P0121, P0122 or P0123.
  2. No A/T ISS Sensor DTC P0717.
  3. No OSS Sensor DTC P0502 or P0503.
  4. No Shift Solenoid DTC P0751 or P0753.
  5. The throttle position is greater than 18%.
  6. The vehicle speed is greater than 25 mph.
  7. The transmission is not in Park or Neutral.
  8. The engine is running for 8 seconds and not in fuel cut off.
  9. The input speed varies by 1300 RPM for greater than 5 seconds.

Action Taken When the DTC Sets

    • The VCM commands D2 line pressure.
    • The VCM freezes shift adapts.
    • For California emissions only, the VCM illuminates the Malfunction Indicator Lamp (MIL).

Conditions for Clearing the DTC

  1. For California emissions vehicles, the VCM turns OFF the MIL after three consecutive ignition cycles without a failure reported.
  2. A scan tool can clear the DTC from the VCM history. The VCM clears the DTC from the VCM history if the vehicle completes 40 warm-up cycles without a failure reported.
  3. The VCM cancels the DTC default actions when the fault no longer exists and the ignition is OFF long enough in order to power down the VCM.

Diagnostic Aids

    • Inspect the wiring for poor electrical connections at the VCM. Inspect the wiring for poor electrical connections at the transmission 20-way connector. Look for the following problems:
       - A bent terminal
       - A backed out terminal
       - A damaged terminal
       - Poor terminal tension
       - A chafed wire
       - A broken wire inside the insulation
       - The A/T ISS sensor harness being near the DIS components or the ignition wires.
    • When diagnosing for an intermittent short or open, massage the wiring harness while watching the test equipment for a change.
    • First diagnose and clear any engine DTCs or TP Sensor codes that are present. Then inspect for any transmission DTCs that may have reset.

Test Description

The numbers below refer to the step numbers on the diagnostic table.

  1. This step tests for proper operation to the A/T ISS Sensor.

  2. This step tests for proper A/T ISS circuit operation up to the VCM connections. Remove the fuel pump relay in order to eliminate a flooding condition during this step.

DTC P0716 Input Speed Sensor Circuit Intermittent (1997 G Van)

Step

Action

Value(s)

Yes

No

1

Did you perform the Powertrain Diagnostic System Check?

--

Go to Step 2

Go to Powertrain On Board Diagnostic (OBD) System Check (4.3 L) or Powertrain On Board Diagnostic (OBD) System Check (5.7 L and 7.4 L) Section 6E3

2

  1. Install a Scan Tool .
  2. Turn ON the ignition, with the engine OFF.
  3. Important: Before clearing the DTC, use the Scan Tool in order to record the Freeze Frame and Failure Records for reference. The Clear Info function will erase the data.

  4. Record the DTC Freeze Frame and Failure Records.
  5. Clear the DTC.
  6. Raise and support the rear axle assembly.
  7. Start the engine.
  8. Place the transmission in any drive range.

With the drive wheels rotating, does the Scan Tool Transmission ISS increase with the drive wheel speed?

--

Go to Intermittent Conditions (4.3 L) or Intermittent Conditions (5.7 L and 7.4 L) in Engine Controls

Go to Step 3

3

  1. Turn OFF the ignition.
  2. Disconnect the VCM connector C3.
  3. Using the J 39200 digital multimeter (DMM) and the J 35616 connector test adapter kit, measure the resistance between harness connector terminals C3-8 and C3-7.

Does the resistance measure within the specified range?

1377-3355 ohms

Go to Step 4

Go to Step 7

4

Measure the resistance from terminal C3-7 to ground.

Does the resistance measure greater than the specified value?

50 K ohms

Go to Step 5

Go to Step 8

5

  1. Reconnect the VCM connector C3.
  2. Disconnect the engine wiring harness from the ISS assembly.
  3. Turn ON the ignition, with the engine OFF.
  4. Test the high circuit (CKT 1230) of the ISS assembly for a short to power.
  5. Test the low circuit (CKT 1231) of the ISS assembly for a short to power.
  6. Refer to General Electrical Diagnosis Procedures in Wiring Systems.

Did you find and correct the condition?

--

Go to Step 13

Go to Step 12

6

  1. Disconnect the engine wiring harness from the ISS assembly.
  2. Measure the resistance of the ISS assembly.

Does the resistance measure within the specified range?

1377-3355 ohms

Go to Step 7

Go to Step 11

7

Was the resistance measured in Step 3 greater than the specified value?

3355 ohms

Go to Step 9

Go to Step 10

8

  1. Test the high circuit (CKT 1230) of the ISS assembly for a short to ground.
  2. Test the low circuit (CKT 1231) of the ISS assembly for a short to ground.
  3. Refer to General Electrical Diagnosis Procedures in Wiring Systems.

Did you find and correct the condition?

--

Go to Step 13

--

9

  1. Test the high circuit (CKT 1230) of the ISS assembly for an open.
  2. Test the low circuit (CKT 1231) of the ISS assembly for an open.
  3. Refer to General Electrical Diagnosis Procedures in Wiring Systems.

Did you find and correct the condition?

--

Go to Step 13

--

10

Test the high circuit (CKT 1230) and the low circuit (CKT 1231) of the ISS assembly for a short together.

Refer to General Electrical Diagnosis Procedures in Wiring Systems.

Did you find and correct the condition?

--

Go to Step 13

--

11

Replace the ISS assembly.

Refer to Vehicle Speed Sensor Replacement .

Did you complete the replacement?

--

Go to Step 13

--

12

Replace the VCM.

Refer to VCM Replacement/Programming (4.3 L) or VCM Replacement/Programming (5.7 L and 7.4 L) in Engine Controls.

Did you complete the replacement?

--

Go to Step 13

--

13

Perform the following procedure in order to verify the repair:

  1. Select DTC.
  2. Select Clear Info.
  3. Operate the vehicle under the following conditions:
  4. • The transmission output speed is greater than 500 RPM.
    • No RPM change greater than 200 RPM.
    • All conditions met for 1 second.
  5. Select Specific DTC.
  6. Enter DTC P0716.

Has the test run and passed?

--

System OK

Go to Step 1