GM Service Manual Online
For 1990-2009 cars only

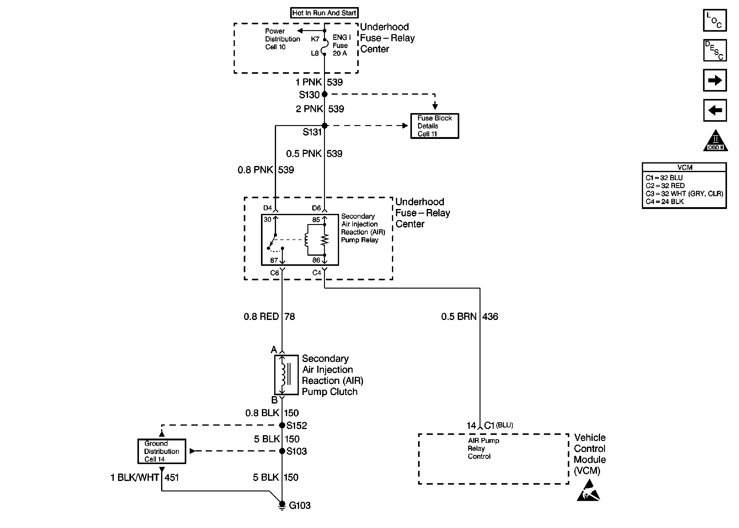
Refer to Engine Controls Schematics

Cell 23: Secondary AIR Controls


Object Number: 174999  Size: FS
Engine Controls Components
Information Sensors/Switches Description
Cell 23: 4L80-E Transmission Solenoid Controls
Cell 23: Vehicle Speed Sensor and Cruise Control
OBD II Symbol Description Notice
VCM Connector End Views
Handling ESD Sensitive Parts Notice
Power Distribution Schematics
Fuse Block Schematics
Power Distribution Schematics
.

Circuit Description

Fused ignition voltage is supplied to the AIR relay. The VCM controls the AIR pump by grounding the AIR relay control circuit. This energizes the relay and supplies voltage to the AIR pump clutch. When the fuel system goes to the Closed Loop mode, the VCM opens the ground to the AIR control circuit.

Conditions for Running the DTC

    • No active ECT DTCs
    • No active IAC DTCs
    • No active HO2S DTCs
    • No active misfire DTCs
    • No active MAP sensor DTCs
    • No active fuel trim DTCs
    • No active EVAP DTCs
    • No active TP sensor DTCs
    • No active IAT DTCs
    • No active MAF DTCs
    • The system voltage is greater than 10 volts
    • The IAT is greater than 0°C(32°F).
    • The power enrichment mode is not active.
    • Decel fuel cut-off not active
    • The commanded air/fuel ratio is 14.7:1.
    • The engine speed is greater than 550 RPM.
    • The engine load is less than 50 %.
    • The MAF is less than 100 g/s.
    • The ECT is between 75°C and 105°C(167°F to 221°F).
    • The system has been in closed loop mode for more than 15 seconds.

Conditions for Setting the DTC

The VCM has not detected a change in HO2S voltage and short term fuel trim when the secondary air injection pump is energized.

Action Taken When the DTC Sets

The VCM will turn ON the malfunction indicator lamp (MIL) after two consecutive test cycles with the fault active.

Conditions for Clearing the MIL or DTC

    • The control module turns OFF the MIL after 3 consecutive drive trips when the test has run and passed.
    • A history DTC will clear if no fault conditions have been detected for 40 warm-up cycles. A warm-up cycle occurs when the coolant temperature has risen 22°C (40°F) from the startup coolant temperature and the engine coolant reaches a temperature that is more than 70°C (158°F) during the same ignition cycle.
    • Use a scan tool in order to clear the DTCs.

Diagnostic Aids

Low AIR system volume may cause a DTC P1415, a DTC P1416 or an intermittent complaint. Also check for the following conditions:

    • Pinched, kinked, or restricted AIR pipes, hoses, or fittings
    • Leaks, holes, loose fittings or hoses
    • Restricted or obstructed AIR pump inlet

An air supply hose that is melted before the check valve could indicate exhaust gas back-flow past the check valve.

Test Description

The numbers below refer to the step numbers on the diagnostic table.

  1. This step determines if the cause of this DTC is still present.

  2. This step determines if there is a problem before or after the check valve.

Step

Action

Value(s)

Yes

No

1

Important: Before clearing DTCs, use the scan tool Capture Info to save the Freeze Frame and the Failure Records for reference. The control module's data is deleted once the Clear Info function is used.

Did you perform the Powertrain On-Board Diagnostic (OBD) System Check?

--

Go to Step 2

Go to Powertrain On Board Diagnostic (OBD) System Check

2

  1. Install a scan tool.
  2. Start the engine and allow it to run for 2 minutes.
  3. Verify that the engine is at normal operating temperature and in a Closed Loop.
  4. Command ON the AIR pump with the scan tool.

Does the Short Term Fuel Trim Bank  2 indicate a change of more than the specified value within 30 seconds?

16 %

Go to Step 3

Go to Step 4

3

The DTC is intermittent.

Are any additional DTCs stored?

--

Go to the applicable DTC table

Go to Diagnostic Aids

4

Check the AIR System Bank 2 for the following:

    • Hoses/pipes for proper connections.
    • Secure hose clamps
    • Kinks, holes or pinched hoses/pipes
    • Loose fittings
    • Components with evidence of heat damage

Did you find a problem?

--

Go to Step 8

Go to Step 5

5

  1. Disconnect the AIR hose at the Bank 2 check valve (AIR pump side).
  2. Start the engine and allow it to idle.
  3. Command ON the AIR pump with the scan tool.

Does air flow from the AIR hose?

--

Go to Step 6

Go to Step 7

6

Check for restrictions or leaks in the check valve and the AIR pipe on Bank 2.

Did you find a problem?

--

Go to Step 8

Go to Diagnostic Aids

7

Check for restrictions or leaks in the Bank 2 AIR hose between the check valve and the point where the system branches to each bank.

Did you find a problem?

--

Go to Step 8

Go to Secondary Air Injection System Diagnosis

8

Repair as necessary. Refer to Secondary Air Injection Check Valve and Check Valve Pipe Replacement .

Is the action complete?

--

Go to Step 9

--

9

  1. Using the scan tool, clear the DTCs.
  2. Start the engine.
  3. Allow the engine to idle until the engine reaches normal operating temperature.
  4. Select the DTC and the Specific DTC functions.
  5. Enter the DTC number which was set.
  6. Operate the vehicle, with the Conditions for Setting this DTC, until the scan tool indicates the diagnostic Ran.

Does the scan tool indicate that the diagnostic Passed?

--

Go to Step 10

Go to Step 2

10

Does the scan tool display any additional undiagnosed DTCs?

--

Go to the applicable DTC table

System OK