GM Service Manual Online
For 1990-2009 cars only
Figure 1:

Cell 21: PWR, GND and DLC


Object Number: 338434  Size: FS
Engine Controls Components
Information Sensors/Switches Description
Cell 21: Ignition Controls
OBD II Symbol Description Notice
Cell 10: HTD MIR, HAZARD, PWR ACCY, STOP, PWR AUX, CIG LTR, RADIO-B, CTSY, PARK LPS, DRL, SECURITY STRG, ILLUM Fuses
Cell 10: FUEL SOL, IGN-E, ECM-I, ENG-I, GAUGES, AIR BAGS, TURN B/U Fuses
Cell 10: Ignition Switch, RR BLOWER, RR HVAC, BRAKE, HTR AC, CRUISE, RADIO, WIPER, PWR WDO, TRANS, CRANK Fuses
Cell 10: FUEL SOL, IGN-E, ECM-I, ENG-I, GAUGES, AIR BAGS, TURN B/U Fuses
Cell 10: Battery, AUX A, AUX B, BLOWER, IGN-B, IGN-A, ABS, BATT, LIGHTING, ECM-B, HORN, and A/C Fuses, Inline Fuse 30 A (Gasoline Engines)
Cell 11: ECM-B, HORN, A/C Fuses
Cell 11: ENG-I Fuse (5.0L, 5.7L)
Cell 11: CRANK, CRUISE, HTR-A/C, BRAKE Fuses
Cell 11: GAUGES Fuse
Cell 11: STOP, PWR AUX, CIG LTR, RADIO-B, HTD MIR, HAZARD Fuses
VCM Connector End Views
Cell 14: G103 (5.0L, 5.7L)
Cell 14: G201
Cell 14: Heated Oxygen Sensor Bank 2 Sensor 1, Heated Oxygen Sensor Bank 1 Sensor 1, C105 (G103) (5.0L, 5.7L)
Handling ESD Sensitive Parts Notice
Handling ESD Sensitive Parts Notice
Handling ESD Sensitive Parts Notice
Handling ESD Sensitive Parts Notice
Figure 2:

Cell 21: Ignition Controls


Object Number: 338438  Size: FS
Engine Controls Components
Information Sensors/Switches Description
Cell 21: Fuel Pump Controls
Cell 21: PWR, GND and DLC
OBD II Symbol Description Notice
Cell 10: FUEL SOL, IGN-E, ECM-I, ENG-I, GAUGES, AIR BAGS, TURN B/U Fuses
Cell 10: FUEL SOL, IGN-E, ECM-I, ENG-I, GAUGES, AIR BAGS, TURN B/U Fuses
Cell 11: ECM-I Fuse (5.0L, 5.7L)
Cell 11: ECM-I Fuse (5.0L, 5.7L)
VCM Connector End Views
Cell 14: Heated Oxygen Sensor Bank 2 Sensor 1, Heated Oxygen Sensor Bank 1 Sensor 1, C105 (G103) (5.0L, 5.7L)
Handling ESD Sensitive Parts Notice
Figure 3:

Cell 21: Fuel Pump Controls


Object Number: 338444  Size: FS
Engine Controls Components
Information Sensors/Switches Description
Cell 21: Fuel Injector Controls
Cell 21: Ignition Controls
OBD II Symbol Description Notice
Cell 10: Battery, AUX A, AUX B, BLOWER, IGN-B, IGN-A, ABS, BATT, LIGHTING, ECM-B, HORN, and A/C Fuses, Inline Fuse 30 A (Gasoline Engines)
Cell 11: ECM-B, HORN, A/C Fuses
Cell 14: Heated Oxygen Sensor Bank 2 Sensor 1, Heated Oxygen Sensor Bank 1 Sensor 1, C105 (G103) (5.0L, 5.7L)
Cell 14: G200; C201, C208, C210 (G201)
VCM Connector End Views
Handling ESD Sensitive Parts Notice
Figure 4:

Cell 21: Fuel Injector Controls


Object Number: 338449  Size: FS
Engine Controls Components
Information Sensors/Switches Description
Cell 21: Sensor Controls
Cell 21: Fuel Pump Controls
OBD II Symbol Description Notice
Cell 10: FUEL SOL, IGN-E, ECM-I, ENG-I, GAUGES, AIR BAGS, TURN B/U Fuses
Cell 11: ECM-I Fuse (5.0L, 5.7L)
Cell 11: ECM-I Fuse (5.0L, 5.7L)
VCM Connector End Views
Handling ESD Sensitive Parts Notice
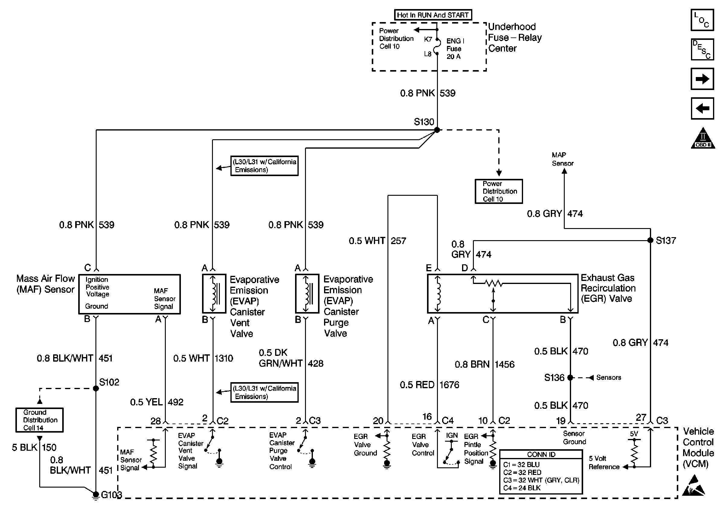
Figure 5:

Cell 21: Sensor Controls


Object Number: 338452  Size: FS
Engine Controls Components
Information Sensors/Switches Description
Cell 21: EGR and EVAP Controls
Cell 21: Fuel Injector Controls
OBD II Symbol Description Notice
VCM Connector End Views
Cell 21: EGR and EVAP Controls
Cell 21: EGR and EVAP Controls
Cell 21: 4L60-E Transmission Switch Controls
Cell 21: 4L80-E Transmission Switch Controls
Handling ESD Sensitive Parts Notice
Handling ESD Sensitive Parts Notice
Figure 6:

Cell 21: EGR and EVAP Controls


Object Number: 338454  Size: FS
Engine Controls Components
Information Sensors/Switches Description
Cell 21: Oxygen Sensor Controls 5.0L
Cell 21: Sensor Controls
OBD II Symbol Description Notice
Cell 10: FUEL SOL, IGN-E, ECM-I, ENG-I, GAUGES, AIR BAGS, TURN B/U Fuses
Cell 11: ENG-I Fuse (5.0L, 5.7L)
VCM Connector End Views
Cell 21: Sensor Controls
Cell 21: Sensor Controls
Cell 14: Heated Oxygen Sensor Bank 2 Sensor 1, Heated Oxygen Sensor Bank 1 Sensor 1, C105 (G103) (5.0L, 5.7L)
Handling ESD Sensitive Parts Notice
Figure 7:

Cell 21: Oxygen Sensor Controls 5.0L


Object Number: 337159  Size: FS
Engine Controls Components
Information Sensors/Switches Description
Cell 21: Oxygen Sensor Controls 5.7L
Cell 21: EGR and EVAP Controls
OBD II Symbol Description Notice
VCM Connector End Views
Cell 10: FUEL SOL, IGN-E, ECM-I, ENG-I, GAUGES, AIR BAGS, TURN B/U Fuses
Cell 11: ENG-I Fuse (5.0L, 5.7L)
Cell 14: Heated Oxygen Sensor Bank 2 Sensor 1, Heated Oxygen Sensor Bank 1 Sensor 1, C105 (G103) (5.0L, 5.7L)
Cell 14: Heated Oxygen Sensor Bank 2 Sensor 1, Heated Oxygen Sensor Bank 1 Sensor 1, C105 (G103) (5.0L, 5.7L)
Handling ESD Sensitive Parts Notice
Figure 8:

Cell 21: Oxygen Sensor Controls 5.7L


Object Number: 338459  Size: FS
Engine Controls Components
Information Sensors/Switches Description
Cell 21: VSS and Cruise Controls
Cell 21: Oxygen Sensor Controls 5.0L
OBD II Symbol Description Notice
Cell 10: FUEL SOL, IGN-E, ECM-I, ENG-I, GAUGES, AIR BAGS, TURN B/U Fuses
Cell 11: ENG-I Fuse (5.0L, 5.7L)
VCM Connector End Views
Cell 14: G102; S101 (G103) (5.0L, 5.7L)
Cell 14: Heated Oxygen Sensor Bank 2 Sensor 1, Heated Oxygen Sensor Bank 1 Sensor 1, C105 (G103) (5.0L, 5.7L)
Handling ESD Sensitive Parts Notice
Figure 9:

Cell 21: VSS and Cruise Controls


Object Number: 337162  Size: FS
Engine Controls Components
Information Sensors/Switches Description
Cell 21: 4L60-E Solenoid Controls
Cell 21: Oxygen Sensor Controls 5.7L
OBD II Symbol Description Notice
VCM Connector End Views
Handling ESD Sensitive Parts Notice
Handling ESD Sensitive Parts Notice
Handling ESD Sensitive Parts Notice
Handling ESD Sensitive Parts Notice
Handling ESD Sensitive Parts Notice
Engine Controls Schematic Icons
Figure 10:

Cell 21: 4L60-E Solenoid Controls


Object Number: 337164  Size: FS
Engine Controls Components
Information Sensors/Switches Description
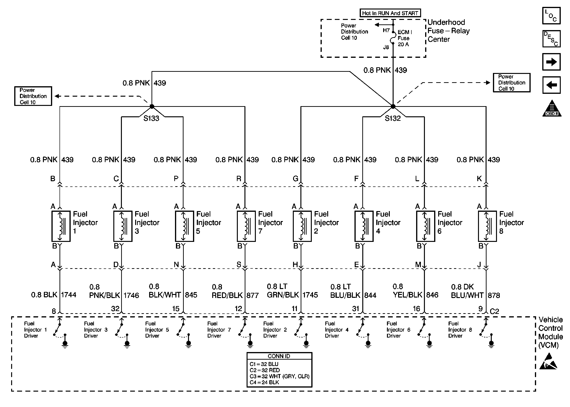
Cell 21: 4L60-E Transmission Switch Controls
Cell 21: VSS and Cruise Controls
OBD II Symbol Description Notice
Cell 10: Ignition Switch, RR BLOWER, RR HVAC, BRAKE, HTR AC, CRUISE, RADIO, WIPER, PWR WDO, TRANS, CRANK Fuses
Cell 10: Ignition Switch, RR BLOWER, RR HVAC, BRAKE, HTR AC, CRUISE, RADIO, WIPER, PWR WDO, TRANS, CRANK Fuses
Cell 11: TURN B/U and TRANS Fuses
Cell 11: CRANK, CRUISE, HTR-A/C, BRAKE Fuses
Cell 34: Gasoline Engine
Cell 44: IP, VCM, EBCM, and VSS
VCM Connector End Views
Handling ESD Sensitive Parts Notice
Figure 11:

Cell 21: 4L60-E Transmission Switch Controls


Object Number: 337166  Size: FS
Engine Controls Components
Information Sensors/Switches Description
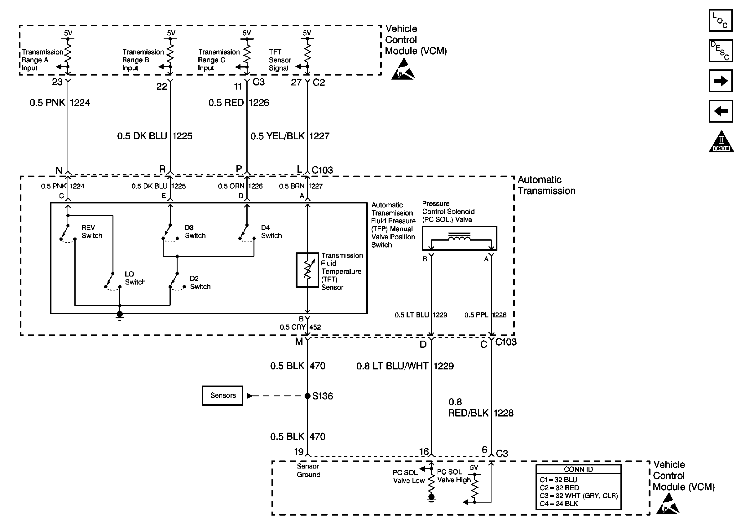
Cell 21: 4L80-E Transmission Solenoid Controls
Cell 21: 4L60-E Solenoid Controls
OBD II Symbol Description Notice
VCM Connector End Views
Cell 21: Sensor Controls
Handling ESD Sensitive Parts Notice
Handling ESD Sensitive Parts Notice
Figure 12:

Cell 21: 4L80-E Transmission Solenoid Controls


Object Number: 337168  Size: FS
Engine Controls Components
Information Sensors/Switches Description
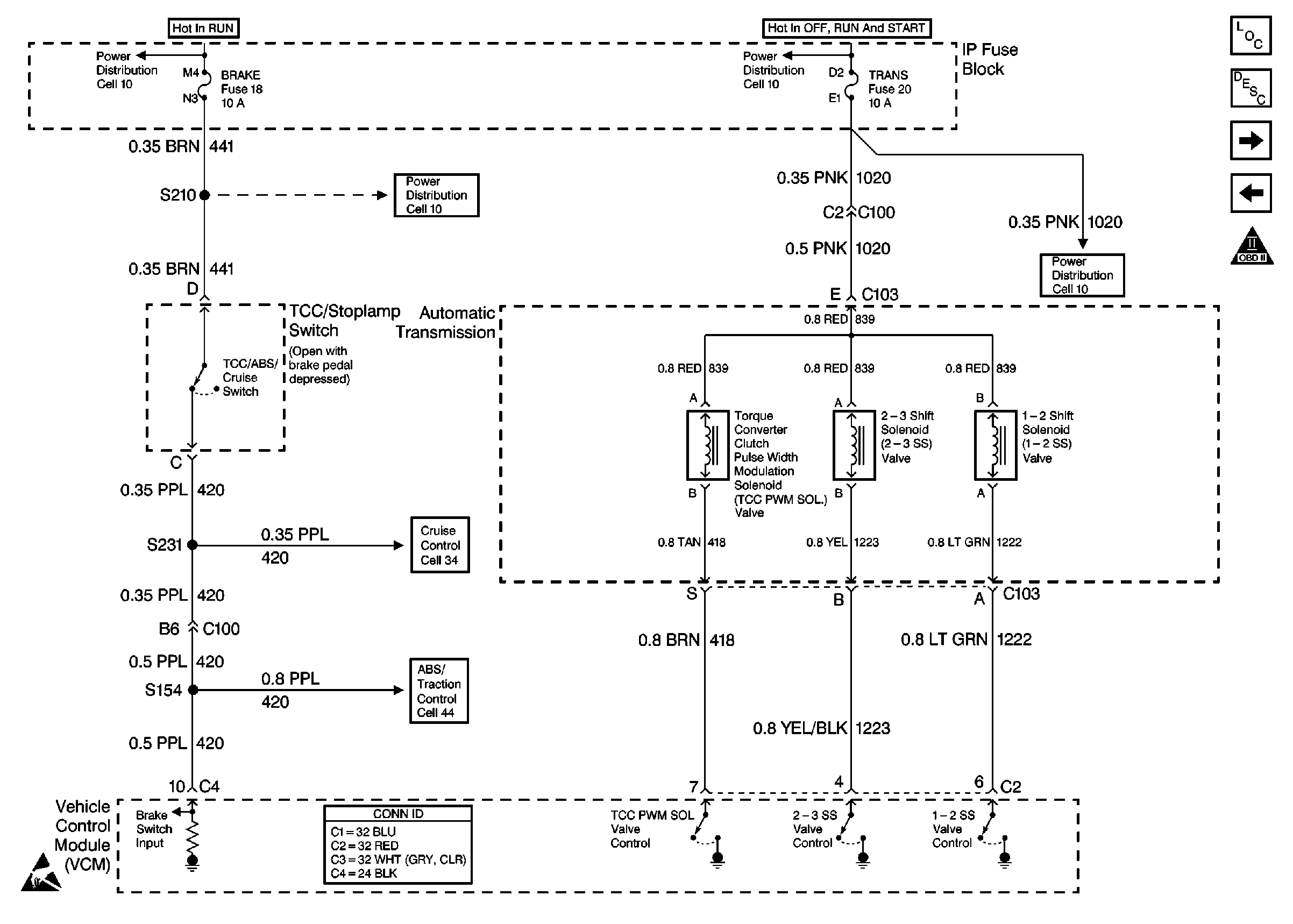
Cell 21: 4L80-E Transmission Switch Controls
Cell 21: 4L60-E Transmission Switch Controls
OBD II Symbol Description Notice
Cell 10: Ignition Switch, RR BLOWER, RR HVAC, BRAKE, HTR AC, CRUISE, RADIO, WIPER, PWR WDO, TRANS, CRANK Fuses
Cell 10: Ignition Switch, RR BLOWER, RR HVAC, BRAKE, HTR AC, CRUISE, RADIO, WIPER, PWR WDO, TRANS, CRANK Fuses
Cell 11: TURN B/U and TRANS Fuses
Cell 11: CRANK, CRUISE, HTR-A/C, BRAKE Fuses
Cell 34: Gasoline Engine
Cell 44: IP, VCM, EBCM, and VSS
VCM Connector End Views
Handling ESD Sensitive Parts Notice
Figure 13:

Cell 21: 4L80-E Transmission Switch Controls


Object Number: 337169  Size: FS
Engine Controls Components
Information Sensors/Switches Description
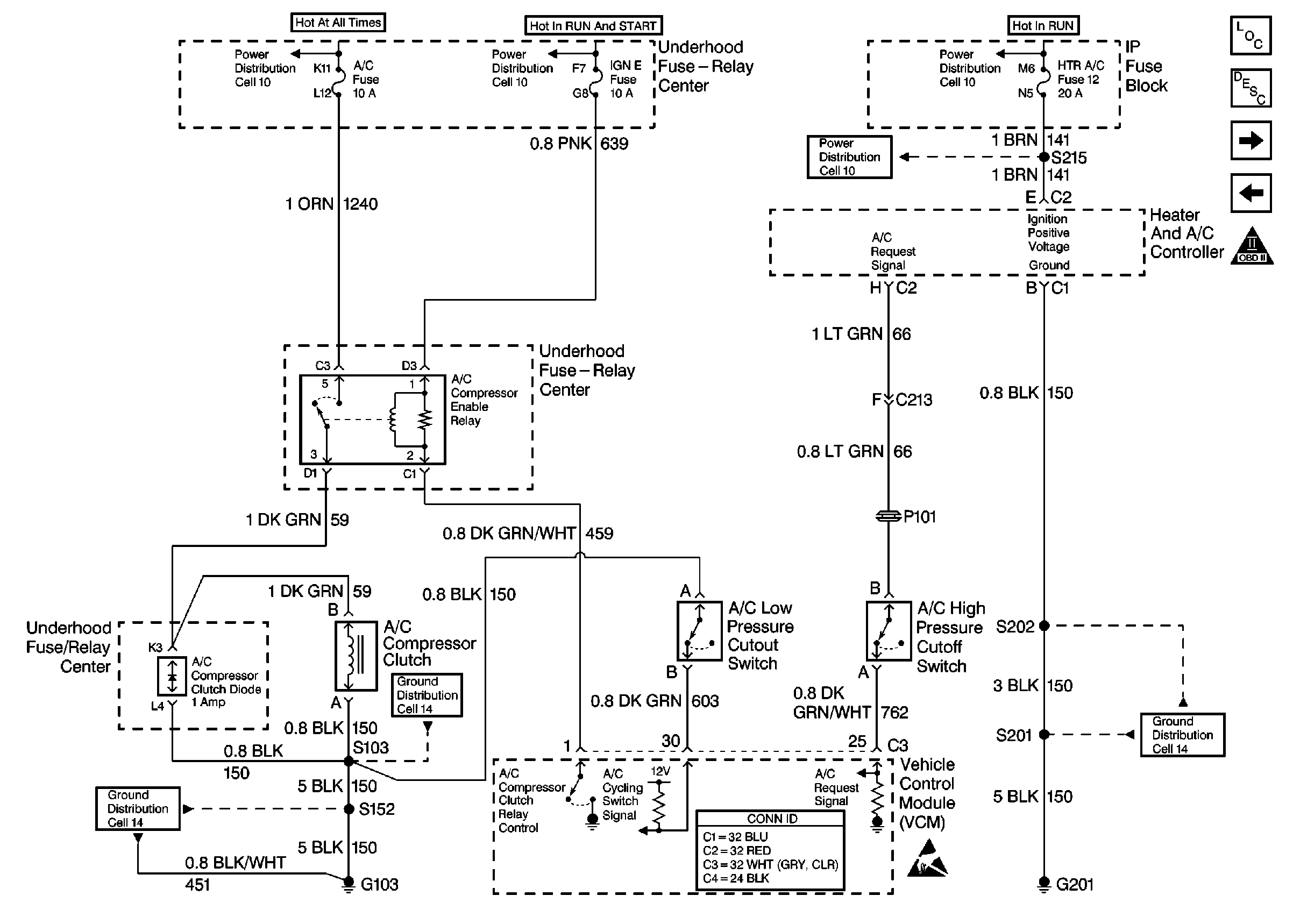
Cell 21: A/C Controls
Cell 21: 4L80-E Transmission Solenoid Controls
OBD II Symbol Description Notice
VCM Connector End Views
Cell 21: Sensor Controls
Handling ESD Sensitive Parts Notice
Handling ESD Sensitive Parts Notice
Engine Controls Schematic Icons
Figure 14:

Cell 21: A/C Controls


Object Number: 338474  Size: FS
Engine Controls Components
Information Sensors/Switches Description
Cell 21: 4L80-E Transmission Switch Controls
OBD II Symbol Description Notice
Cell 10: Ignition Switch, RR BLOWER, RR HVAC, BRAKE, HTR AC, CRUISE, RADIO, WIPER, PWR WDO, TRANS, CRANK Fuses
Cell 10: FUEL SOL, IGN-E, ECM-I, ENG-I, GAUGES, AIR BAGS, TURN B/U Fuses
Cell 10: Battery, AUX A, AUX B, BLOWER, IGN-B, IGN-A, ABS, BATT, LIGHTING, ECM-B, HORN, and A/C Fuses, Inline Fuse 30 A (Gasoline Engines)
Cell 11: CRANK, CRUISE, HTR-A/C, BRAKE Fuses
VCM Connector End Views
Cell 14: Heated Oxygen Sensor Bank 2 Sensor 1, Heated Oxygen Sensor Bank 1 Sensor 1, C105 (G103) (5.0L, 5.7L)
Cell 14: G201
Cell 14: Heated Oxygen Sensor Bank 2 Sensor 1, Heated Oxygen Sensor Bank 1 Sensor 1, C105 (G103) (5.0L, 5.7L)
Handling ESD Sensitive Parts Notice