GM Service Manual Online
For 1990-2009 cars only
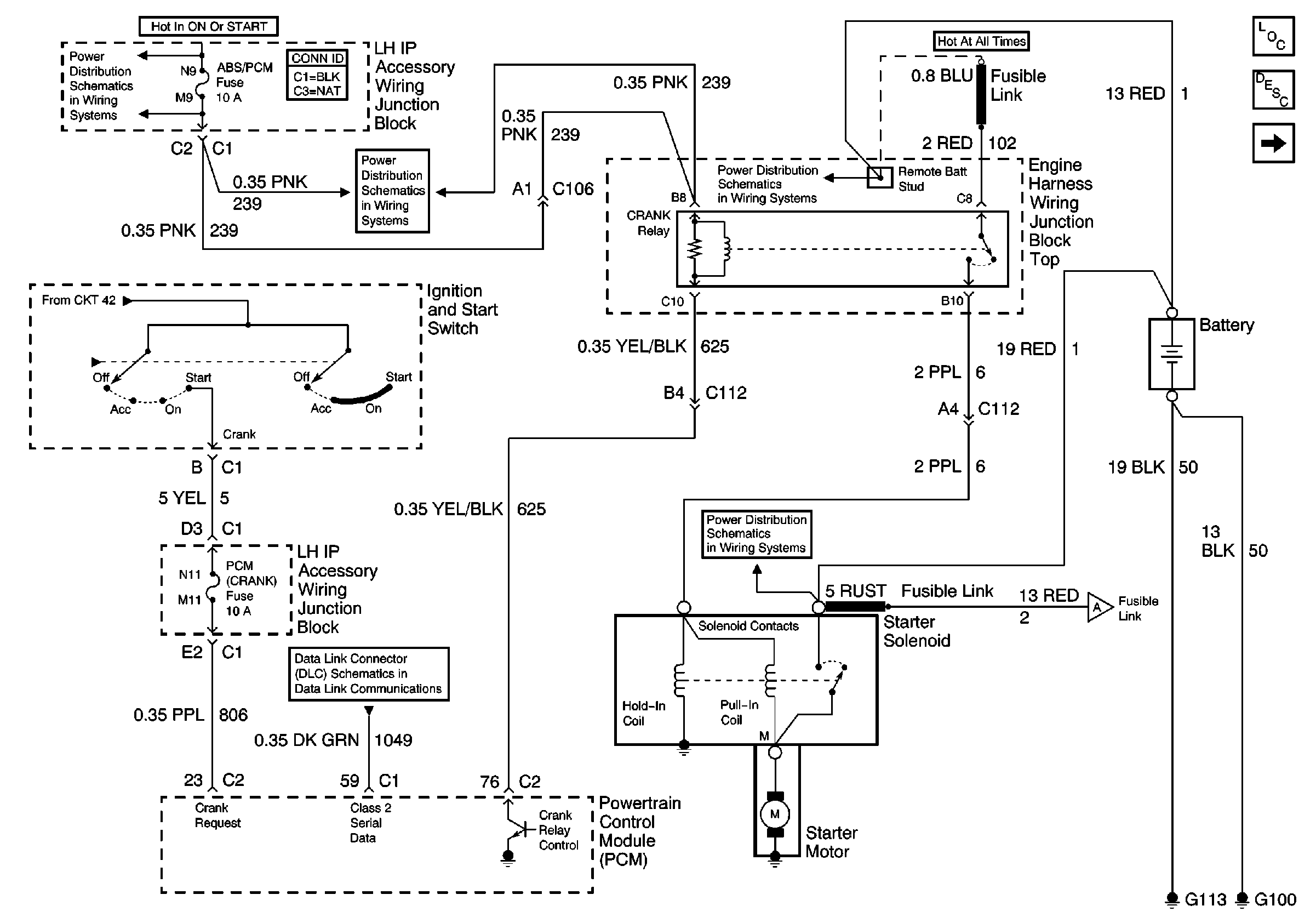
Figure 1:

Power and Ground Distribution, Starter Assembly, Powertrain Control Module (PCM)


Object Number: 501949  Size: FS
Engine Electrical Components
Starting System Circuit Description
Generator, Powertrain Control Module (PCM), Body Control Module (BCM),and Instrument Cluster, and Serial Data
ABS/PCM, STOP, TURN SIGNAL and SRS Fuses
ABS/PCM, STOP, TURN SIGNAL and SRS Fuses
Battery, EBCM, Engine Wiring Harness Junction Blocks (Bottom and Top),Fusible Links, Generator, Remote Battery Stud and Starter
G100, G111, G113 and G151
Generator, Powertrain Control Module (PCM), Body Control Module (BCM),and Instrument Cluster, and Serial Data
ABS/PCM, STOP, TURN SIGNAL and SRS Fuses
Data Link Communications Schematic
Figure 2:

Generator, Powertrain Control Module (PCM), Body Control Module (BCM), and Instrument Cluster, and Serial Data


Object Number: 501951  Size: FS
EXT LTS, A/C RLY (CMPR) and PCM Fuses
Ignition and Start Switch and A/C CRUISE, A/C FAN, CRUISE, PCM (Crank)and PCM/BCM/CLSTR Fuses
Direct Inputs 2 of 2
Handling ESD Sensitive Parts Notice
Engine Electrical Components
Charging System Circuit Description
Power and Ground Distribution, Starter Assembly, Powertrain Control Module (PCM)
Handling ESD Sensitive Parts Notice
Power and Ground Distribution, Starter Assembly, Powertrain Control Module (PCM)
Data Link Communications Schematic
Figure 3:

Power Shedding Control


Object Number: 561147  Size: FS
Battery, EBCM, Engine Wiring Harness Junction Blocks (Bottom and Top),Fusible Links, Generator, Remote Battery Stud and Starter
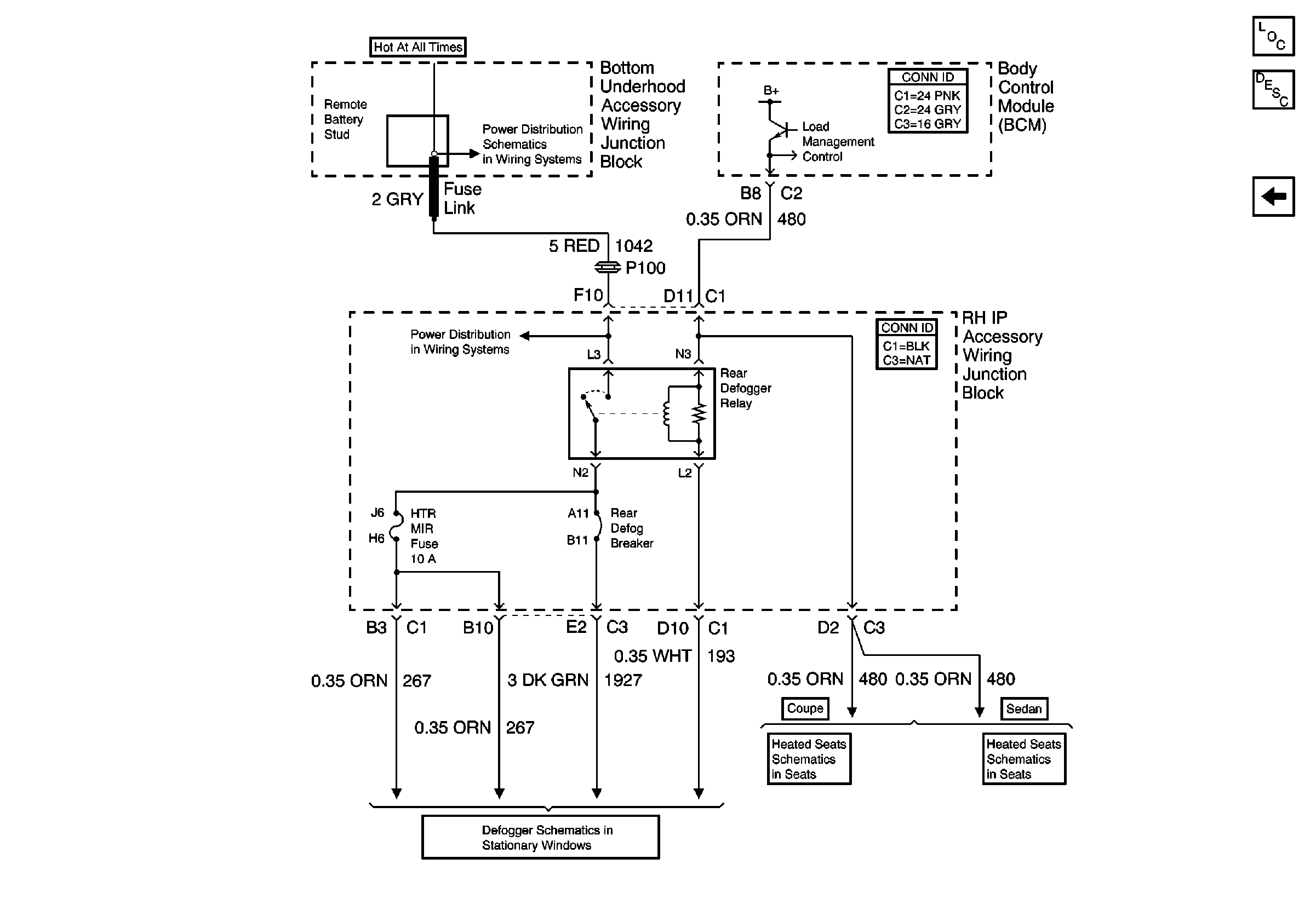
RADIO and HTD MIR Fuses, REAR DEFOG Circuit Breaker and REAR DEFOG Relay
Rear Defogger
Heated Seats - 4 Door LH
Heated Seats - 4 Door LH
Engine Electrical Components
Charging System Circuit Description