GM Service Manual Online
For 1990-2009 cars only

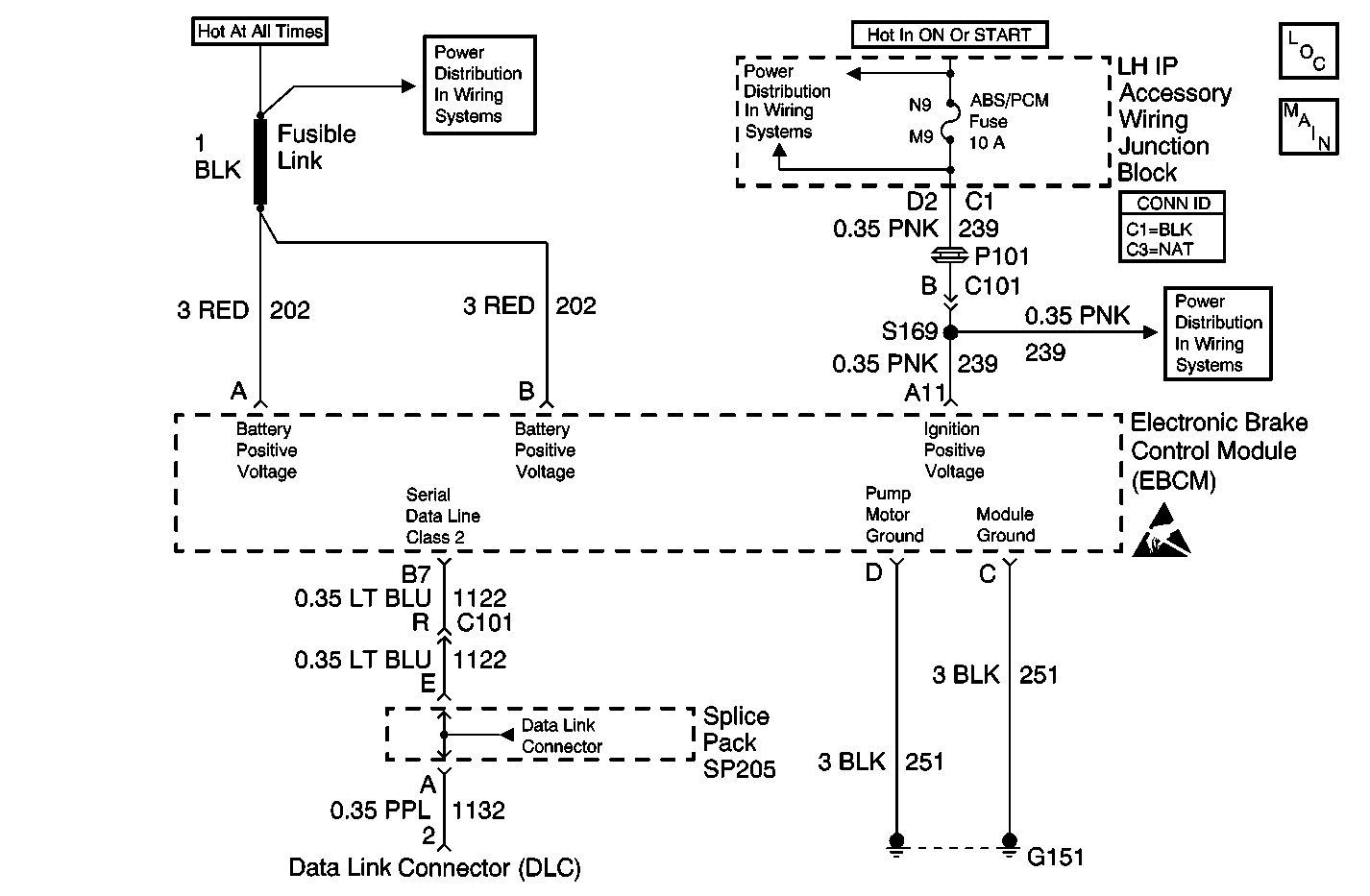
Object Number: 490168  Size: MF
Antilock Brake System Component Views
Antilock Brake System Schematics
Power Distribution Schematics
Power Distribution Schematics
Power Distribution Schematics
Data Link Connector Schematics
Handling Electrostatic Discharge Sensitive Parts Notice

Circuit Description

The Class 2 serial data line allows all the modules on the line to transmit information to each other as needed. Each module is assigned an ID and all the information sent out on the line is assigned a priority by which it is received. When the ignition switch is turned to the run position each module begins to send and receive information. Each module on the Class 2 serial data line knows what information it needs to send out and what information it should be receiving. What the modules do not know is which module is supposed to send them the information. This information is only learned after the module has received the information it needs along with the ID of the module that sent the information. This information is then remembered until the ignition switch is turned off.

Diagnostic Aids

  1. The following conditions may cause an intermittent malfunction to occur:
  2. • A poor connection
    • A rubbed-through wire insulation
    • A broken wire inside the insulation
  3. Inspect any circuitry that may cause the intermittent complaint for the following conditions:
  4. • Backed out terminals
    • Improper mating
    • Broken locks
    • Improperly formed terminals
    • Damaged terminals
    • Poor terminal to wiring connections
    • Physical damage to the wiring harness

Step

Action

Value(s)

Yes

No

1

Did you perform the ABS Diagnostic System Check?

--

Go to Step 2

Go to Diagnostic System Check - ABS

2

  1. Turn OFF the ignition.
  2. Install a scan tool.
  3. Turn ON the ignition, with the engine OFF.
  4. Attempt to establish communication with other modules on the class 2 serial data line, such as the PCM.

Does the scan tool communicate with any other modules on the class 2 serial data line?

--

Go to Step 3

Go to Data Link System Check in Wiring Systems

3

  1. Turn OFF the ignition.
  2. Disconnect the EBCM harness connector.
  3. Connect the J 39700 universal pinout box using the J 39700-99 cable adapter to the EBCM harness connector only.
  4. Measure the voltage from the EBCM battery supply circuits to a good ground. Refer to Circuit Testing and Wiring Repairs in Wiring Systems.

Is the voltage within the specified range?

Ignition Voltage

Go to Step 4

Go to Step 7

4

Measure the ignition positive voltage input circuit for the EBCM. Refer to Circuit Testing and Wiring Repairs in Wiring Systems.

Is the voltage within the specified range?

Battery Voltage

Go to Step 5

Go to Step 8

5

Test the module ground circuit for an open. Refer to Circuit Testing and Wiring Repairs in Wiring Systems.

Did you find and correct the condition?

--

Go to Diagnostic System Check - ABS

Go to Step 6

6

Test the serial data line circuit for an open between the EBCM connector and the Splice Pack SP205. Refer to Circuit Testing and Wiring Repairs in Wiring Systems.

Did you find and correct the condition?

--

Go to Diagnostic System Check - ABS

Go to Step 15

7

Inspect the Fusible Link (1 BLK) located down at the starter.

Is the fuse good?

--

Go to Step 9

Go to Step 14

8

Inspect the ABS /PCM Fuse located in the LH IP Accessory Wiring Junction Block.

Is the fuse good?

--

Go to Step 10

Go to Step 13

9

Measure the voltage at the Fusible Link (1 BLK) by probing between the starter terminal and a good ground.

Is the voltage within the specified range?

Battery Voltage

Go to Step 12

Go to Step 17

10

  1. Install or reconnect the fuses, if removed.
  2. Turn ON the ignition, with the engine OFF.
  3. Measure the voltage at the LH IP Accessory Wiring Junction Block ABS/PCM Fuse by probing between the fuse test terminals and a good ground.

Is the voltage within the specified range?

Battery Voltage

Go to Step 11

Go to Step 16

11

Repair the ignition positive voltage circuit for an open. Refer to Wiring Repairs in Wiring Systems.

Did you complete the repair?

--

Go to Diagnostic System Check - ABS

--

12

Repair the battery positive voltage circuit for an open. Refer to Wiring Repairs in Wiring Systems.

Did you complete the repair?

--

Go to Diagnostic System Check - ABS

--

13

  1. Turn OFF the ignition.
  2. Remove the ABS/PCM Fuse from the LH IP Accessory Wiring Junction Block.
  3. Test the ignition voltage circuit for a short to ground. Refer to Circuit Testing and Wiring Repairs in Wiring Systems.

Did you find and correct the condition?

--

Go to Diagnostic System Check - ABS

Go to Step 15

14

  1. Turn OFF the ignition.
  2. Disconnect the battery negative cable.
  3. Remove the Fusible Link (1 BLK) from the starter connection.
  4. Test the battery voltage circuit for a short to ground. Refer to Circuit Testing and Wiring Repairs in Wiring Systems.

Did you find and correct the condition?

--

Go to Diagnostic System Check - ABS

Go to Step 15

15

Inspect for poor connections at the harness connector of the EBCM. Refer to Testing for Intermittent Conditions and Poor Connections and Connector Repairs in Wiring Systems.

Did you find and correct the condition?

--

Go to Diagnostic System Check - ABS

Go to Step 18

16

Inspect for poor connections at the harness connector of the LH IP Accessory Wiring Junction Block. Refer to Testing for Intermittent Conditions and Poor Connections and Connector Repairs in Wiring Systems.

Did you find and correct the condition?

--

Go to Diagnostic System Check - ABS

Go to Step 19

17

Repair a poor connection at the starter terminal connector. Refer to Wiring Repairs in Wiring.

Did you complete the repair?

--

Go to Diagnostic System Check - ABS

--

18

Replace the EBCM. Refer to Electronic Brake Control Module Replacement

Did you complete the repair?

--

Go to Diagnostic System Check - ABS

--

19

Replace the LH IP Accessory Wiring Junction Block.

Did you complete the repair?

--

Go to Diagnostic System Check - ABS

--