GM Service Manual Online
For 1990-2009 cars only
Figure 1:

Battery, EBCM, Engine Wiring Harness Junction Blocks (Bottom and Top), Fusible Links, Generator, Remote Battery Stud and Starter


Object Number: 308429  Size: FS
LH HTD ST/BCM, DR LK, PWR MIR and CLSTR/BCM Fuses, HEADLAMP and RETAINED ACCSRY PWR Relays, and RETAINED ACCSRY PWR Circuit Breaker
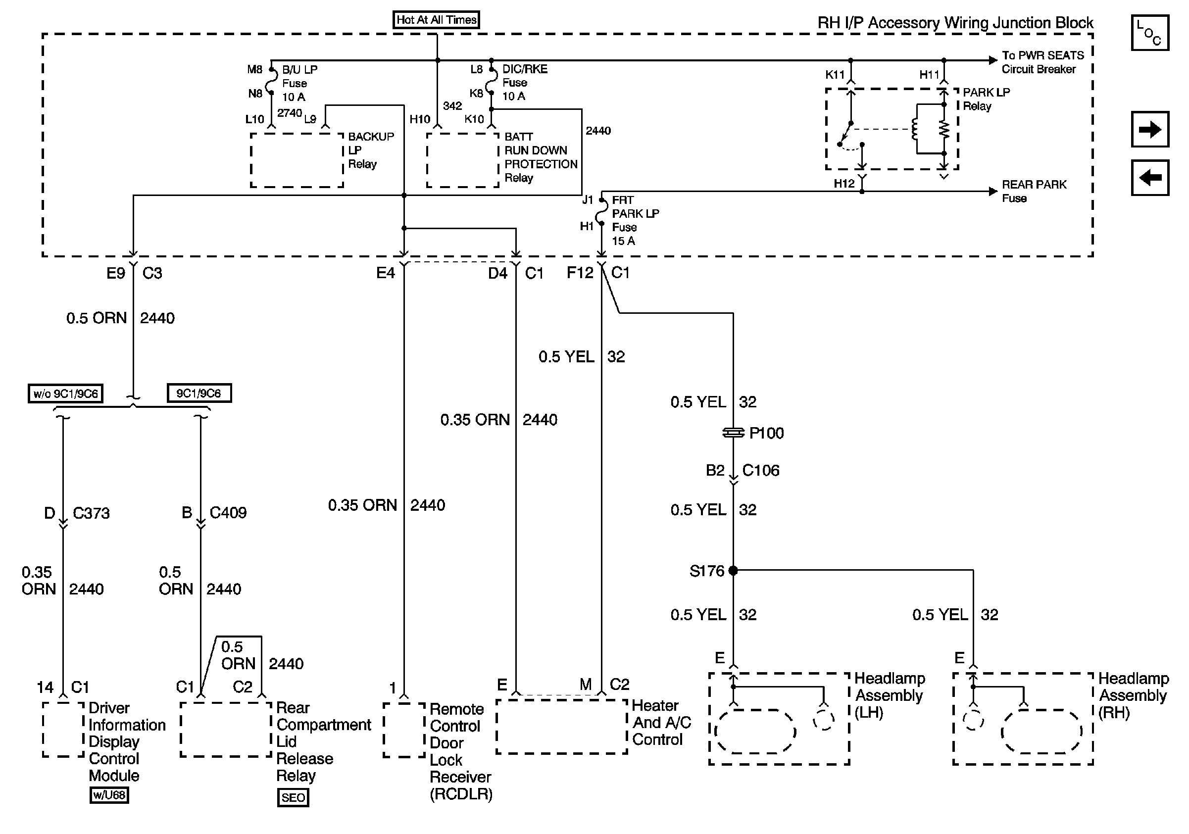
DIC/RKE, B/U LP, TRK/ROOF BRP and I/P BRP Fuses, BATT RUNDOWN PROTECTION and BACKUP LP Relays
C/LTR, AUX PWR, HAZ SW, BRK SW and HVAC BLO Fuses
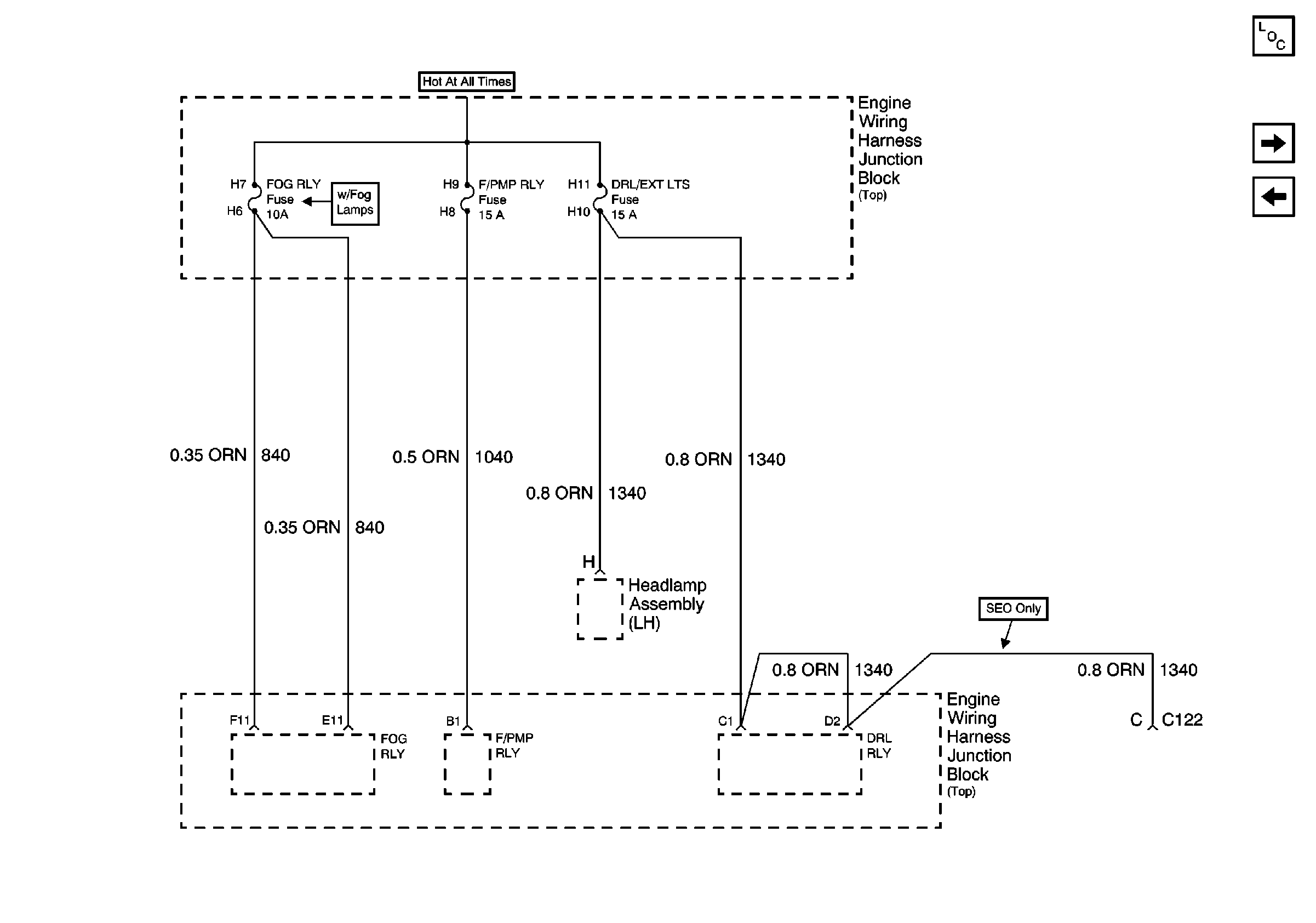
FOG RLY, F/PMP RLY, DLR/EXT LTS, EXT LTS, A/C RLY (CMPR), PCM and HORN RLY Fuses
Ignition and Start Switch and CIG/AUX, WSW, BCM, TURN SIGNAL, SRS, STOP and ABS/PCM Fuses
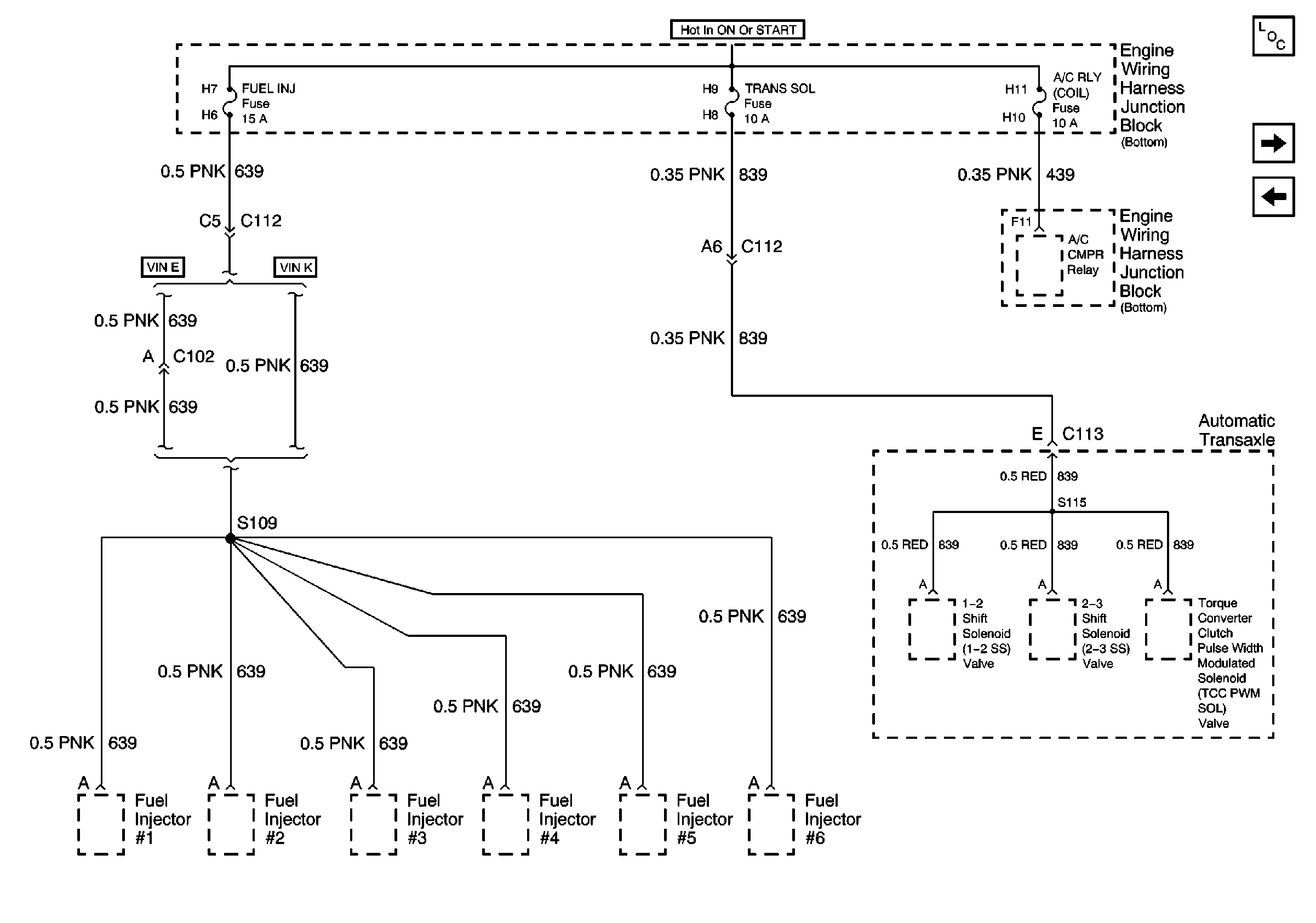
AIR PMP RLY, FUEL INJ, TRANS SOL, A/C RLY (Coil), OXY SEN, DFI MDL, ENG DEVICES, FAN CONT #1, FAN CONT #2 & #3 Fuses, and IGN and Air Pump Relays
AIR PMP RLY, FUEL INJ, TRANS SOL, A/C RLY (Coil), OXY SEN, DFI MDL, ENG DEVICES, FAN CONT #1, FAN CONT #2 & #3 Fuses, and IGN and Air Pump Relays
AIR PMP RLY, FUEL INJ, TRANS SOL, A/C RLY (Coil), OXY SEN, DFI MDL, ENG DEVICES, FAN CONT #1, FAN CONT #2 & #3 Fuses, and IGN and Air Pump Relays
RADIO and HTD MIR Fuses, REAR DEFOG Circuit Breaker and REAR DEFOG Relay
Fuse Block (SEO): Circuit Breaker 1, Circuit Breaker 2 and Circuit Breaker 3
Fuse Block (SEO): Circuit Breaker 1, Circuit Breaker 2 and Circuit Breaker 3
SEO: Wiring Harness Junction Block - RPO 9C1, 9C6
SEO: Wiring Harness Junction Block - RPO 9C1, 9C6
ABS/PCM, STOP, TURN SIGNAL and SRS Fuses
Automatic Transaxle Position Encoder, Crank Relay
Power, Generator, EBCM, I/P and Ground
Power and Grounding Components
LH HTD ST/BCM, DR LK, PWR MIR and CLSTR/BCM Fuses, HEADLAMP and RETAINED ACCSRY PWR Relays, and RETAINED ACCSRY PWR Circuit Breaker
Figure 2:

LH HTD ST/BCM, DR LK, PWR MIR and CLSTR/BCM Fuses, HEADLAMP and RETAINED ACCSRY PWR Relays, and RETAINED ACCSRY PWR Circuit Breaker


Object Number: 308446  Size: FS
Battery, EBCM, Engine Wiring Harness Junction Blocks (Bottom and Top),Fusible Links, Generator, Remote Battery Stud and Starter
PCM BCM/CLSTR, PWR MIR, CLSTR/BCM Fuses, RETAINED ACCSRY PWR CIRCUIT Breaker, HEADLAMP and RETAINED ACCSRY PWR Relays
Power and Grounding Components
DIC/RKE, B/U LP, TRK/ROOF BRP and I/P BRP Fuses, BATT RUNDOWN PROTECTION and BACKUP LP Relays
Battery, EBCM, Engine Wiring Harness Junction Blocks (Bottom and Top),Fusible Links, Generator, Remote Battery Stud and Starter
Figure 3:

DIC/RKE, B/U LP, TRK/ROOF BRP and I/P BRP Fuses, BATT RUNDOWN PROTECTION and BACKUP LP Relays


Object Number: 308449  Size: FS
Battery, EBCM, Engine Wiring Harness Junction Blocks (Bottom and Top),Fusible Links, Generator, Remote Battery Stud and Starter
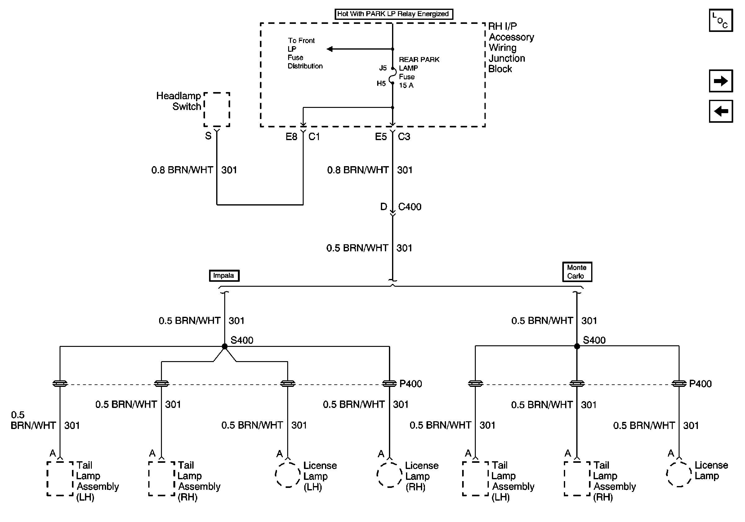
PWR DROP, REAR PARK, FRT PARK LP and HTD ST Fuses, PWR SEATS Circuit Breaker, and PARK LP Relay
TRK/ROOF BRP and IP BRP Fuses
B/U LP, DIC/RKE and FRT PARK LP Fuses, and BACKUP LP, BATT RUN DOWN PROTECTION and PARK LP Relays
Power and Grounding Components
PWR DROP, REAR PARK, FRT PARK LP and HTD ST Fuses, PWR SEATS Circuit Breaker, and PARK LP Relay
LH HTD ST/BCM, DR LK, PWR MIR and CLSTR/BCM Fuses, HEADLAMP and RETAINED ACCSRY PWR Relays, and RETAINED ACCSRY PWR Circuit Breaker
Figure 4:

PWR DROP, REAR PARK, FRT PARK LP and HTD ST Fuses, PWR SEATS Circuit Breaker, and PARK LP Relay


Object Number: 308451  Size: FS
DIC/RKE, B/U LP, TRK/ROOF BRP and I/P BRP Fuses, BATT RUNDOWN PROTECTION and BACKUP LP Relays
REAR PARK Fuse
B/U LP, DIC/RKE and FRT PARK LP Fuses, and BACKUP LP, BATT RUN DOWN PROTECTION and PARK LP Relays
Power and Grounding Components
C/LTR, AUX PWR, HAZ SW, BRK SW and HVAC BLO Fuses
DIC/RKE, B/U LP, TRK/ROOF BRP and I/P BRP Fuses, BATT RUNDOWN PROTECTION and BACKUP LP Relays
Figure 5:

C/LTR, AUX PWR, HAZ SW, BRK SW and HVAC BLO Fuses


Object Number: 308454  Size: FS
Battery, EBCM, Engine Wiring Harness Junction Blocks (Bottom and Top),Fusible Links, Generator, Remote Battery Stud and Starter
Power and Grounding Components
FOG RLY, F/PMP RLY, DLR/EXT LTS, EXT LTS, A/C RLY (CMPR), PCM and HORN RLY Fuses
PWR DROP, REAR PARK, FRT PARK LP and HTD ST Fuses, PWR SEATS Circuit Breaker, and PARK LP Relay
Figure 6:

FOG RLY, F/PMP RLY, DLR/EXT LTS, EXT LTS, A/C RLY (CMPR), PCM and HORN RLY Fuses


Object Number: 308444  Size: FS
Battery, EBCM, Engine Wiring Harness Junction Blocks (Bottom and Top),Fusible Links, Generator, Remote Battery Stud and Starter
FOG RLY, F/PMP RLY and DRL/EXT LTS Fuses
EXT LTS, A/C RLY (CMPR) and PCM Fuses
Power and Grounding Components
Ignition and Start Switch and CIG/AUX, WSW, BCM, TURN SIGNAL, SRS, STOP and ABS/PCM Fuses
C/LTR, AUX PWR, HAZ SW, BRK SW and HVAC BLO Fuses
Figure 7:

Ignition and Start Switch and CIG/AUX, WSW, BCM, TURN SIGNAL, SRS, STOP and ABS/PCM Fuses


Object Number: 308435  Size: FS
Battery, EBCM, Engine Wiring Harness Junction Blocks (Bottom and Top),Fusible Links, Generator, Remote Battery Stud and Starter
Ignition and Start Switch and A/C CRUISE, A/C FAN, CRUISE, PCM (Crank)and PCM/BCM/CLSTR Fuses
STR COL, BCM, WSW and CIG/AUX Fuses
ABS/PCM, STOP, TURN SIGNAL and SRS Fuses
Power and Grounding Components
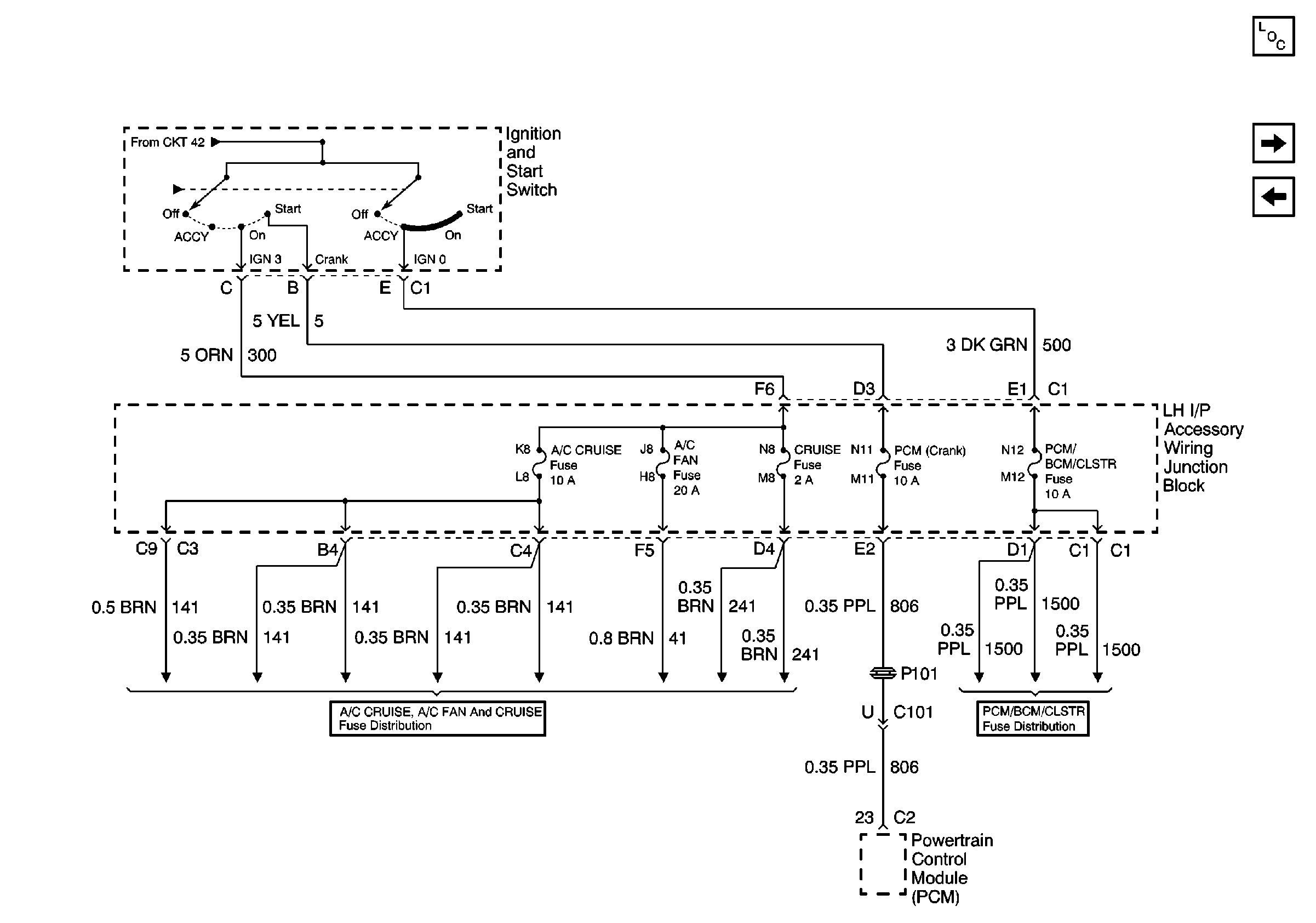
Ignition and Start Switch and A/C CRUISE, A/C FAN, CRUISE, PCM (Crank)and PCM/BCM/CLSTR Fuses
FOG RLY, F/PMP RLY, DLR/EXT LTS, EXT LTS, A/C RLY (CMPR), PCM and HORN RLY Fuses
Figure 8:

Ignition and Start Switch and A/C CRUISE, A/C FAN, CRUISE, PCM (Crank) and PCM/BCM/CLSTR Fuses


Object Number: 308438  Size: FS
Ignition and Start Switch and CIG/AUX, WSW, BCM, TURN SIGNAL, SRS, STOP and ABS/PCM Fuses
A/C CRUISE, A/C FAN and CRUISE Fuses
PCM BCM/CLSTR, PWR MIR, CLSTR/BCM Fuses, RETAINED ACCSRY PWR CIRCUIT Breaker, HEADLAMP and RETAINED ACCSRY PWR Relays
Power and Grounding Components
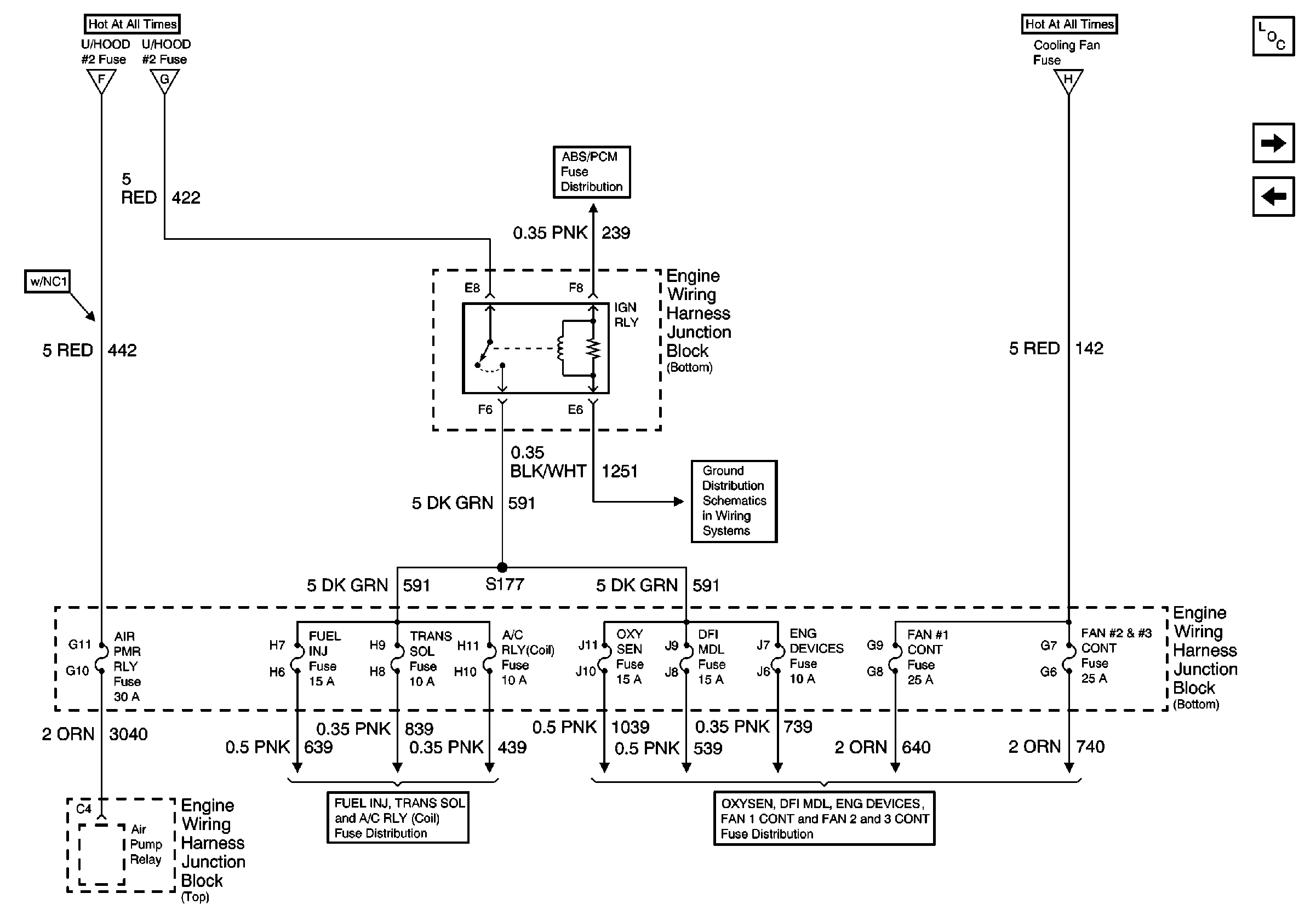
AIR PMP RLY, FUEL INJ, TRANS SOL, A/C RLY (Coil), OXY SEN, DFI MDL, ENG DEVICES, FAN CONT #1, FAN CONT #2 & #3 Fuses, and IGN and Air Pump Relays
Ignition and Start Switch and CIG/AUX, WSW, BCM, TURN SIGNAL, SRS, STOP and ABS/PCM Fuses
Figure 9:

AIR PMP RLY, FUEL INJ, TRANS SOL, A/C RLY (Coil), OXY SEN, DFI MDL, ENG DEVICES, FAN CONT #1, FAN CONT #2 & #3 Fuses, and IGN and Air Pump Relays


Object Number: 308443  Size: FS
Battery, EBCM, Engine Wiring Harness Junction Blocks (Bottom and Top),Fusible Links, Generator, Remote Battery Stud and Starter
Battery, EBCM, Engine Wiring Harness Junction Blocks (Bottom and Top),Fusible Links, Generator, Remote Battery Stud and Starter
ABS/PCM, STOP, TURN SIGNAL and SRS Fuses
G203 (3 of 3)
FUEL INJ, TRANS SOL and A/C RLY (COIL) Fuses
FAN CONT #2 & #3, FAN CONT #1, OXY SEN, DFI MDL and ENG DEVICES Fuses
Power and Grounding Components
RADIO and HTD MIR Fuses, REAR DEFOG Circuit Breaker and REAR DEFOG Relay
Ignition and Start Switch and A/C CRUISE, A/C FAN, CRUISE, PCM (Crank)and PCM/BCM/CLSTR Fuses
Figure 10:

RADIO and HTD MIR Fuses, REAR DEFOG Circuit Breaker and REAR DEFOG Relay


Object Number: 308440  Size: FS
Battery, EBCM, Engine Wiring Harness Junction Blocks (Bottom and Top),Fusible Links, Generator, Remote Battery Stud and Starter
Brake Transaxle Shift Interlock Control, Rear Compartment Lid Release and Remote Control Door Lock Receiver
Rear Defogger
Heated Seats - 4 Door LH
Power and Grounding Components
Fuse Block (SEO): Circuit Breaker 1, Circuit Breaker 2 and Circuit Breaker 3
AIR PMP RLY, FUEL INJ, TRANS SOL, A/C RLY (Coil), OXY SEN, DFI MDL, ENG DEVICES, FAN CONT #1, FAN CONT #2 & #3 Fuses, and IGN and Air Pump Relays
Figure 11:

Fuse Block (SEO): Circuit Breaker 1, Circuit Breaker 2 and Circuit Breaker 3


Object Number: 596771  Size: FS
Battery, EBCM, Engine Wiring Harness Junction Blocks (Bottom and Top),Fusible Links, Generator, Remote Battery Stud and Starter
Battery, EBCM, Engine Wiring Harness Junction Blocks (Bottom and Top),Fusible Links, Generator, Remote Battery Stud and Starter
Power and Grounding Components
SEO: Wiring Harness Junction Block - RPO 9C1, 9C6
RADIO and HTD MIR Fuses, REAR DEFOG Circuit Breaker and REAR DEFOG Relay
Figure 12:

SEO: Wiring Harness Junction Block -- RPO 9C1, 9C6


Object Number: 596777  Size: FS
Battery, EBCM, Engine Wiring Harness Junction Blocks (Bottom and Top),Fusible Links, Generator, Remote Battery Stud and Starter
Battery, EBCM, Engine Wiring Harness Junction Blocks (Bottom and Top),Fusible Links, Generator, Remote Battery Stud and Starter
Power and Grounding Components
PCM BCM/CLSTR, PWR MIR, CLSTR/BCM Fuses, RETAINED ACCSRY PWR CIRCUIT Breaker, HEADLAMP and RETAINED ACCSRY PWR Relays
Fuse Block (SEO): Circuit Breaker 1, Circuit Breaker 2 and Circuit Breaker 3
Figure 13:

PCM BCM/CLSTR, PWR MIR, CLSTR/BCM Fuses, RETAINED ACCSRY PWR Circuit Breaker, HEADLAMP and RETAINED ACCSRY PWR Relays


Object Number: 308471  Size: FS
Power and Grounding Components
TRK/ROOF BRP and IP BRP Fuses
SEO: Wiring Harness Junction Block - RPO 9C1, 9C6
Figure 14:

TRK/ROOF BRP and IP BRP Fuses


Object Number: 308481  Size: FS
Power and Grounding Components
B/U LP, DIC/RKE and FRT PARK LP Fuses, and BACKUP LP, BATT RUN DOWN PROTECTION and PARK LP Relays
PCM BCM/CLSTR, PWR MIR, CLSTR/BCM Fuses, RETAINED ACCSRY PWR CIRCUIT Breaker, HEADLAMP and RETAINED ACCSRY PWR Relays
Figure 15:

B/U LP, DIC/RKE and FRT PARK LP Fuses, and BACKUP LP, BATT RUN DOWN PROTECTION and PARK LP Relays


Object Number: 308485  Size: FS
PWR DROP, REAR PARK, FRT PARK LP and HTD ST Fuses, PWR SEATS Circuit Breaker, and PARK LP Relay
REAR PARK Fuse
Power and Grounding Components
REAR PARK Fuse
TRK/ROOF BRP and IP BRP Fuses
Figure 16:

REAR PARK Fuse


Object Number: 596782  Size: FS
B/U LP, DIC/RKE and FRT PARK LP Fuses, and BACKUP LP, BATT RUN DOWN PROTECTION and PARK LP Relays
Power and Grounding Components
FOG RLY, F/PMP RLY and DRL/EXT LTS Fuses
B/U LP, DIC/RKE and FRT PARK LP Fuses, and BACKUP LP, BATT RUN DOWN PROTECTION and PARK LP Relays
Figure 17:

FOG RLY, F/PMP RLY and DRL/EXT LTS Fuses


Object Number: 308464  Size: FS
Power and Grounding Components
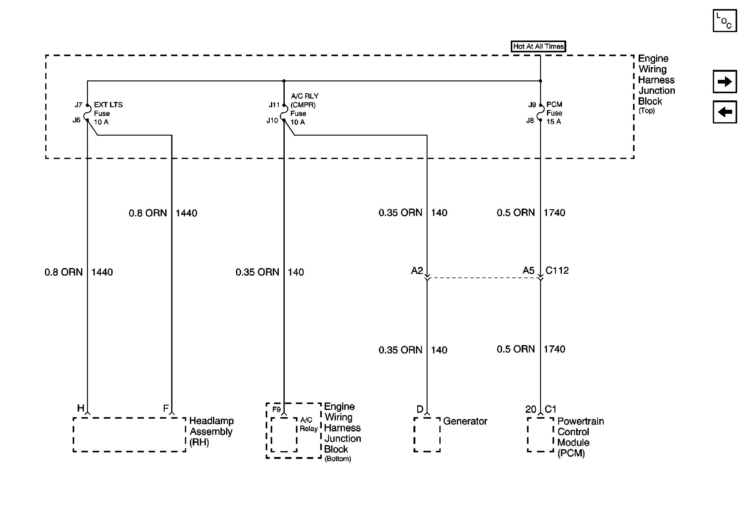
EXT LTS, A/C RLY (CMPR) and PCM Fuses
REAR PARK Fuse
Figure 18:

EXT LTS, A/C RLY (CMPR) and PCM Fuses


Object Number: 308465  Size: FS
Power and Grounding Components
STR COL, BCM, WSW and CIG/AUX Fuses
FOG RLY, F/PMP RLY and DRL/EXT LTS Fuses
Figure 19:

STR COL, BCM, WSW and CIG/AUX Fuses


Object Number: 308469  Size: FS
BCM, Door Lock, Door Window Switch, HVAC, Radio, and Fog Lamp Switch Lamps
Power and Grounding Components
ABS/PCM, STOP, TURN SIGNAL and SRS Fuses
EXT LTS, A/C RLY (CMPR) and PCM Fuses
Figure 20:

ABS/PCM, STOP, TURN SIGNAL and SRS Fuses


Object Number: 308467  Size: FS
Power and Grounding Components
A/C CRUISE, A/C FAN and CRUISE Fuses
STR COL, BCM, WSW and CIG/AUX Fuses
Figure 21:

A/C CRUISE, A/C FAN and CRUISE Fuses


Object Number: 308473  Size: FS
Power and Grounding Components
FUEL INJ, TRANS SOL and A/C RLY (COIL) Fuses
ABS/PCM, STOP, TURN SIGNAL and SRS Fuses
Figure 22:

FUEL INJ, TRANS SOL and A/C RLY (COIL) Fuses


Object Number: 308462  Size: FS
Power and Grounding Components
FAN CONT #2 & #3, FAN CONT #1, OXY SEN, DFI MDL and ENG DEVICES Fuses
A/C CRUISE, A/C FAN and CRUISE Fuses
Figure 23:

FAN CONT #2 & #3, FAN CONT #1, OXY SEN, DFI MDL and ENG DEVICES Fuses


Object Number: 308459  Size: FS
G101 (2 of 2)
Power and Grounding Components
G101 (1 of 2)
FUEL INJ, TRANS SOL and A/C RLY (COIL) Fuses