GM Service Manual Online
For 1990-2009 cars only

Object Number: 477452  Size: MF
Automatic Transmission Components
Automatic Transmission Controls Schematics
OBD II Symbol Description Notice
Handling ESD Sensitive Parts Notice

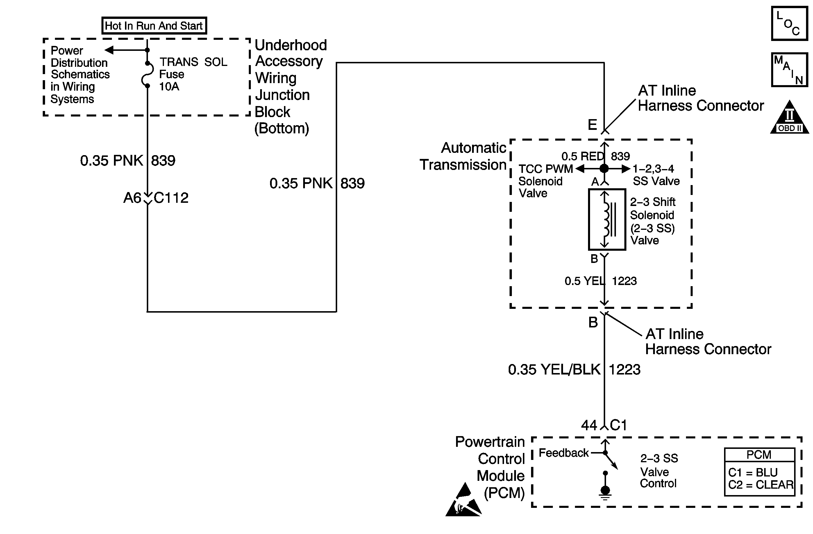
Circuit Description

The 2-3 shift solenoid (2-3 SS) valve controls transmission fluid pressure acting on the 1-2 and 2-3 shift valves to position the valves for the appropriate gear. The 2-3 SS valve is a normally-open exhaust valve located on the control valve body. A fused circuit supplies ignition voltage to the 2-3 SS valve. The PCM commands the solenoid ON or OFF by switching the ground path. When the 2-3 SS valve is commanded ON, the PCM senses low voltage. When the 2-3 SS valve is commanded OFF, the PCM senses high voltage.

If the PCM detects a continuous open, short to ground or short to power in the 2-3 SS valve circuit, then DTC P0758 sets. DTC P0758 is a type A DTC.

Conditions for Running the DTC

    • The system voltage is 9-18 volts.
    • The engine speed is greater than 500 RPM for 5 seconds and not in fuel shut off.

Conditions for Setting the DTC

DTC P0758 sets when one of the following conditions occurs for 5 seconds:

Condition 1

The PCM commands the solenoid ON and the voltage feedback remains high (B+).

Condition 2

The PCM commands the solenoid OFF and the voltage feedback remains low (0 volts).

Action Taken When the DTC Sets

    • The PCM illuminates the malfunction indicator lamp (MIL).
    • The PCM commands 3rd gear.
    • The PCM commands maximum line pressure.
    • The PCM inhibits TCC.
    • The PCM freezes shift adapts.
    • The PCM records the operating conditions when the Conditions for Setting the DTC are met. The PCM stores this information as Freeze Frame and Failure Records.
    • The PCM stores DTC P0758 in PCM history.

Conditions for Clearing the MIL/DTC

    • The PCM turns OFF the MIL during the third consecutive trip in which the diagnostic test runs and passes.
    • A scan tool can clear the MIL/DTC.
    • The PCM clears the DTC from the PCM history if the vehicle completes 40 consecutive warm-up cycles without an emission-related diagnostic fault occurring.
    • The PCM cancels the DTC default actions when the fault no longer exists and the ignition switch is OFF long enough in order to power down the PCM.

Diagnostic Aids

    • Inspect the connectors at the controller, the component and all other circuit connecting points for an intermittent condition. Refer to Testing for Intermittent Conditions and Poor Connections in Wiring Systems.
    • Inspect the circuit wiring for an intermittent condition. Refer to Testing for Electrical Intermittents in Wiring Systems.
    • Using a Scan Tool , ensure that the solenoid state and gear ratio are correct for each gear. Refer to the Shift Solenoid Valve State and Gear Ratio table.
    • Ensure the wiring harness is not stretched too tightly or other components are pressing on the A/T inline 20-way connector body. Also inspect for proper clearance to any other components and wiring. Refer to Intermittent Conditions in Engine Controls - 3.4L or Intermittent Conditions in Engine Controls - 3.8L.

Test Description

The numbers below refer to the step numbers on the diagnostic table.

  1. A short to ground in the power feed circuit to the solenoid ahead of the splice would open the fuse and set DTCs for other solenoids on the same circuit. An open in the same circuit would not open the fuse but, would set the other DTCs.

DTC P0758 2-3 Shift Solenoid Circuit Electrical

Step

Action

Value(s)

Yes

No

1

Did you perform the Powertrain Diagnostic System Check?

--

Go to Step 2

Go to Powertrain On Board Diagnostic (OBD) System Check (3.4 L) or Powertrain On Board Diagnostic (OBD) System Check (3.8 L) in Engine Controls

2

  1. Install a Scan Tool .
  2. Turn ON the ignition with the engine OFF.
  3. Important: Before clearing the DTCs, use the Scan Tool in order to record the Freeze Frame and Failure Records for reference. Using the Clear Info function will erase the stored Freeze Frame and Failure Records from the PCM.

  4. Record the Freeze Frame and Failure Records.
  5. Clear the DTCs.

Are DTCs P0753 or P1860 also set?

--

Go to Step 3

Go to Step 9

3

  1. Inspect the fuse for an open.
  2. Replace the fuse if necessary.

Was the fuse open?

--

Go to Step 4

Go to Step 7

4

Important: The condition that affects this circuit may exist in other connecting branches of the circuit. Refer to Power Distribution Schematics in Wiring Systems for complete circuit distribution.

Test the power feed circuit (CKT 839) of the 2-3 SS valve for a short to ground between the fuse block and the AT inline 20-way connector.

Refer to Circuit Testing and Wiring Repairs in Wiring Systems.

Did you find and correct the condition?

--

Go to Step 19

Go to Step 5

5

  1. Disconnect the AT wiring harness from the 1-2, 3-4 SS, the 2-3 SS and the TCC PWM solenoid.
  2. Important: The condition that affects this circuit may exist in other connecting branches of the circuit. Refer to Power Distribution Schematics in Wiring Systems for complete circuit distribution.

  3. Test the power feed circuit (CKT 839) of the 2-3 SS valve for a short to ground between the AT inline 20-way connector and the solenoid.
  4. Refer to Circuit Testing and Wiring Repairs in Wiring Systems.

Did you find the condition?

--

Go to Step 16

Go to Step 6

6

  1. Test each solenoid (1-2, 3-4 SS, 2-3 SS and TCC PWM) for a short to ground between the power feed side of the solenoid and the transmission case.
  2. Replace any faulty solenoid.

Did you complete the replacement?

--

Go to Step 19

--

7

Test the power feed circuit (CKT 839) of the 2-3 SS valve for an open between the fuse block and the AT inline 20-way connector.

Refer to Circuit Testing and Wiring Repairs in Wiring Systems.

Did you find and correct the condition?

--

Go to Step 19

Go to Step 8

8

Test the power feed circuit (CKT 839) of the 2-3 SS valve for an open between the AT inline 20-way connector and the solenoid.

Refer to Circuit Testing and Wiring Repairs in Wiring Systems.

Did you find the condition?

--

Go to Step 16

Go to Diagnostic Aids

9

  1. Turn OFF the ignition.
  2. Disconnect the AT inline 20-way harness connector (additional DTCs may set).
  3. Install the J 44152 jumper harness on the engine side of the AT inline 20-way connector.
  4. Using the J 35616 connector test adapter kit, connect a test lamp from terminal B to terminal E of the J 44152 jumper harness.
  5. Refer to Automatic Transmission Inline Harness Connector End View .

  6. Turn ON the ignition with the engine OFF.
  7. Using a Scan Tool , command the 2-3 SS valve ON and OFF three times.

Does the test lamp turn ON and OFF?

--

Go to Step 12

Go to Step 10

10

Test the power feed circuit (CKT 839) of the 2-3 SS valve for an open between the fuse block and the AT inline 20-way connector.

Refer to Circuit Testing and Wiring Repairs in Wiring Systems.

Did you find and correct the condition?

--

Go to Step 19

Go to Step 11

11

Test the control circuit (CKT 1223) of the 2-3 SS valve for an open, a short to ground or a short to power between the PCM and the AT inline 20-way connector.

Refer to Circuit Testing and Wiring Repairs in Wiring Systems.

Did you find and correct the condition?

--

Go to Step 19

Go to Step 18

12

  1. Install the J 44152 jumper harness on the transmission side of the AT inline 20-way connector.
  2. Using a J 39200 digital multimeter (DMM), measure the resistance between terminals B and E of the J 44152 jumper harness.
  3. Refer to Automatic Transmission Inline Harness Connector End View .

Does the resistance measure within the specified range?

19-31 ohms

Go to Step 13

Go to Step 15

13

Measure the resistance from terminal B and terminal E to the transmission case.

Are both readings greater than the specified value?

10 K ohms

Go to Diagnostic Aids

Go to Step 14

14

  1. Disconnect the harness at the solenoid.
  2. Measure the resistance from each of the component's terminals to the transmission case.

Are both readings greater than the specified value?

10 K ohms

Go to Step 16

Go to Step 17

15

  1. Disconnect the harness from the 2-3 SS valve.
  2. Measure the resistance of the solenoid.

Is the resistance within the specified range?

19-31 ohms

Go to Step 16

Go to Step 17

16

Replace the AT wiring harness assembly.

Refer to Solenoids and Wiring Harness Replacement .

Did you complete the replacement?

--

Go to Step 19

--

17

Replace the 2-3 SS valve.

Refer to 2-3 Shift Solenoid Valve Replacement .

Did you complete the replacement?

--

Go to Step 19

--

18

Replace the PCM.

Refer to Powertrain Control Module Replacement/Programming (3.4 L) or Powertrain Control Module Replacement/Programming (3.8 L) in Engine Controls.

Did you complete the replacement?

--

Go to Step 19

--

19

Perform the following procedure in order to verify the repair:

  1. Select DTC.
  2. Select Clear Info.
  3. Drive the vehicle in D4 until the transmission shifts into at least 3rd gear and maintain speed for at least 5 seconds.
  4. Ensure that the gear ratio values are correct.
  5. Select Specific DTC.
  6. Enter DTC P0758.

Has the test run and passed?

1st: 2.87:1 to 2.97:1

2nd: 1.52:1 to 1.62:1

3rd: 0.95:1 to 1.05:1

4th: 0.65:1 to 0.75:1

System OK

Go to Step 1