GM Service Manual Online
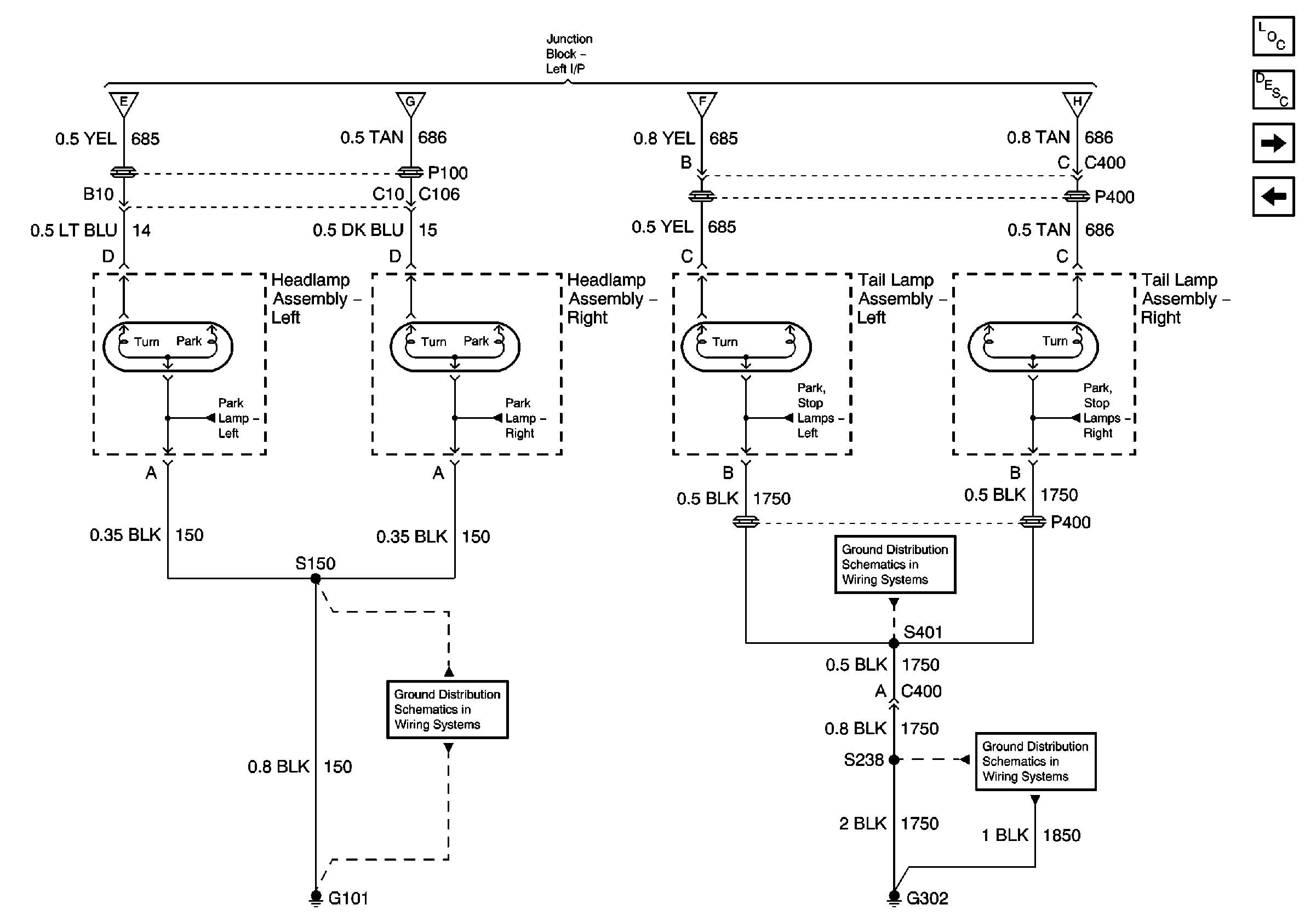
For 1990-2009 cars only
Figure 1:

Park Lamps (Impala)


Object Number: 699067  Size: FS
Master Electrical Component List
Exterior Lighting Systems Description and Operation
Stop Lamps (Impala w/o 9C1/9C3/9C6)
B/U LAMP, DIC/RKE, FRT PARK LP, IP BRP, PWR DROP, REAR PARK LP, RTHTD ST, RT IP#1, and TRK/ROOF BRP Fuses, PWR SEATS Circuit Breaker, BACKUP LP, BATT RUNDOWN PROTECTION, and PARK LP Relays
B/U LAMP, DIC/RKE, FRT PARK LP, IP BRP, PWR DROP, REAR PARK LP, RTHTD ST, RT IP#1, and TRK/ROOF BRP Fuses, PWR SEATS Circuit Breaker, BACKUP LP, BATT RUNDOWN PROTECTION, and PARK LP Relays
Compressor Control
G203 (1 of 3)
G302 (2 of 2) and G309
G302 (1 of 2)
G101
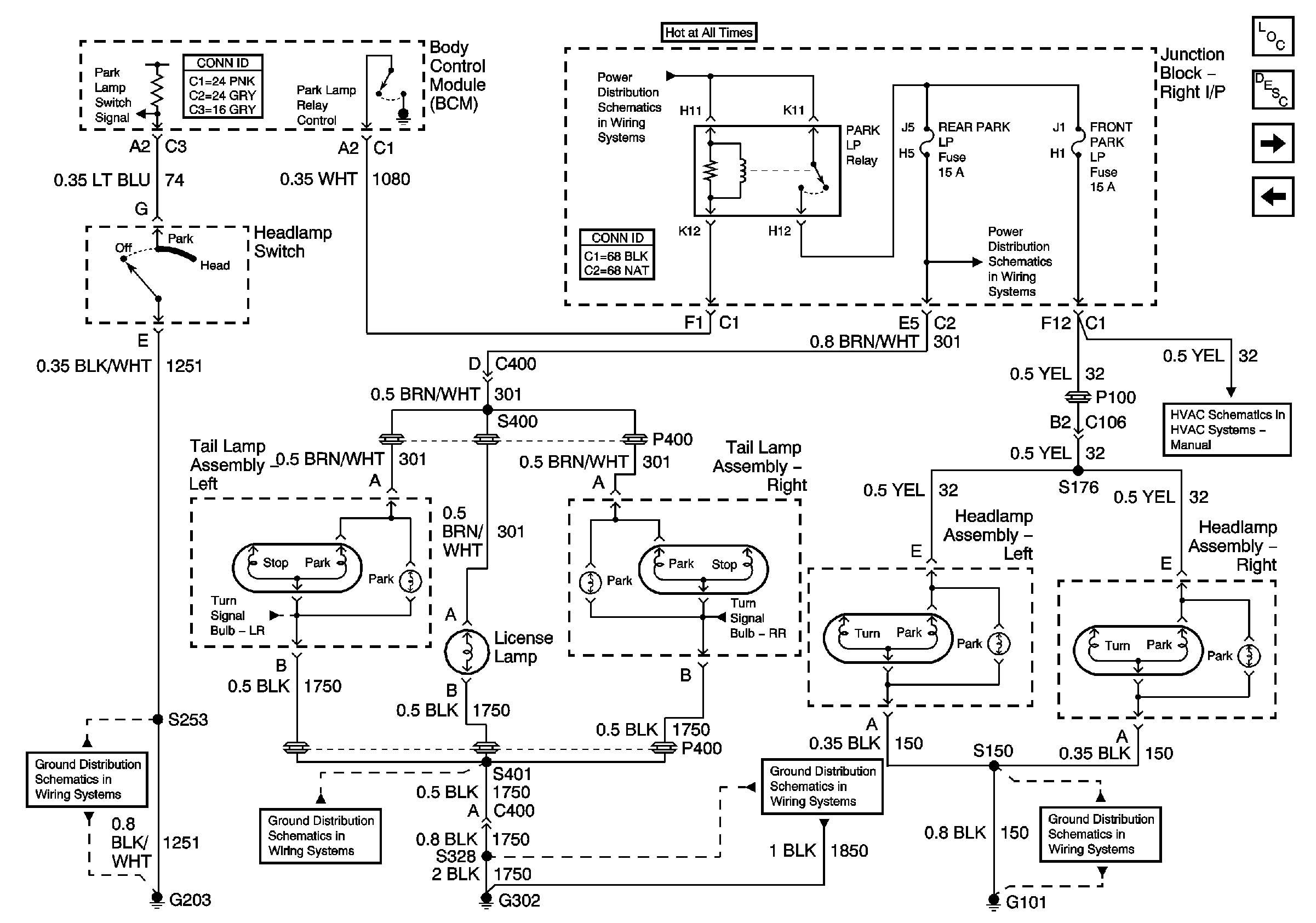
Figure 2:

Stop Lamps (Impala w/o 9C1/9C3/9C6)


Object Number: 699072  Size: FS
Master Electrical Component List
Exterior Lighting Systems Description and Operation
Stop Lamps (Impala w/9C1/9C3/9C6)
Park Lamps (Impala)
AUX PWR, BRK SW, C/LTR, FRT PARK LP, HAZ SW, HVAC BLO, PWR DROP, and RT I/P#2 Fuses
Indicator, and Lamp Control
Rear Turn/Hazard Lamps, and Turn Lamps Control (Impala)
Impala
PCM and Stoplamps Switch
G302 (2 of 2) and G309
G302 (2 of 2) and G309
G302 (1 of 2)
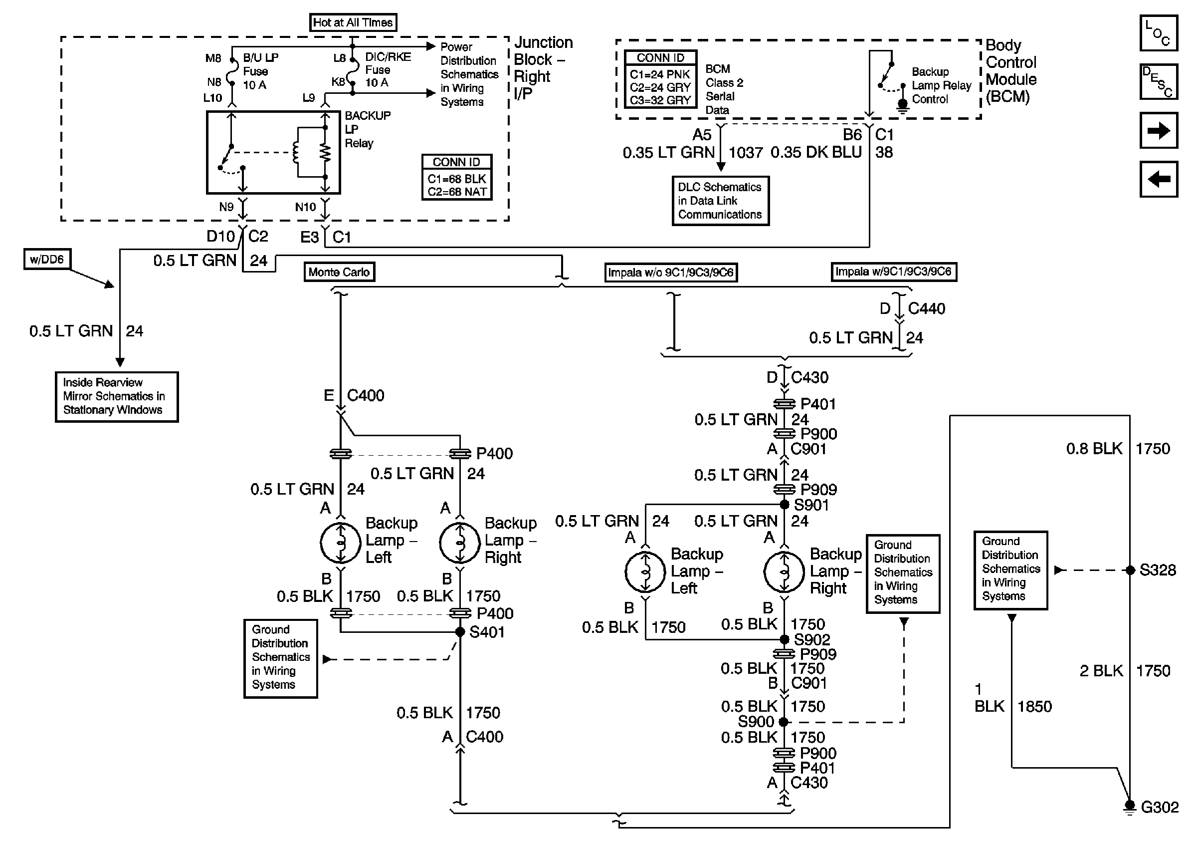
Figure 3:

Stop Lamps (Impala w/9C1/9C3/9C6)


Object Number: 750471  Size: FS
Master Electrical Component List
Exterior Lighting Systems Description and Operation
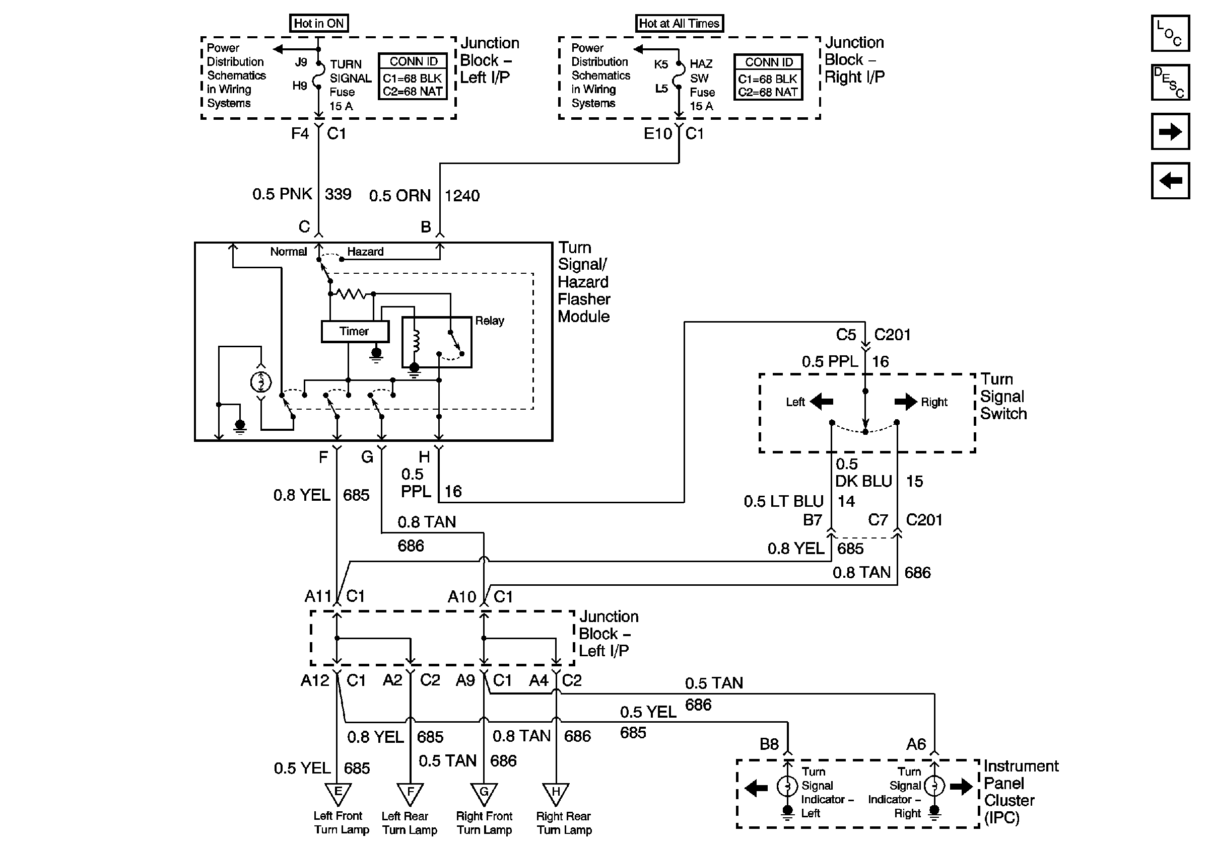
Rear Turn/Hazard Lamps, and Turn Lamps Control (Impala)
Stop Lamps (Impala w/o 9C1/9C3/9C6)
AUX PWR, BRK SW, C/LTR, FRT PARK LP, HAZ SW, HVAC BLO, PWR DROP, and RT I/P#2 Fuses
Rear Turn/Hazard Lamps, and Turn Lamps Control (Impala)
Rear Turn/Hazard Lamps, and Turn Lamps Control (Impala)
Impala
PCM and Stoplamps Switch
G302 (2 of 2) and G309
G302 (1 of 2)
G302 (2 of 2) and G309
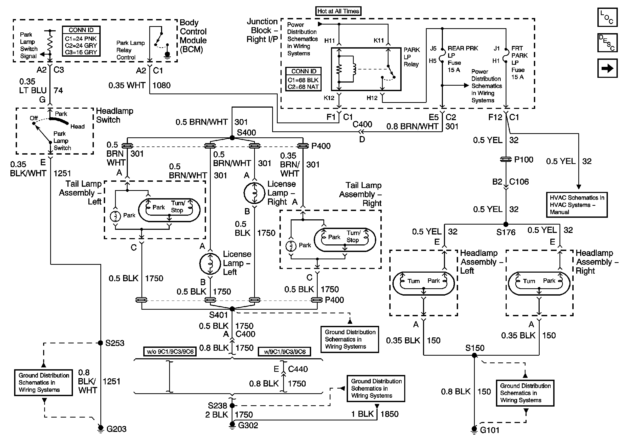
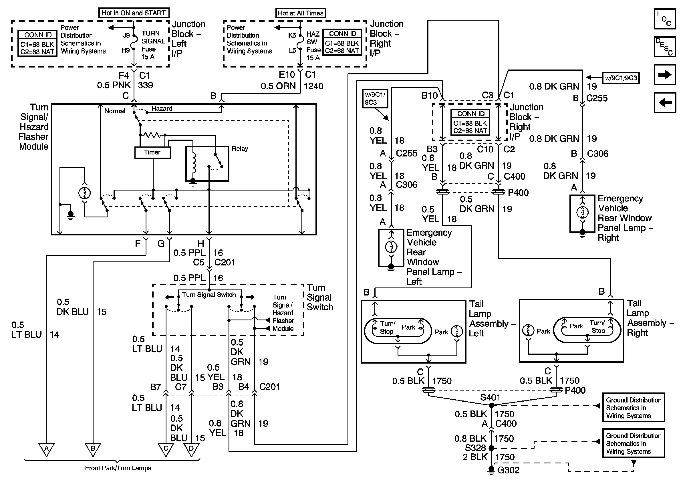
Figure 4:

Rear Turn/Hazard Lamps, and Turn Lamps Control (Impala)


Object Number: 699069  Size: FS
Master Electrical Component List
Wiper/Washer System Description and Operation
Front Park, Turn/Hazard Lamps (Impala)
Stop Lamps (Impala w/9C1/9C3/9C6)
ABS/PCM, SRS, STOP, and TURN SIGNAL Fuses
AUX PWR, BRK SW, C/LTR, FRT PARK LP, HAZ SW, HVAC BLO, PWR DROP, and RT I/P#2 Fuses
Stop Lamps (Impala w/o 9C1/9C3/9C6)
G302 (2 of 2) and G309
G302 (1 of 2)
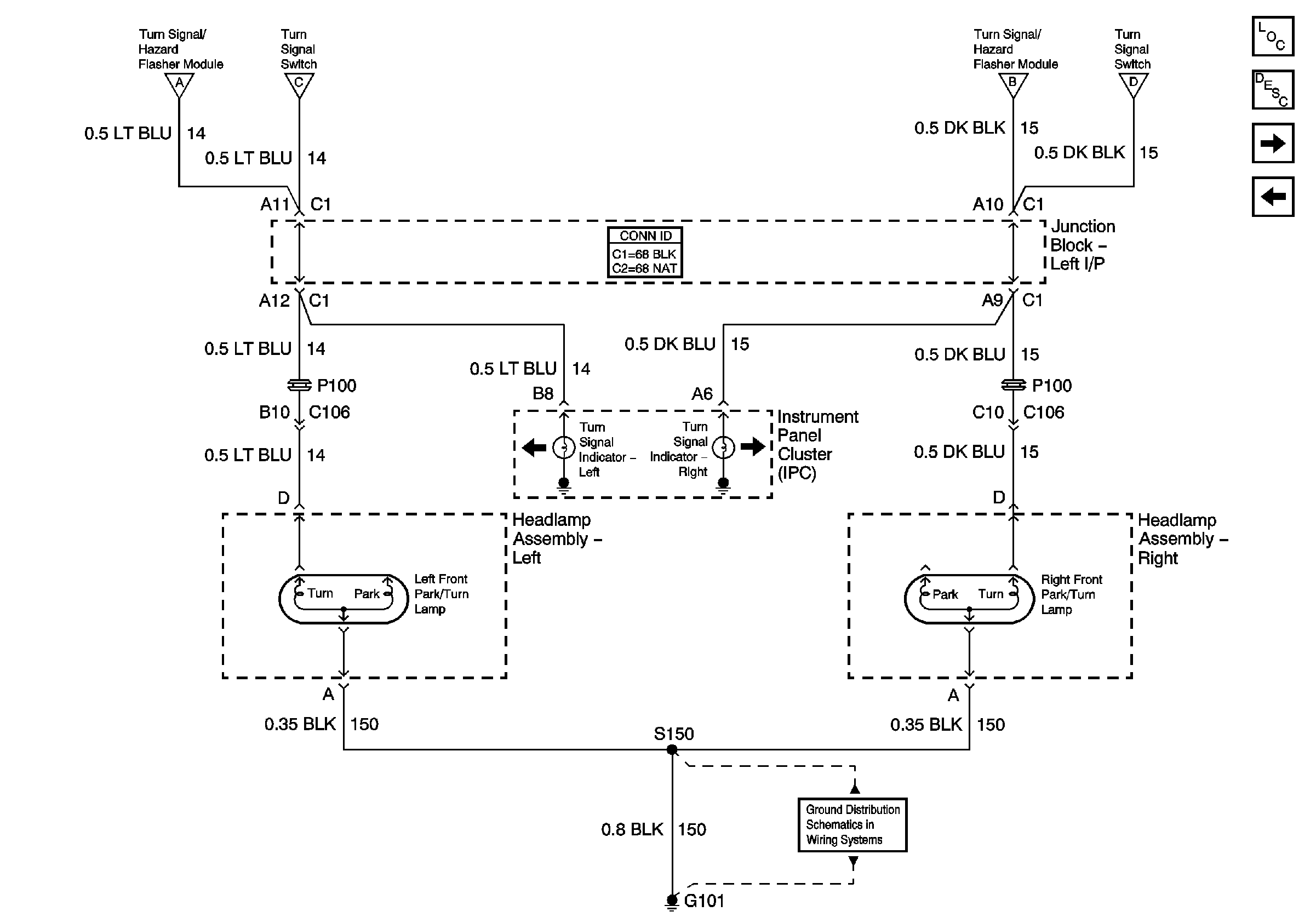
Figure 5:

Front Park, Turn/Hazard Lamps (Impala)


Object Number: 699070  Size: FS
Master Electrical Component List
Exterior Lighting Systems Description and Operation
Park Lamps (Monte Carlo)
Rear Turn/Hazard Lamps, and Turn Lamps Control (Impala)
Rear Turn/Hazard Lamps, and Turn Lamps Control (Impala)
Rear Turn/Hazard Lamps, and Turn Lamps Control (Impala)
Rear Turn/Hazard Lamps, and Turn Lamps Control (Impala)
Rear Turn/Hazard Lamps, and Turn Lamps Control (Impala)
G101
Figure 6:

Park Lamps (Monte Carlo)


Object Number: 699074  Size: FS
Master Electrical Component List
Exterior Lighting Systems Description and Operation
Stoplamps (Monte Carlo)
Front Park, Turn/Hazard Lamps (Impala)
B/U LAMP, DIC/RKE, FRT PARK LP, IP BRP, PWR DROP, REAR PARK LP, RTHTD ST, RT IP#1, and TRK/ROOF BRP Fuses, PWR SEATS Circuit Breaker, BACKUP LP, BATT RUNDOWN PROTECTION, and PARK LP Relays
Compressor Control
Turn Lamps (Monte Carlo)
Turn Lamps (Monte Carlo)
G203 (1 of 3)
G302 (2 of 2) and G309
G302 (1 of 2)
G101
Figure 7:

Stop Lamps (Monte Carlo)


Object Number: 699076  Size: FS
Master Electrical Component List
Exterior Lighting Systems Description and Operation
Turn/Hazard Lamps Control (Monte Carlo)
Park Lamps (Monte Carlo)
AUX PWR, BRK SW, C/LTR, FRT PARK LP, HAZ SW, HVAC BLO, PWR DROP, and RT I/P#2 Fuses
Monte Carlo
PCM and Stoplamps Switch
G302 (1 of 2)
G302 (2 of 2) and G309
Figure 8:

Turn/Hazard Lamps Control (Monte Carlo)


Object Number: 699073  Size: FS
Master Electrical Component List
Exterior Lighting Systems Description and Operation
Turn Lamps (Monte Carlo)
Stoplamps (Monte Carlo)
ABS/PCM, SRS, STOP, and TURN SIGNAL Fuses
AUX PWR, BRK SW, C/LTR, FRT PARK LP, HAZ SW, HVAC BLO, PWR DROP, and RT I/P#2 Fuses
Turn Lamps (Monte Carlo)
Turn Lamps (Monte Carlo)
Turn Lamps (Monte Carlo)
Turn Lamps (Monte Carlo)
Figure 9:

Turn Lamps (Monte Carlo)


Object Number: 699078  Size: FS
Master Electrical Component List
Exterior Lighting Systems Description and Operation
Backup Lamps
Turn/Hazard Lamps Control (Monte Carlo)
Turn/Hazard Lamps Control (Monte Carlo)
Turn/Hazard Lamps Control (Monte Carlo)
Turn/Hazard Lamps Control (Monte Carlo)
Turn/Hazard Lamps Control (Monte Carlo)
Park Lamps (Monte Carlo)
Park Lamps (Monte Carlo)
Park Lamps (Monte Carlo)
Park Lamps (Monte Carlo)
G101
G302 (2 of 2) and G309
G302 (1 of 2)
Figure 10:

Backup Lamps


Object Number: 699079  Size: FS
Master Electrical Component List
Exterior Lighting Systems Description and Operation
Emergency Vehicle Rear Compartment Lid Lamps, and Spot Lamps
Turn Lamps (Monte Carlo)
B/U LAMP, DIC/RKE, FRT PARK LP, IP BRP, PWR DROP, REAR PARK LP, RTHTD ST, RT IP#1, and TRK/ROOF BRP Fuses, PWR SEATS Circuit Breaker, BACKUP LP, BATT RUNDOWN PROTECTION, and PARK LP Relays
1/1
G302 (2 of 2) and G309
G302 (1 of 2)
G302 (2 of 2) and G309
DLC Schematics
Figure 11:

Emergency Vehicle Rear Compartment Lid Lamps, and Spot Lamps


Object Number: 699976  Size: FS
Master Electrical Component List
Exterior Lighting Systems Description and Operation
Backup Lamps
Decklid Release (W/Entrapment Protection)
B/U LAMP, DIC/RKE, FRT PARK LP, IP BRP, PWR DROP, REAR PARK LP, RTHTD ST, RT IP#1, and TRK/ROOF BRP Fuses, PWR SEATS Circuit Breaker, BACKUP LP, BATT RUNDOWN PROTECTION, and PARK LP Relays
DIC/RKE, IP BRP, and TRK/ROOF BRP Fuses, BACKUP LP and BATT RUNDOWN PROTECTION Relays
G302 (2 of 2) and G309
G302 (1 of 2)