GM Service Manual Online
For 1990-2009 cars only
Makes
🢒
Chevrolet
🢒
2005
🢒
Impala
🢒
Engine
🢒
Engine Controls - 3.8L (L36 and L67)
🢒 Instrument Cluster Schematics
Figure
1:
DLC, Ground, Odometer/PRNDL, Power, and VSS
Master Electrical Component List
Instrument Cluster Description and Operation
Gages, Illumination, and Indicators
CLSTR/BCM, DR LK, LEFT IP, LH HTD ST/BCM and PWR MIR Fuses, RETAINED ACCSRY PWR BRKR Circuit Breaker, and RETAINED ACCSRY PWR Relay
A/C/CRUISE, CRUISE, PCM/BCM/CLSTR, and PCM (CRANK) Fuses
CLSTR/BCM, DR LK, LEFT IP, LH HTD ST/BCM and PWR MIR Fuses, RETAINED ACCSRY PWR BRKR Circuit Breaker, and RETAINED ACCSRY PWR Relay
Courtesy Lamps Control and I/P
DLC
G203 - 1 of 3
Figure
2:
Gages, Illumination, and Indicators
Master Electrical Component List
Instrument Cluster Description and Operation
Message Center
DLC, Ground, Odometer/PRNDL, and VSS
DLC
Front Park and Turn/Hazard Lamps (Impala)
Turn/Hazard Lamps Control (Monte Carlo)
Front Park and Turn/Hazard Lamps (Impala)
Turn/Hazard Lamps Control (Monte Carlo)
I/P
EVAP and FTP
Boost Control Solenoid, EVAP, and FTP
G201 - 2 of 2
G201 - 1 of 2
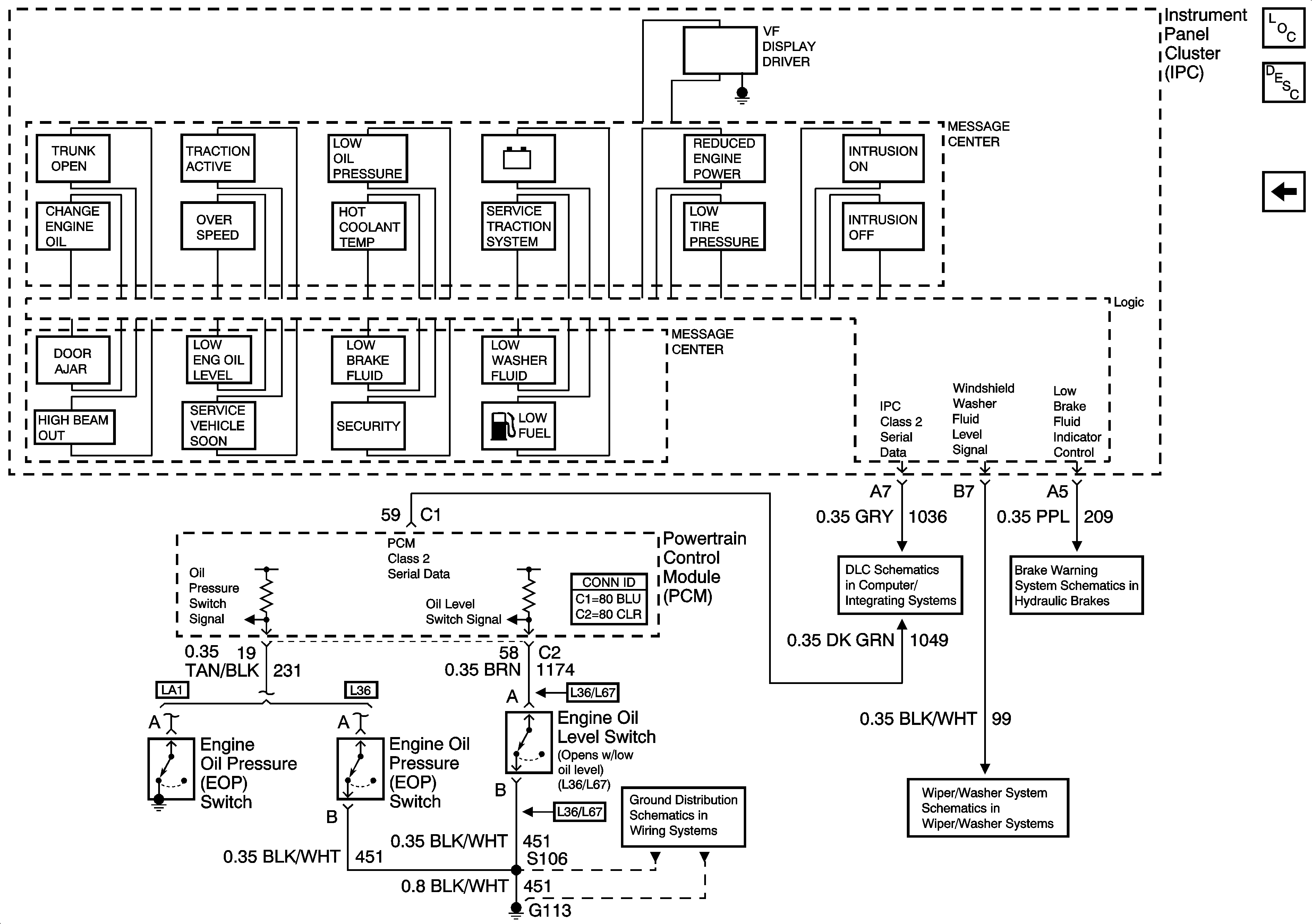
Figure
3:
Message Center
Master Electrical Component List
Instrument Cluster Description and Operation
Gages, Illumination, and Indicators
G113 - 2 of 2
DLC
Brake Warning System
Wiper/Washer System