GM Service Manual Online
For 1990-2009 cars only
Makes
🢒
Chevrolet
🢒
2005
🢒
Impala
🢒
Vehicle Control Systems
🢒
Vehicle DTC Information
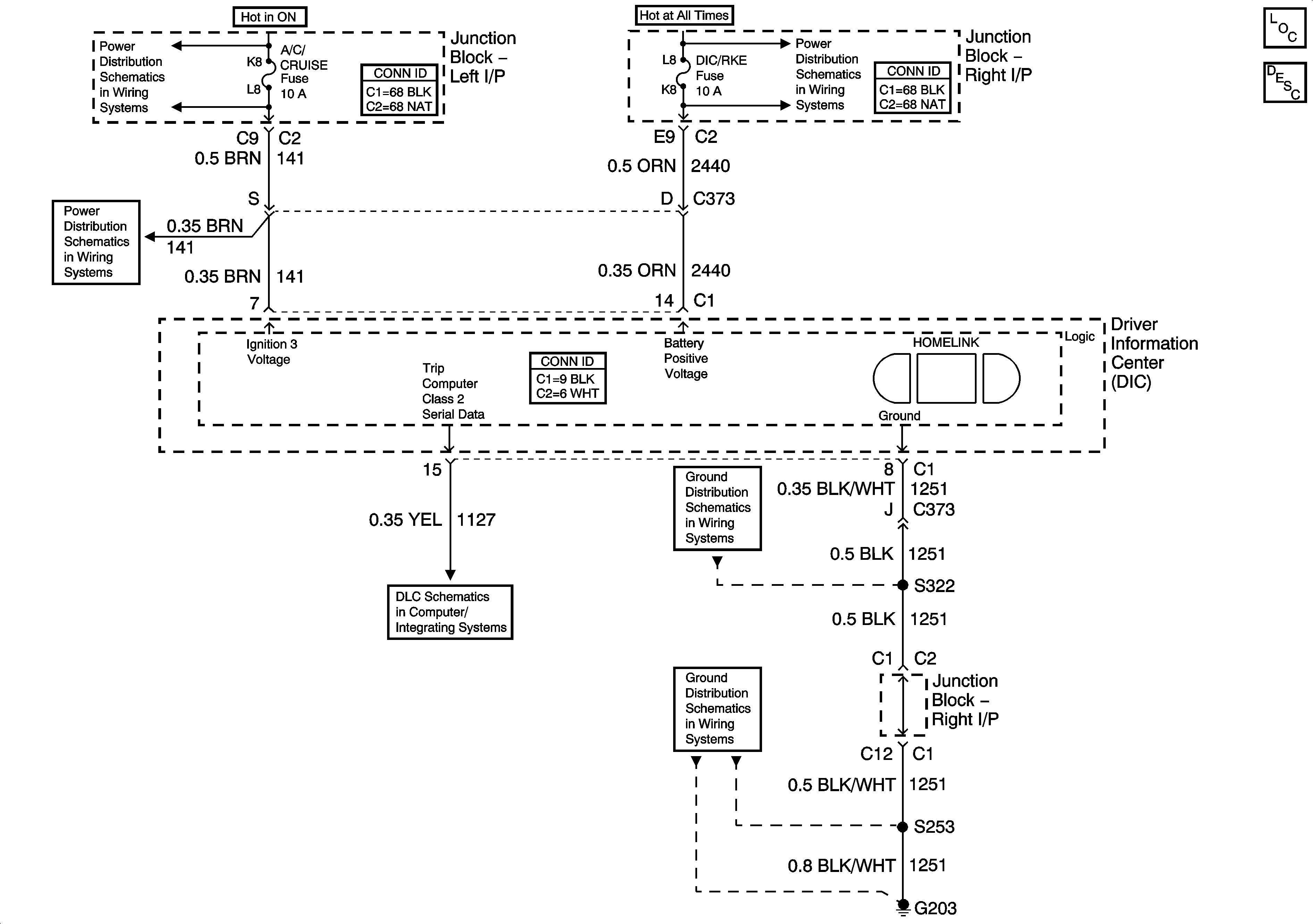
🢒 Garage Door Opener Schematics
Master Electrical Component List
Garage Door Opener Description and Operation
A/C/CRUISE, CRUISE, PCM/BCM/CLSTR, and PCM (CRANK) Fuses
A/C/CRUISE, CRUISE, PCM/BCM/CLSTR, and PCM (CRANK) Fuses
B/U LP, DIC/RKE, PWR DROP and RT HTD ST Fuses, PWR SEATS BRKR Circuit Breaker
DLC
G203 - 2 of 3
G203 - 1 of 3