GM Service Manual Online
For 1990-2009 cars only
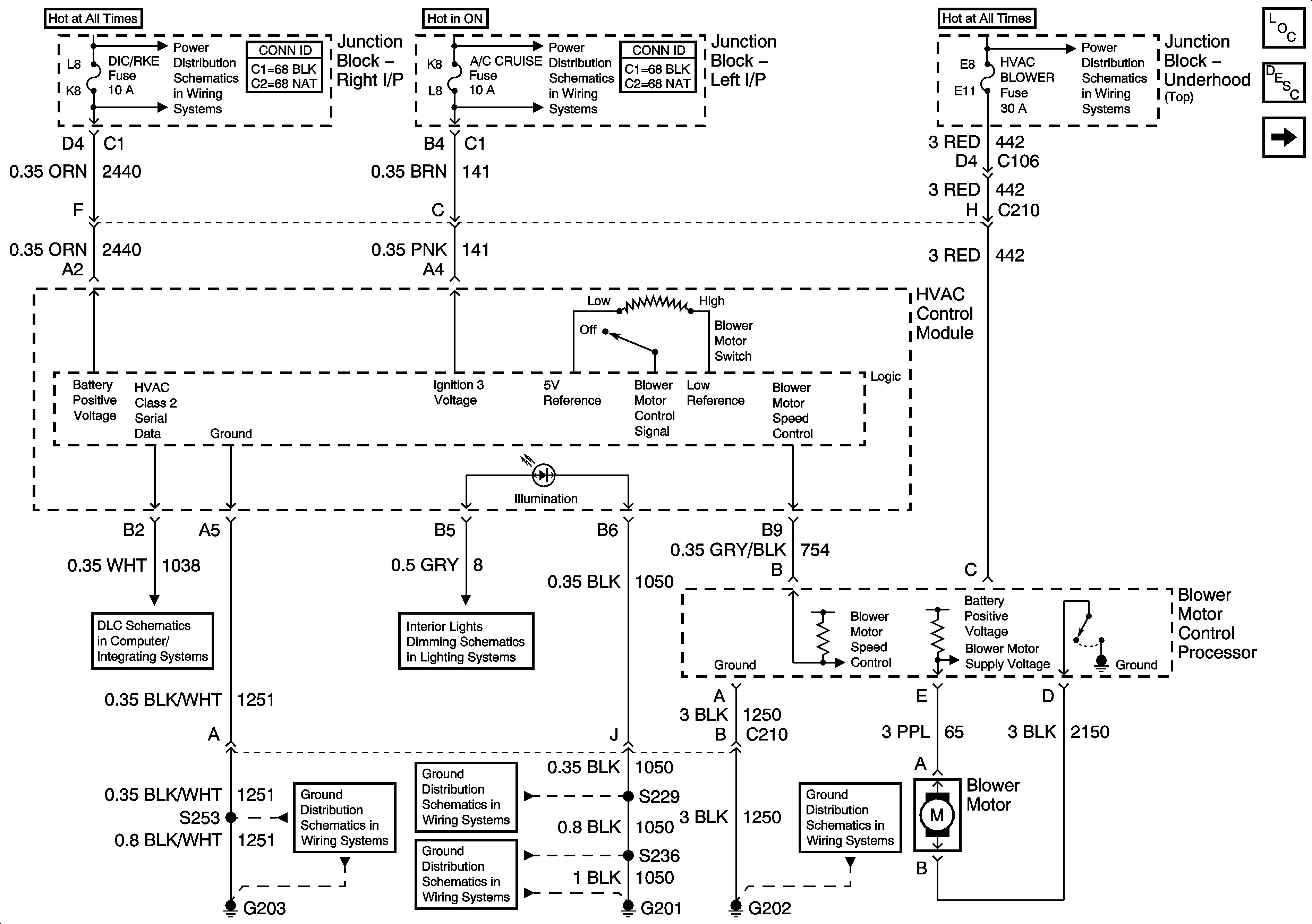
Figure 1:

Power, Ground, and Blower Motor Controls


Object Number: 1551437  Size: FS
Master Electrical Component List
Air Delivery Description and Operation
A/C Compressor Controls
B/U LP, DIC/RKE, PWR DROP and RT HTD ST Fuses, PWR SEATS BRKR Circuit Breaker
A/C/CRUISE, CRUISE, PCM/BCM/CLSTR, and PCM (CRANK) Fuses
A/C RLY (CMPR), BCM, CIG/AUS, EXT LTS, IGN SW, PCM, HVAC BLOWER, and WSW Fuses
DLC
I/P
G203 - 1 of 3
G201 - 2 of 2
G201 - 1 of 2
G202
Figure 2:

A/C Compressor Controls


Object Number: 1243988  Size: FS
Master Electrical Component List
Air Delivery Description and Operation
Mode, and Temperature Control
Power, Ground, and Blower Motor Control
Junction Block - Underhood (Top) Bussing
A/C RLY (CMPR), BCM, CIG/AUS, EXT LTS, IGN SW, PCM, HVAC BLOWER, and WSW Fuses
Junction Block - Underhood (Bottom) Bussing
G100, G111, G113 - 1 of 2, G117, G151, G171
Figure 3:

Mode and Air Temperature Controls


Object Number: 1243991  Size: FS
Master Electrical Component List
Air Temperature Description and Operation
A/C Compressor Controls