GM Service Manual Online
For 1990-2009 cars only
Makes
🢒
Chevrolet
🢒
2005
🢒
Impala
🢒
Vehicle Control Systems
🢒
Vehicle DTC Information
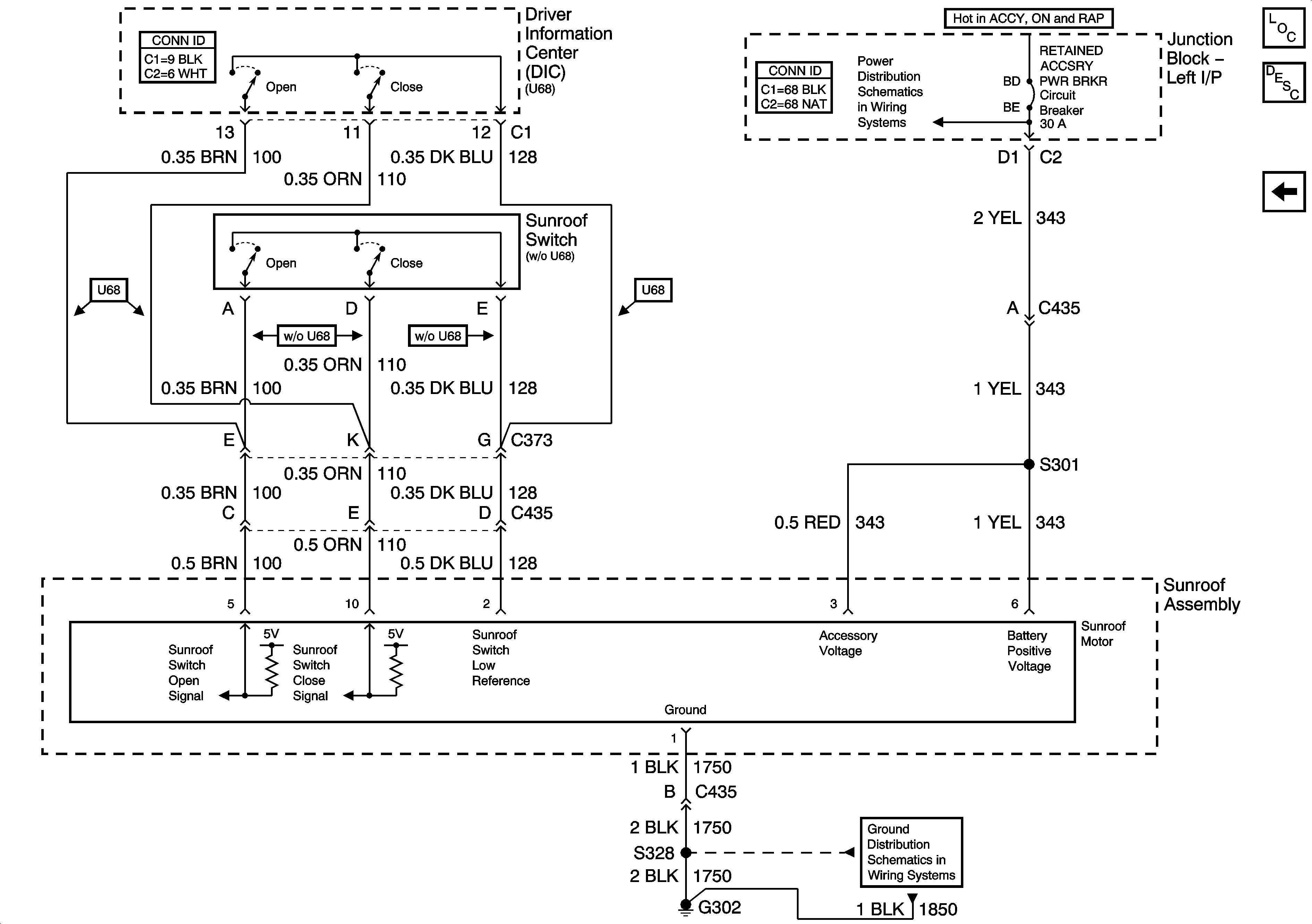
🢒 Sunroof Schematics
Figure
1:
2-Connector System - Early
Master Electrical Component List
Sunroof Description and Operation 2 Connector System
MDIV System - Late
CLSTR/BCM, DR LK, LEFT IP, LH HTD ST/BCM and PWR MIR Fuses, RETAINED ACCSRY PWR BRKR Circuit Breaker, and RETAINED ACCSRY PWR Relay
G302 - 1 of 2
Figure
2:
MDIV System - Late
Master Electrical Component List
Sunroof Description and Operation 1 Connector System
2-Connector System - Early
CLSTR/BCM, DR LK, LEFT IP, LH HTD ST/BCM and PWR MIR Fuses, RETAINED ACCSRY PWR BRKR Circuit Breaker, and RETAINED ACCSRY PWR Relay
G302 - 1 of 2