GM Service Manual Online
For 1990-2009 cars only
Makes
🢒
Chevrolet
🢒
2005
🢒
Impala
🢒
Accessories
🢒
Cellular Communication
🢒 OnStar Schematics
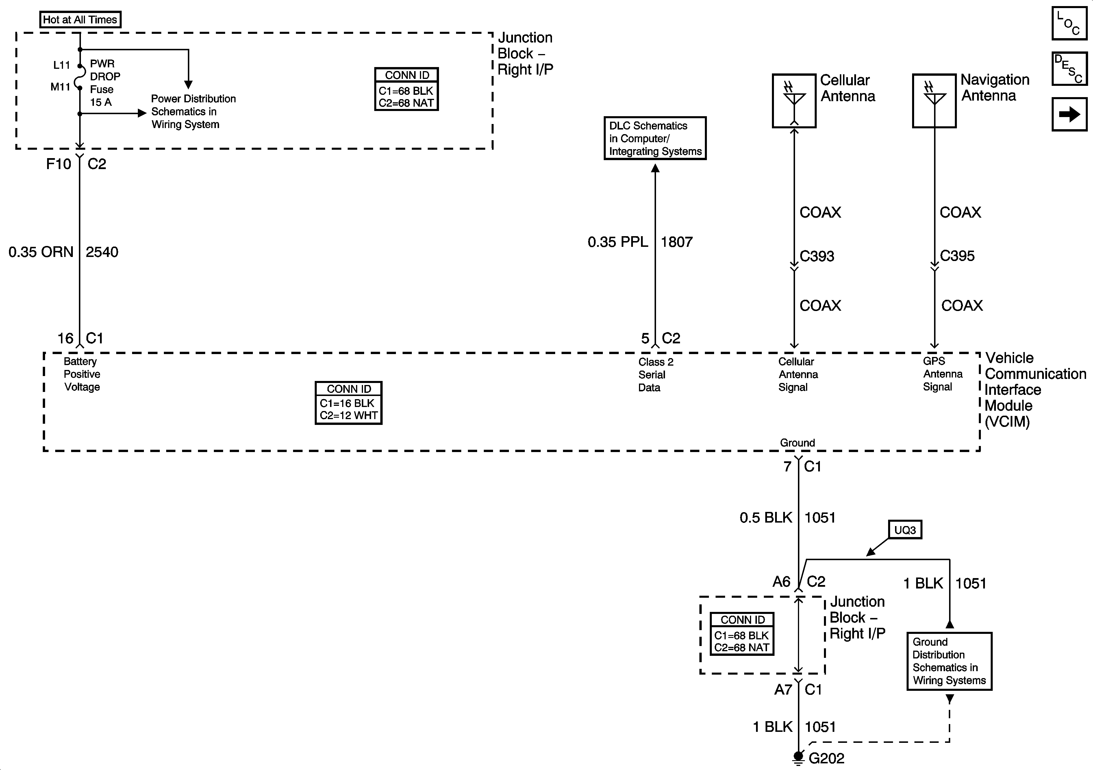
Figure
1:
Antennas, Data Link, Ground, and Power
Master Electrical Component List
OnStar Description and Operation
Audio Communication and Inside Rearview Mirror
B/U LP, DIC/RKE, PWR DROP and RT HTD ST Fuses, PWR SEATS BRKR Circuit Breaker
DLC
G202
Figure
2:
Audio Communication and Inside Rearview Mirror
Master Electrical Component List
OnStar Description and Operation
Antennas, Data Link, and Power
Roof Lighting
Heat Controls (Monte Carlo)
G302 - 1 of 2
Cellular Communication Schematic Icons
Cellular Communication Schematic Icons