GM Service Manual Online
For 1990-2009 cars only
Figure 1:

Monte Carlo


Object Number: 693003  Size: FS
Master Electrical Component List
Cruise Control Description and Operation
Impala
AUX PWR, BRK SW, C/LTR, DRL/EXT LTS, HAZ SW, RT I/P #2, SPOTLAMP-L, and SPOTLAMP-R Fuses, DRL RLY Relay
A/C/CRUISE, CRUISE, PCM/BCM/CLSTR, and PCM (CRANK) Fuses
A/C/CRUISE, CRUISE, PCM/BCM/CLSTR, and PCM (CRANK) Fuses
SIR Caution for Zoning
Stop Lamps (Monte Carlo)
Stop Lamps and Torque Signals
DLC, Ground, Odometer/PRNDL, and VSS
G113 - 2 of 2
Figure 2:

Impala


Object Number: 678937  Size: FS
Master Electrical Component List
Cruise Control Description and Operation
Indicator Control
Monte Carlo
SIR Caution for Zoning
AUX PWR, BRK SW, C/LTR, DRL/EXT LTS, HAZ SW, RT I/P #2, SPOTLAMP-L, and SPOTLAMP-R Fuses, DRL RLY Relay
A/C/CRUISE, CRUISE, PCM/BCM/CLSTR, and PCM (CRANK) Fuses
A/C/CRUISE, CRUISE, PCM/BCM/CLSTR, and PCM (CRANK) Fuses
Stop Lamps Control and CHMSL (Impala)
Monte Carlo
Stop Lamps and Torque Signals
DLC, Ground, Odometer/PRNDL, and VSS
G113 - 2 of 2
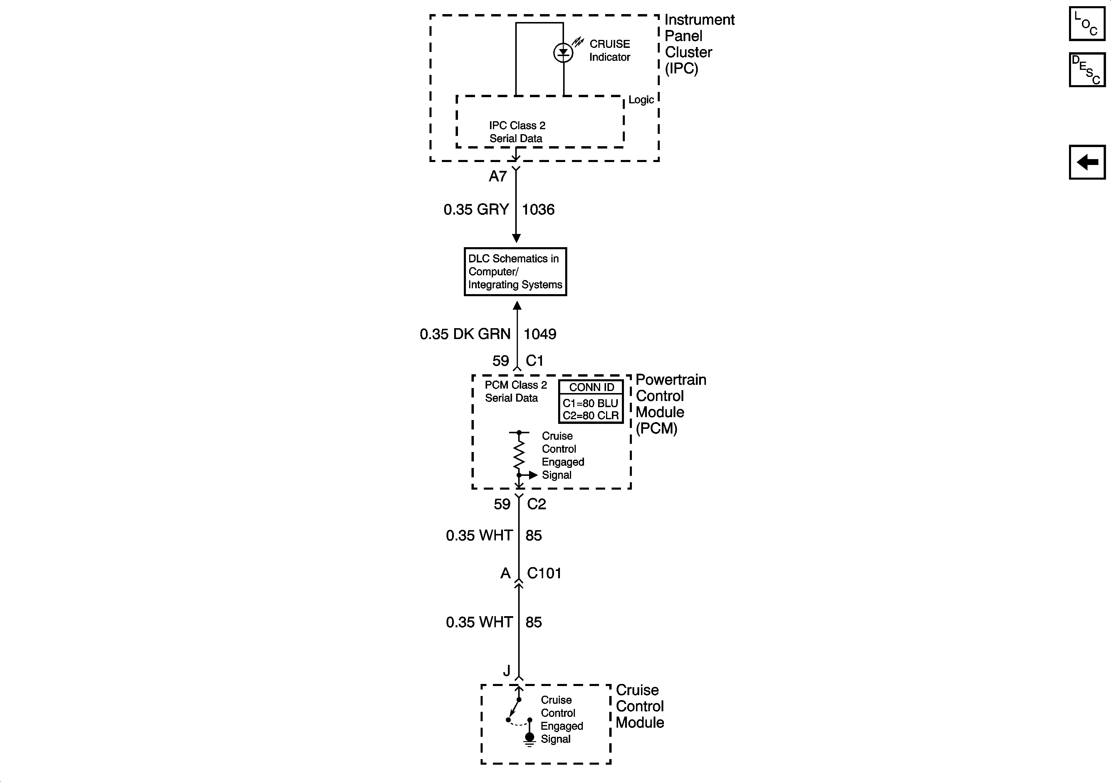
Figure 3:

Indicator Control


Object Number: 1551837  Size: FS
Master Electrical Component List
Cruise Control Description and Operation
Impala
DLC