GM Service Manual Online
For 1990-2009 cars only
Makes
🢒
Chevrolet
🢒
2005
🢒
Impala
🢒 Load Management
Load Management
Load Management
Master Electrical Component List
Load Shed System Description and Operation
Charge Control and Indicator
Junction Block-Underhood [Bottom View]
ABS/PCM, SRS, STOP, and TURN SIGNAL Fuses
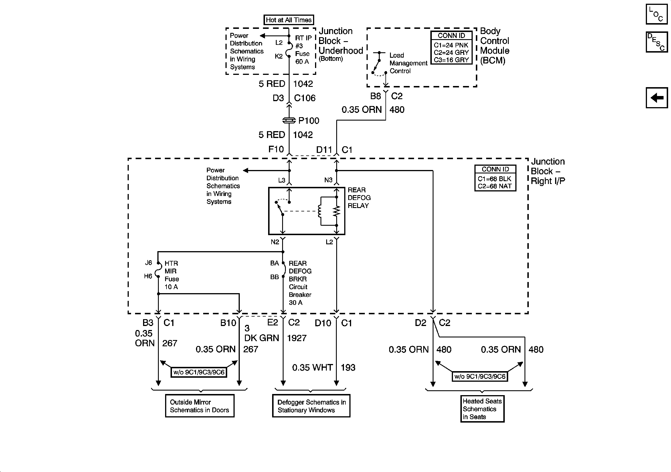
Heated Mirror
Defogger
Driver Seat [Impala]