GM Service Manual Online
For 1990-2009 cars only
Makes
🢒
Chevrolet
🢒
2005
🢒
Impala
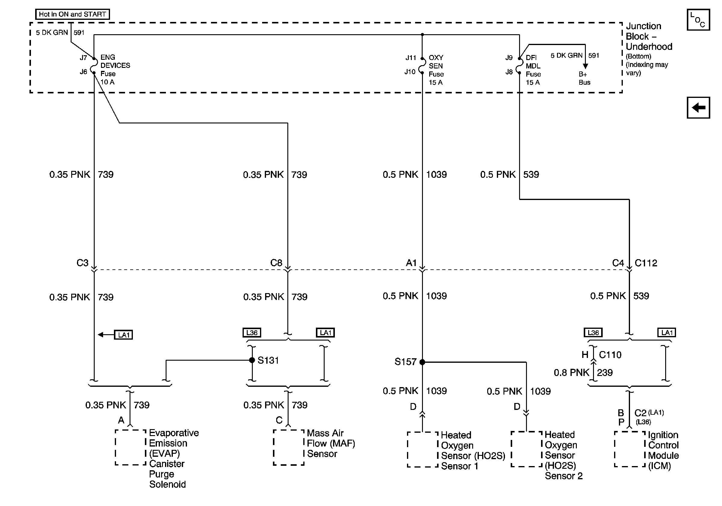
🢒 DFI, MDL, ENG DEVICES, and OXY SEN Fuses
DFI, MDL, ENG DEVICES, and OXY SEN Fuses
DFI MDL, ENG DEVICES, and OXY SEN Fuses
Master Electrical Component List
FUEL INJ, and TRANS SOL Fuses
Junction Block-Underhood [Bottom View]