GM Service Manual Online
For 1990-2009 cars only
Makes
🢒
Chevrolet
🢒
2005
🢒
Impala
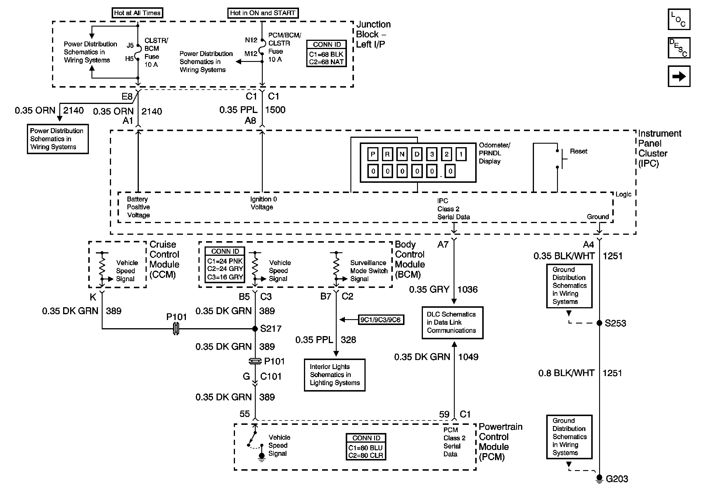
🢒 Ground, Odometer/PRNDL, Power, and VSS
Ground, Odometer/PRNDL, Power, and VSS
Ground, Odometer/PRNDL, Power, and VSS
Master Electrical Component List
Instrument Cluster Description and Operation
Gages, Illumination, and Indicators
CLSTR/BCM, DK LK, LEFT IP, LT HTD ST/BCM, and PWR MIR
CLSTR/BCM, DK LK, LEFT IP, LT HTD ST/BCM, and PWR MIR
A/C Cruise, A/C Fan, CRUISE, PCM/BCM CLSTR, and PCM Fuses
G203 [1 of 3]
G203 [1 of 3]
DLC
Courtesy Lamps Control, and I/P