GM Service Manual Online
For 1990-2009 cars only
Makes
🢒
Chevrolet
🢒
2008
🢒
Kodiak C-Series (Conventional) C6/C7/C8
🢒
Power and Signal Distribution
🢒
Wiring Systems and Power Management
🢒 Upfitter Provision Schematics
Figure
1:
X103 - Upfitter Auxiliary Wiring Connector
Master Electrical Component List
Control Module References
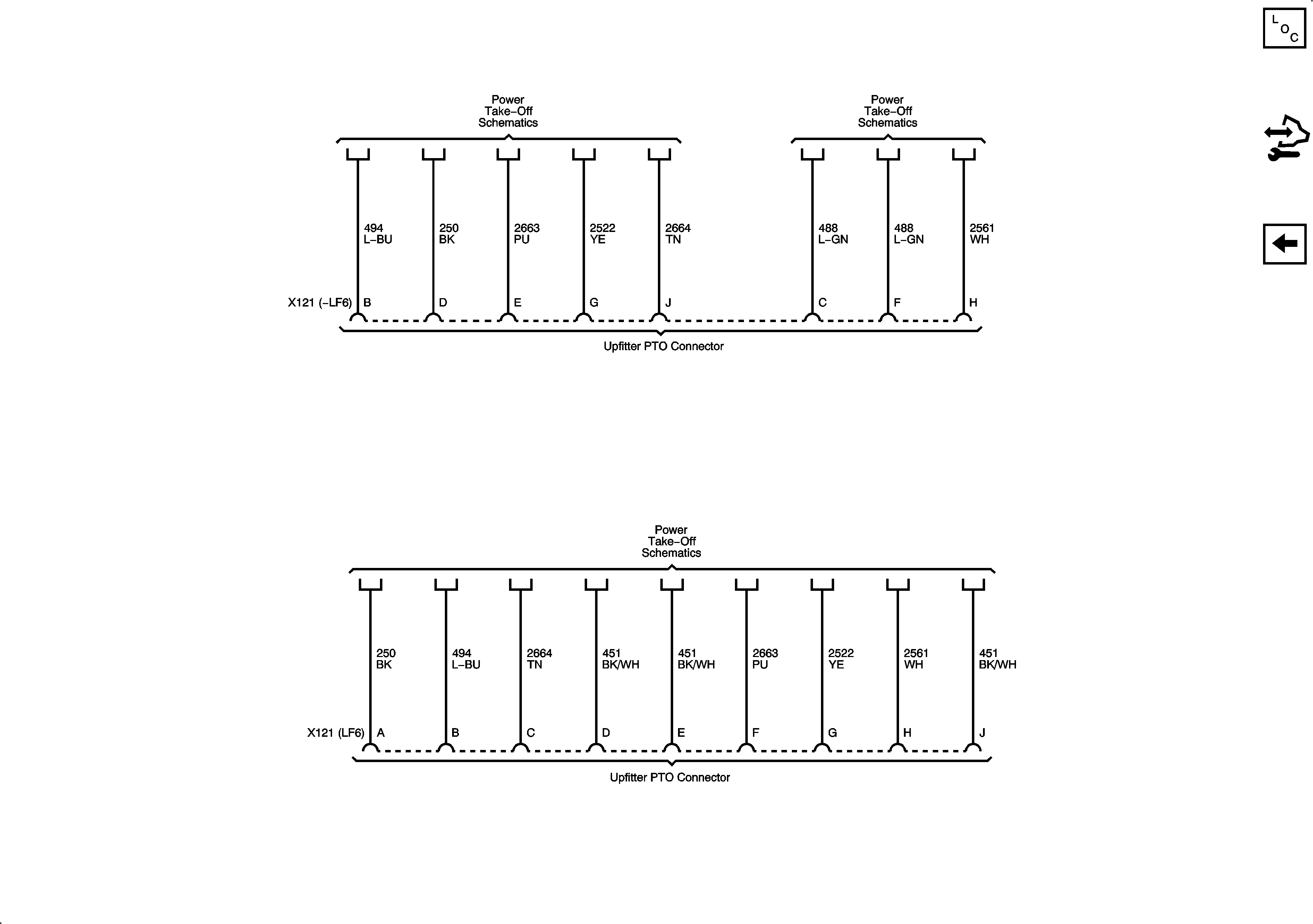
PTO Connectors
C102 - Upfitter TRANS OPT Connector and Internal Mode Switch
Serial Data, Speed Sensor
C305 (Upfitter Lighting Connector)
Figure
2:
PTO Connectors
Master Electrical Component List
Control Module References
X103 - Upfitter Auxiliary Wiring Connector
w/o LF6 2 of 2
LF8/LMM with CTF
w/LF6