GM Service Manual Online
For 1990-2009 cars only
Figure 1:

IPC Power and PCM Outputs


Object Number: 593630  Size: FS
Instrument Panel, Gages, and Console Component Views
Instrument Cluster Circuit Description
IPC ECM, Park Brake, SDM, Brake Fluid Level Switch and Engine Coolant LeVel Indicator Inputs
Fuses 12, 21, 30, 33, 39, 42, ELEK IGN, PCM IGN, F/INJN, TRANS, A/C CONT, AIR PUMP Fuses, IGN SYST Relay
Fuses 12, 21, 30 and 39
Handling ESD Sensitive Parts Notice
Power, Ground, MIL, and DLC
Handling ESD Sensitive Parts Notice
Figure 2:

IPC ECM, Park Brake, SDM, Brake Fluid Level Switch and Engine Coolant Level Indicator Inputs


Object Number: 593634  Size: FS
Instrument Panel, Gages, and Console Component Views
Instrument Cluster Circuit Description
IPC Engine Oil Pressure Indicator, Theft Inputs and PCM MIL Outputs
IPC Power and PCM Outputs
Handling ESD Sensitive Parts Notice
Handling ESD Sensitive Parts Notice
SIR Caution
Handling ESD Sensitive Parts Notice
Handling ESD Sensitive Parts Notice
G201
G117
G117
Figure 3:

IPC Engine Oil Pressure Indicator, Theft Inputs and PCM MIL Outputs


Object Number: 593640  Size: FS
Instrument Panel, Gages, and Console Component Views
Instrument Cluster Circuit Description
LH and RH Turn Indicator, High Beam Indicator and IPC Illumination
IPC ECM, Park Brake, SDM, Brake Fluid Level Switch and Engine Coolant LeVel Indicator Inputs
Handling ESD Sensitive Parts Notice
Handling ESD Sensitive Parts Notice
Handling ESD Sensitive Parts Notice
Handling ESD Sensitive Parts Notice
G113
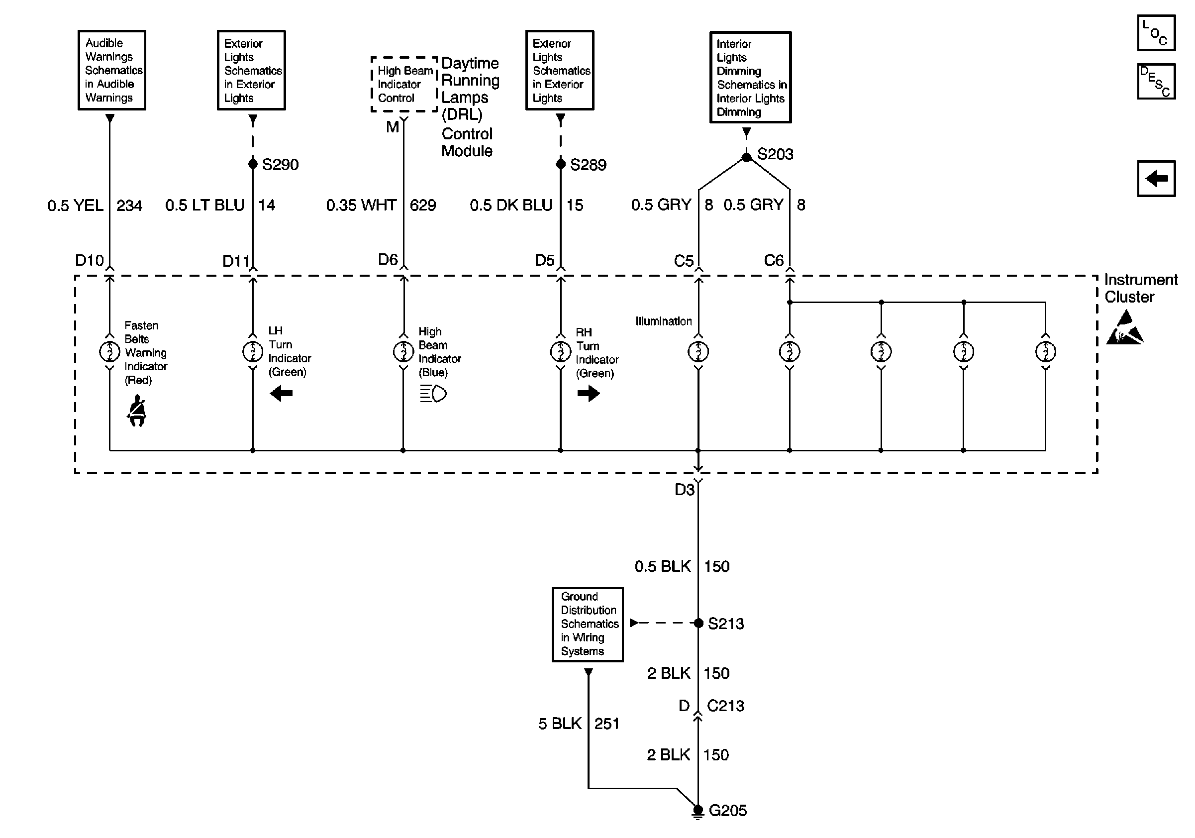
Figure 4:

LH and RH Turn Indicator, High Beam Indicator and IPC Illumination


Object Number: 593643  Size: FS
Instrument Panel, Gages, and Console Component Views
Instrument Cluster Circuit Description
IPC Engine Oil Pressure Indicator, Theft Inputs and PCM MIL Outputs
Audible Warnings Pwr, Headlamp Sw, Ign Key Warn Sw, LF Door Lock, Grnd
Fuse Distribution, Headlamp Switch, Instrument Cluster, Park/Turn Signal and Side Marker Lamps
Fuse Distribution, Headlamp Switch, Instrument Cluster, Park/Turn Signal and Side Marker Lamps
Fuse Distribution, Headlamp Switch, Instrument Cluster, Instrument Panel Flood Lamp and HVAC Control
Handling ESD Sensitive Parts Notice
G205 (1 of 2)