GM Service Manual Online
For 1990-2009 cars only

Object Number: 364078  Size: MF
ABS Components
Antilock Brake System Schematics
Power Distribution Schematics
Power Distribution Schematics
Instrument Cluster: Analog Schematics

Circuit Description

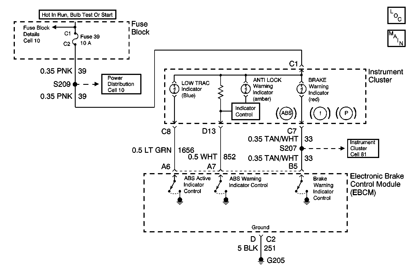
DTC C1211 tests the state of the ABS warning indicator. DTC C1211 identifies a situation in which the driver could not be warned of a system malfunction by the ABS warning indicator or the ABS warning indicator is always on. Due to an integral lamp driver module within the instrument panel cluster the EBCM must provide a ground in order to turn the amber ABS warning indicator off. Because of the circuitry in the Lamp Driver Module (LDM) only external malfunctions are detected. As a result the integral LDM itself is not diagnosable. Only the control line to the EBCM is diagnosable. In the event of an open CKT 852 the ABS warning indicator remains on at all times due to the loss of ground at the integral LDM input. If the control line shorts to ground the ABS warning indicator remains off due to grounding the integral LDM input.

Conditions for Setting the DTC

DTC C1211 sets only during one of the following conditions:

    • The three second bulb check.
    • The amber ABS warning indicator turns on.

A malfunction exists if the EBCM cannot control the ABS warning indicator for two seconds.

Action Taken When the DTC Sets

    • A malfunction DTC stores.
    • The ABS does not disable.

Conditions for Clearing the DTC

    • The condition responsible for setting the DTC no longer exists and the Scan Tool Clear DTCs function is used.
    • 100 drive cycles pass with no DTC detected.

Diagnostic Aids

The following conditions may cause an intermittent malfunction:

    • A poor connection
    • Rubbed-through wire insulation
    • A broken wire inside the insulation

Use the Scan Tool Lamp Test function to command the indicator on while looking for an intermittent malfunction in the ABS warning indicator circuitry.

Use the enhanced diagnostic function of the Scan Tool in order to measure the frequency of the malfunction. Refer to the Scan Tool manual or Scan Tool Diagnostics located in this section for the procedure.

Thoroughly inspect any circuitry that may be causing the intermittent complaint for the following conditions:

    • Backed out terminals
    • Improper mating
    • Broken locks
    • Improperly formed or damaged terminals
    • Poor terminal-to-wiring connections
    • Physical damage to the wiring harness

Zero the J 39200 test leads before making any resistance measurements.

Step

Action

Value(s)

Yes

No

1

Was the Diagnostic System Check performed?

--

Go to Step 2

Go to Diagnostic System Check - ABS

2

  1. Turn the ignition switch to the OFF position.
  2. Install a scan tool.
  3. Turn the ignition switch to the ON position.
  4. Do not start the engine.

  5. Select Special Functions on the scan tool.
  6. Select Lamp Test on the scan tool.
  7. Use the scan tool in order to attempt to turn on and flash the amber ABS warning indicator.

Can the amber ABS warning indicator be turned on and flashed?

--

Go to Step 23

Go to Step 3

3

  1. Turn the ignition switch to the OFF position.
  2. Turn the ignition switch to the ON position, engine off.

Does the amber ABS warning indicator turn on and stay on?

--

Go to Step 4

Go to Step 10

4

  1. Turn the ignition switch to the OFF position.
  2. Turn the ignition switch to the ON position, engine off.
  3. Use the scan tool in order to inspect for other DTCs.

Are there any other DTCs present?

--

Go to Diagnostic Trouble Code (DTC) List for the applicable DTC

Go to Step 5

5

  1. Turn the ignition switch to the OFF position.
  2. Disconnect the 24-way EBCM connector C1.
  3. Connect a fused jumper wire (such as a J 36169-A ) with a 3A Fuse between the 24-way EBCM harness connector C1 terminal A7 and ground.
  4. Turn the ignition switch to the ON position.
  5. Do not start the engine.

Is the amber ABS warning indicator on?

--

Go to Step 6

Go to Step 8

6

  1. Turn the ignition switch to the OFF position.
  2. Remove the jumper wire.
  3. Disconnect the instrument panel cluster connector C1.
  4. Use the J 39200 in order to measure the resistance between the 24-way EBCM harness connector C1 terminal A7 and the instrument panel cluster harness connector C1 terminal D13.

Is the resistance within the specified range?

0-2 ohms

Go to Step 7

Go to Step 20

7

  1. Turn the ignition switch to the ON position, engine off.
  2. Use the J 39200 in order to measure the voltage between the 24-way EBCM harness connector C1 terminal A7 and ground.

Is the voltage within the specified range?

0-2 V

Go to Step 8

Go to Step  21

8

  1. Turn the ignition switch to the OFF position.
  2. Inspect the 24-way EBCM connector C1 terminal A7 and then the remaining terminals for signs of the following conditions:
  3. • Damage
    • Poor terminal contact
    • Terminal corrosion

Are there signs of poor terminal contact, corrosion, or a damaged terminal?

--

Go to Step 19

Go to Step 9

9

  1. Reconnect the 24-way EBCM harness connector C1.
  2. Reconnect the instrument panel cluster harness connector C1 (if the above is still disconnected).
  3. Install a scan tool.
  4. Turn the ignition switch to the ON position.
  5. Do not start the engine.

  6. Use the scan tool in order to read the DTCs.

Does DTC C1211 reset?

--

Go to Step 22

Go to Diagnostic System Check - ABS

10

  1. Perform an instrument panel cluster bulb check.
  2. Inspect the remaining instrument panel cluster warning indicators.

Do the remaining instrument panel cluster warning indicators operate properly?

--

Go to Step 11

Go to Step 13

11

  1. Turn the ignition switch to the OFF position.
  2. Disconnect the 24-way EBCM connector C1.
  3. Turn the ignition switch to the ON position.
  4. Do not start the engine.

Does the amber ABS warning indicator turn on?

--

Go to Step 8

Go to Step 12

12

  1. Turn the ignition switch to the OFF position.
  2. Disconnect the instrument panel cluster connector C1.
  3. Use the J 39200 in order to measure the resistance between the 24-way EBCM harness connector C1 terminal A7 and ground.

Is the resistance within the specified range?

OL (Infinite)

Go to Instrument Cluster System Check in Engine Electrical

Go to Step 18

13

  1. Turn the ignition switch to the OFF position.
  2. Remove the Fuse 39 (10A).
  3. Inspect the Fuse 39 (10A).

Is the Fuse 39 (10A) open?

--

Go to Step 14

Go to Step 16

14

Use the J 39200 in order to measure the resistance between CKT 39 and ground.

Is the resistance within the specified range?

0-2 ohms

Go to Step 15

Go to Step 17

15

Repair the short to ground in CKT 39.

Is the repair complete?

--

Go to Step 17

--

16

Repair the open in CKT 39.

Is the repair complete?

--

Go to Diagnostic System Check - ABS

--

17

Replace the Fuse 39 (10A) with a known good Fuse (10A).

Is the repair complete?

--

Go to Diagnostic System Check - ABS

--

18

Repair the short to ground in CKT 852.

Is the repair complete?

--

Go to Diagnostic System Check - ABS

--

19

Repair the 24-way EBCM connector C1. Refer to Wiring Repairs in Wiring Systems.

Is the repair complete?

--

Go to Step 9

--

20

Repair the open or high resistance in CKT 852.

Is the repair complete?

--

Go to Diagnostic System Check - ABS

--

21

Repair the short to voltage in CKT 852.

Is the repair complete?

--

Go to Diagnostic System Check - ABS

--

22

Replace the EBCM. Refer to Electronic Brake Control Module Replacement .

Is the repair complete?

--

Go to Diagnostic System Check - ABS

--

23

Is the malfunction intermittent or is not present at this time?

--

Go to Diagnostic System Check - ABS

Go to Diagnostic Aids