GM Service Manual Online
For 1990-2009 cars only
Makes
🢒
Chevrolet
🢒
1999
🢒
Malibu
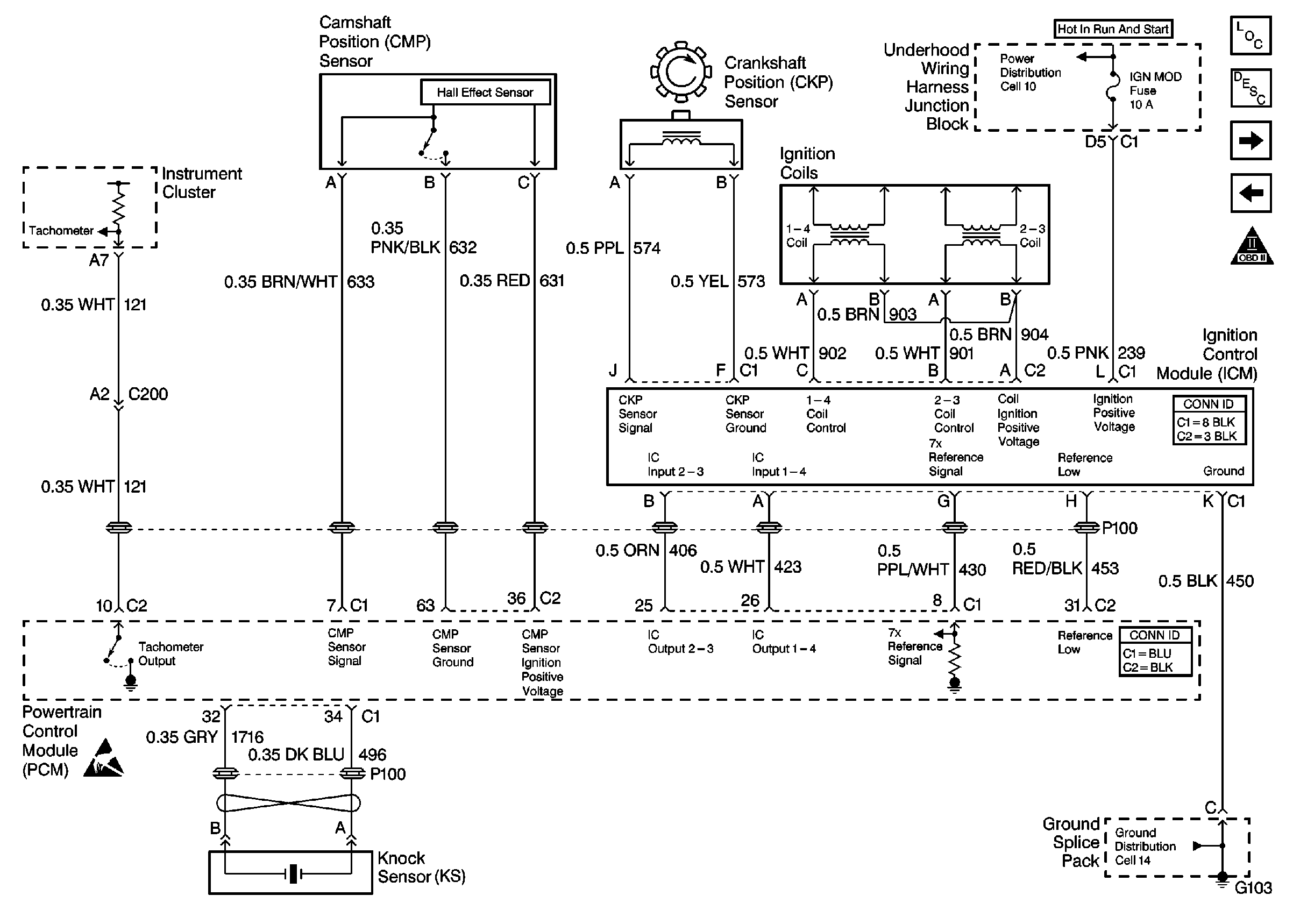
🢒 Cell 23: Ignition Controls
Cell 23: Ignition Controls
Cell 23: Ignition Controls
Engine Controls Component Views
Powertrain Control Module Description
Cell 23: Fuel Controls
Cell 23: Power, Ground, MIL, and DLC
OBD II Symbol Description Notice
Cell 10: IGN MOD, BU LMP/BTSI, PCM IGN, F/P INJR, A/C BFC, AUTO TRANS, ABS IGN Fuses
Engine Controls Connector End Views
Power and Grounding Connector End Views
Cell 14: G103 and G105
Handling ESD Sensitive Parts Notice