GM Service Manual Online
For 1990-2009 cars only
Makes
🢒
Chevrolet
🢒
2000
🢒
Malibu
🢒
Body and Accessories
🢒
Lighting Systems
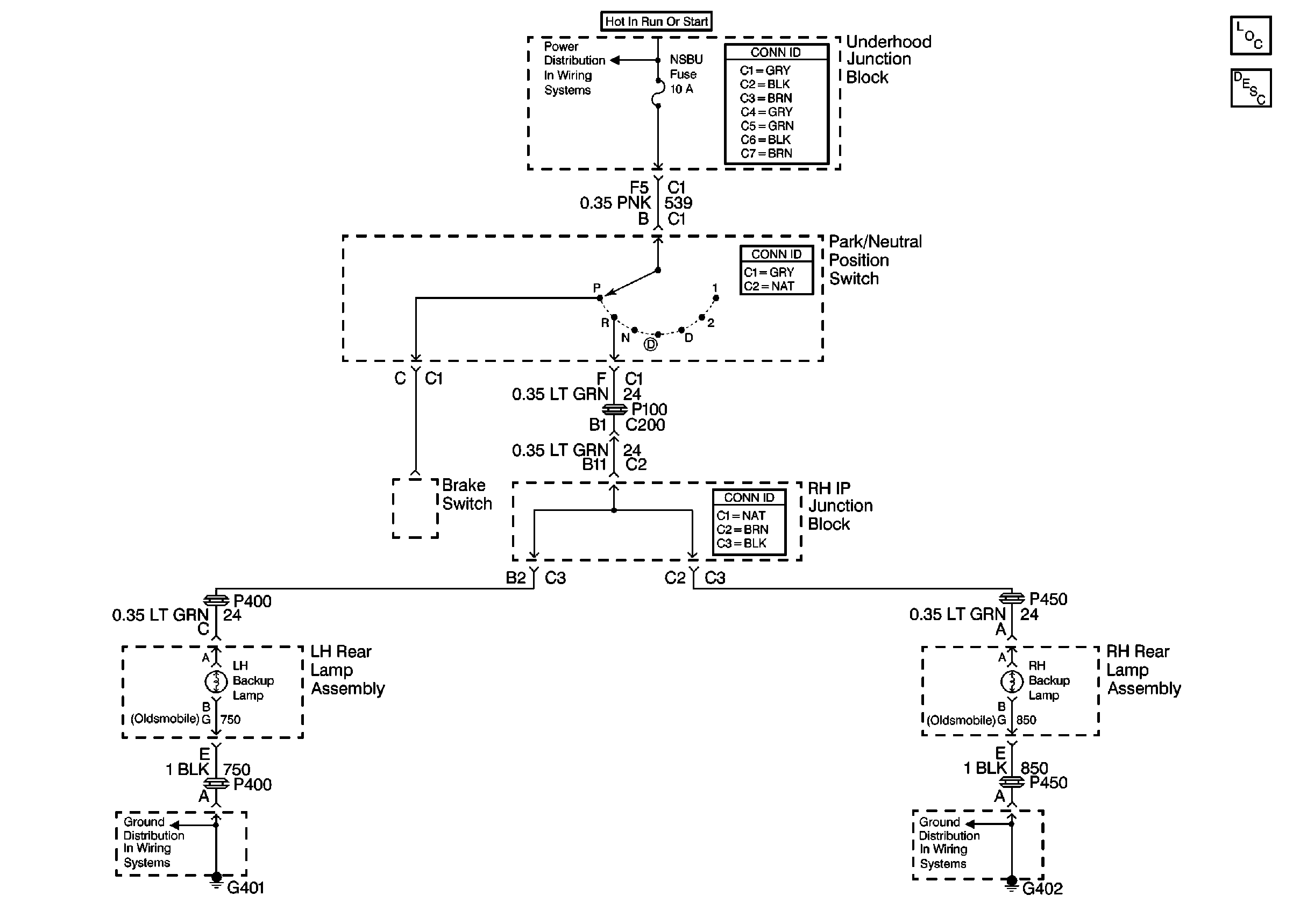
🢒 Backup Lamp Schematics
Backup Lights
Lighting Systems Components
Backup Lamp Circuit Description
OBD II Symbol Description Notice
Ground Distribution Schematics
Ground Distribution Schematics