GM Service Manual Online
For 1990-2009 cars only
Figure 1:

IGN SW -- BATT 1 and IGN SW -- BATT 2 Fuses


Object Number: 264783  Size: FS
Power and Grounding Components
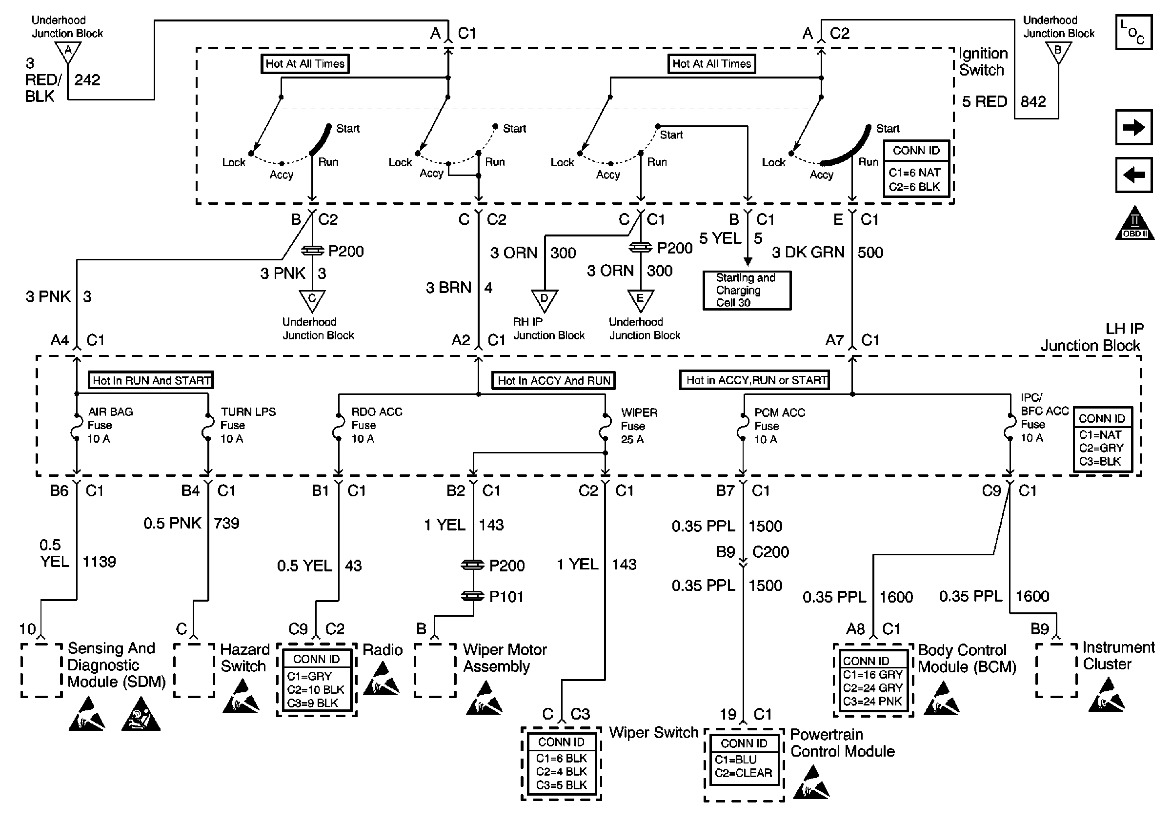
IGN Switch, AIR BAG, TURN LPS, RDO ACC, WIPER, PCM ACC and IPC/BFCACC Fuses
Handling ESD Sensitive Parts Notice
IGN Switch, AIR BAG, TURN LPS, RDO ACC, WIPER, PCM ACC and IPC/BFCACC Fuses
IGN Switch, AIR BAG, TURN LPS, RDO ACC, WIPER, PCM ACC and IPC/BFCACC Fuses
Figure 2:

IGN Switch, AIR BAG, TURN LPS, RDO ACC, WIPER, PCM ACC and IPC/BFC ACC Fuses


Object Number: 579200  Size: FS
Power and Grounding Components
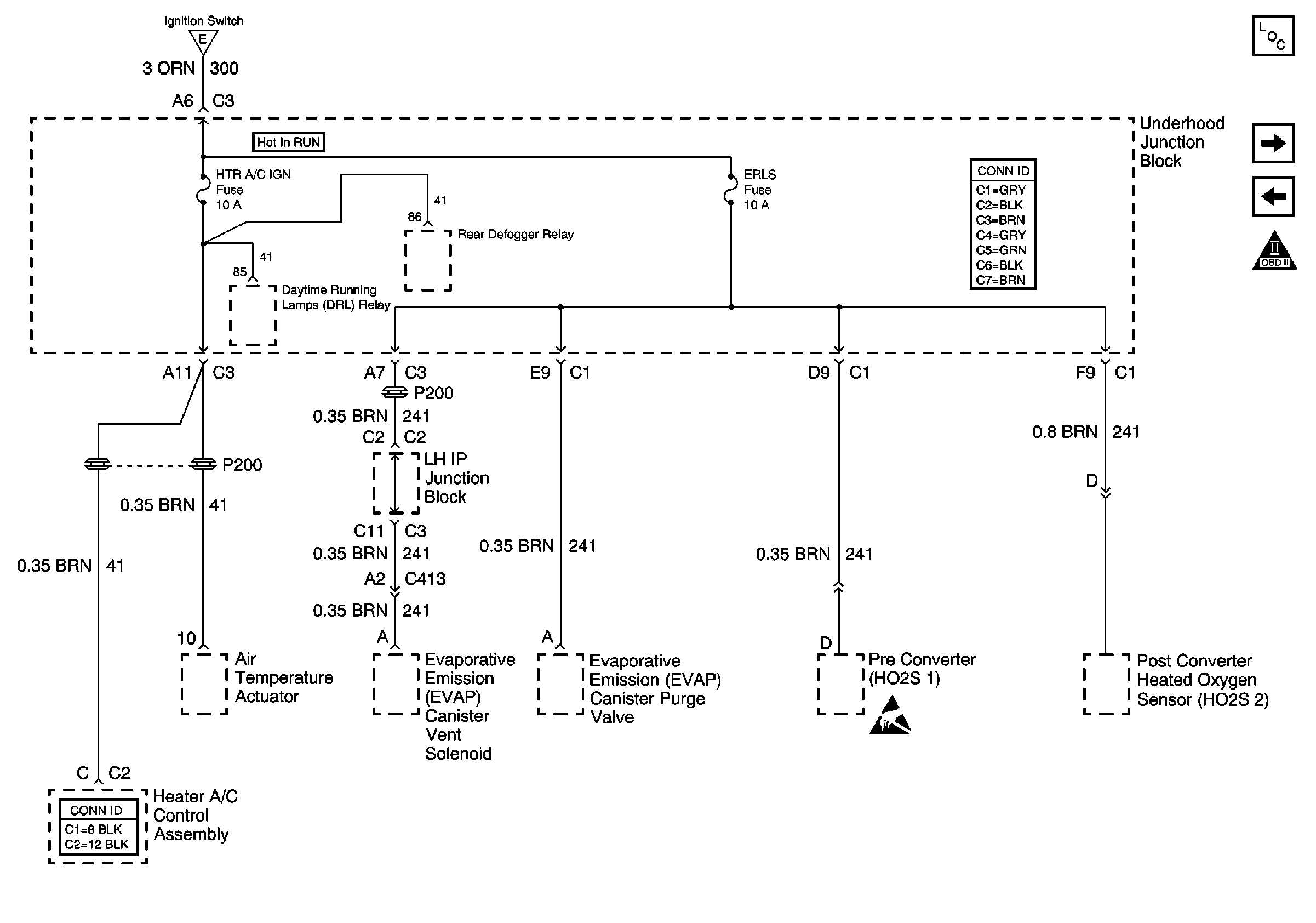
HTR A/C IGN and ERLS Fuses
IGN SW - BATT 1 and IGN SW - BATT 2 Fuses
OBD II Symbol Description Notice
SIR Handling Caution
Handling ESD Sensitive Parts Notice
Handling ESD Sensitive Parts Notice
Handling ESD Sensitive Parts Notice
Handling ESD Sensitive Parts Notice
Handling ESD Sensitive Parts Notice
IGN SW - BATT 1 and IGN SW - BATT 2 Fuses
IGN SW - BATT 1 and IGN SW - BATT 2 Fuses
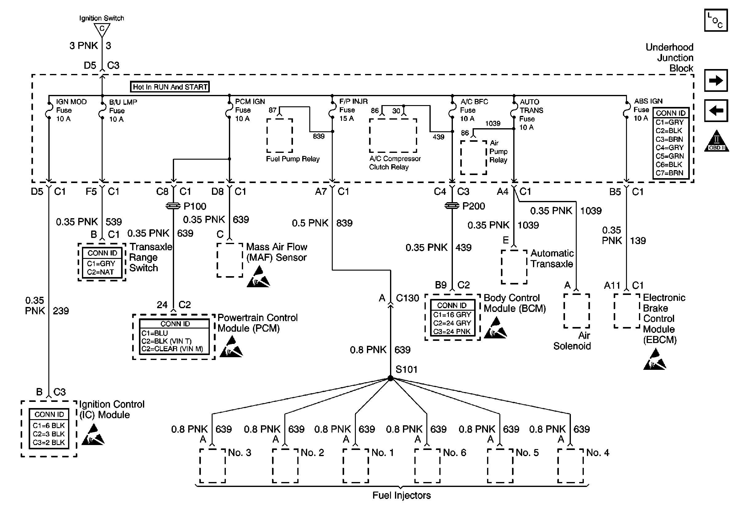
IGN MOD, B/U LMP, PCM IGN, F/P INJR, A/C BFC, AUTO TRANS and ABS IGN Fuses
PWR WINDWS, CRUISE SW, CRUISE, SUNROOF and HVAC BLOWER Fuses
HTR A/C IGN and ERLS Fuses
Handling ESD Sensitive Parts Notice
Handling ESD Sensitive Parts Notice
Handling ESD Sensitive Parts Notice
Figure 3:

HTR A/C IGN and ERLS Fuses


Object Number: 579201  Size: FS
Power and Grounding Components
IGN MOD, B/U LMP, PCM IGN, F/P INJR, A/C BFC, AUTO TRANS and ABS IGN Fuses
IGN Switch, AIR BAG, TURN LPS, RDO ACC, WIPER, PCM ACC and IPC/BFCACC Fuses
OBD II Symbol Description Notice
IGN Switch, AIR BAG, TURN LPS, RDO ACC, WIPER, PCM ACC and IPC/BFCACC Fuses
Handling ESD Sensitive Parts Notice
Figure 4:

IGN MOD, B/U LMP, PCM IGN, F/P INJR, A/C BFC, AUTO TRANS and ABS IGN Fuses


Object Number: 579203  Size: FS
Power and Grounding Components
RH HDLP, LH HDLP, GEN BATT, LH BEC BATT 2, ABS, STOP LPS, HAZARD LPS, IPC/HVAC BATT and BFC BATT Fuses
HTR A/C IGN and ERLS Fuses
OBD II Symbol Description Notice
Handling ESD Sensitive Parts Notice
Handling ESD Sensitive Parts Notice
Handling ESD Sensitive Parts Notice
Handling ESD Sensitive Parts Notice
Handling ESD Sensitive Parts Notice
IGN Switch, AIR BAG, TURN LPS, RDO ACC, WIPER, PCM ACC and IPC/BFCACC Fuses
Figure 5:

L/H BEC BATT 1, AUX PWR/CIGAR, PARK LPS, PCM BATT, PWR SEAT, PWR MIRROR, DR LOCK and TRUNK REL/RFA Fuses


Object Number: 579205  Size: FS
Engine Controls Components
PWR WINDWS, CRUISE SW, CRUISE, SUNROOF and HVAC BLOWER Fuses
RH HDLP, LH HDLP, GEN BATT, LH BEC BATT 2, ABS, STOP LPS, HAZARD LPS, IPC/HVAC BATT and BFC BATT Fuses
OBD II Symbol Description Notice
Handling ESD Sensitive Parts Notice
Handling ESD Sensitive Parts Notice
Figure 6:

RH HDLP, LH HDLP, GEN BATT, LH BEC BATT 2, ABS, STOP LPS, HAZARD LPS, IPC/HVAC BATT and BFC BATT Fuses


Object Number: 579206  Size: FS
Power and Grounding Components
L/H BEC BATT 1, AUX PWR/CIGAR, PARK LPS, PCM BATT, PWR SEAT, PWR MIRROR, DR LOCK and TRUNK REL/RFA Fuses
IGN MOD, B/U LMP, PCM IGN, F/P INJR, A/C BFC, AUTO TRANS and ABS IGN Fuses
OBD II Symbol Description Notice
Handling ESD Sensitive Parts Notice
Handling ESD Sensitive Parts Notice
Handling ESD Sensitive Parts Notice
Handling ESD Sensitive Parts Notice
Handling ESD Sensitive Parts Notice
Handling ESD Sensitive Parts Notice
Figure 7:

PWR WINDWS, CRUISE SW, CRUISE, SUNROOF and HVAC BLOWER Fuses


Object Number: 264801  Size: FS
Power and Grounding Components
RR DEFOG, HORN, HI BLO MOT, RH BEC BAT, AIR, Cool Fan #2, Cool Fan#1, INST LPS, INT LPS, RDO BATT and FOG LPS Fuses
L/H BEC BATT 1, AUX PWR/CIGAR, PARK LPS, PCM BATT, PWR SEAT, PWR MIRROR, DR LOCK and TRUNK REL/RFA Fuses
Handling ESD Sensitive Parts Notice
Handling ESD Sensitive Parts Notice
Handling ESD Sensitive Parts Notice
Handling ESD Sensitive Parts Notice
Handling ESD Sensitive Parts Notice
IGN Switch, AIR BAG, TURN LPS, RDO ACC, WIPER, PCM ACC and IPC/BFCACC Fuses
Figure 8:

RR DEFOG, HORN, HI BLO MOT, RH BEC BAT, AIR, Cool Fan #2, Cool Fan #1, INST LPS, INT LPS, RDO BATT and FOG LPS Fuses


Object Number: 579208  Size: FS
Power and Grounding Components
PWR WINDWS, CRUISE SW, CRUISE, SUNROOF and HVAC BLOWER Fuses
Handling ESD Sensitive Parts Notice
Handling ESD Sensitive Parts Notice
Handling ESD Sensitive Parts Notice
Interior Lights Dimming Schematics
Interior Lights Dimming Schematics
OBD II Symbol Description Notice