GM Service Manual Online
For 1990-2009 cars only
Makes
🢒
Chevrolet
🢒
2000
🢒
Malibu
🢒
Body and Accessories
🢒
Wiring Systems
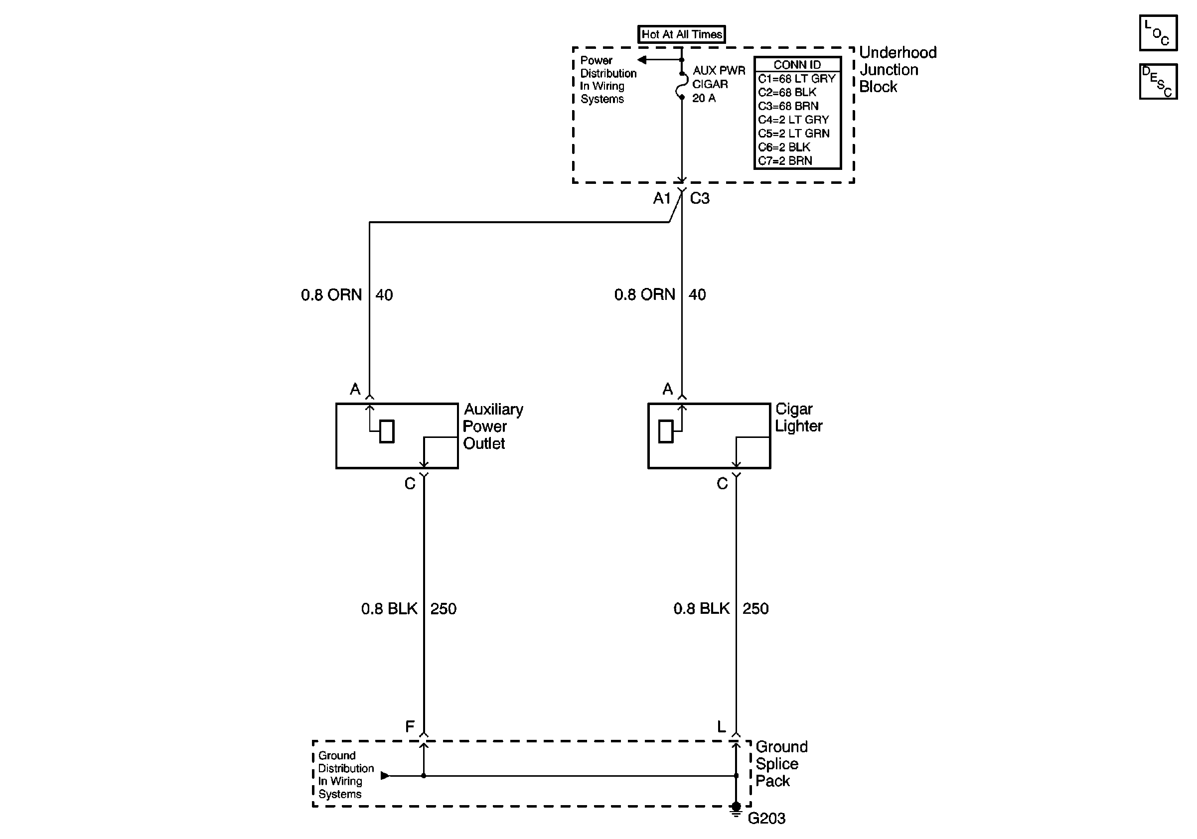
🢒 Cigar Lighter/Power Outlet Schematics
Cigar Lighter
Power and Grounding Components
Cigar Lighter/Auxiliary Outlet Circuit Description
Ground Distribution Schematics