GM Service Manual Online
For 1990-2009 cars only

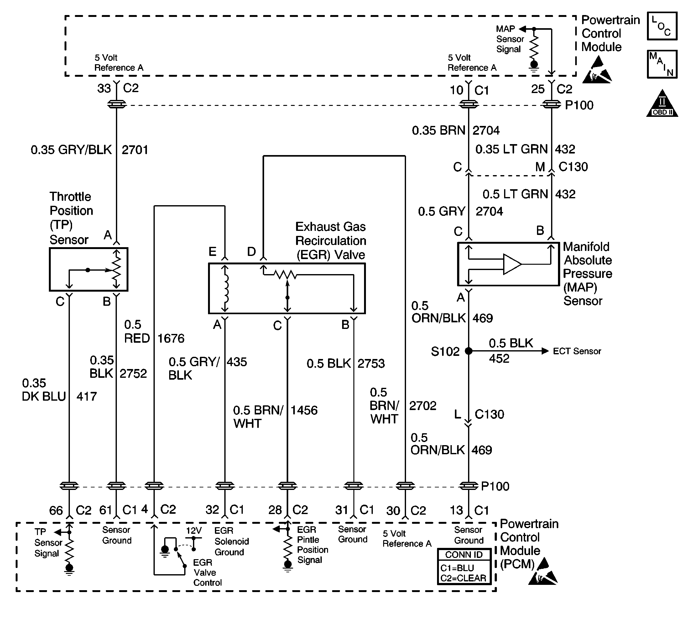
Object Number: 568087  Size: LF
Engine Controls Components
Engine Controls Schematics
OBD II Symbol Description Notice
Handling ESD Sensitive Parts Notice
Handling ESD Sensitive Parts Notice

Circuit Description

The throttle position (TP) sensor circuit provides a voltage signal that changes relative to throttle blade angle. The signal voltage will vary from below 1.0 volt at closed throttle to above 4.0 volts at wide open throttle (WOT). The PCM monitors throttle position and compares actual throttle position from the TP sensor to a predicted TP value calculated from engine speed. If the Powertrain Control Module (PCM) detects an excessively low TP sensor signal voltage, DTC P0122 will be set.

Conditions for Running the DTC

The ignition is ON

Conditions for Setting the DTC

    • TP sensor signal voltage is less than 0.16 volts.
    • The above conditions are present for more than 10 seconds.

Action Taken When the DTC Sets

    • The PCM will illuminate the MIL during the first trip in which the diagnostic test has been run and failed.
    • The PCM will store conditions which were present when the DTC set as Freeze Frame and Failure Records data.

Conditions for Clearing the MIL/DTC

    • The PCM will turn the MIL OFF during the third consecutive trip in which the diagnostic has been run and passed.
    • The history DTC will clear after 40 consecutive warm-up cycles have occurred without a malfunction.
    • The DTC can be cleared by using the scan tool.

Diagnostic Aids

Inspect for the following conditions:

Many situations may lead to an intermittent condition. Perform each inspection or test as directed.

Important: :  Remove any debris from the connector surfaces before servicing a component. Inspect the connector gaskets when diagnosing or replacing a component. Ensure that the gaskets are installed correctly. The gaskets prevent contaminate intrusion.

    • Loose terminal connection
       -  Use a corresponding mating terminal to test for proper tension. Refer to Testing for Intermittent Conditions and Poor Connections , and to Connector Repairs in Wiring Systems for diagnosis and repair.
       -  Inspect the harness connectors for backed out terminals, improper mating, broken locks, improperly formed or damaged terminals, and faulty terminal to wire connection. Refer to Testing for Intermittent Conditions and Poor Connections , and to Connector Repairs in Wiring Systems for diagnosis and repair.
    • Damaged harness--Inspect the wiring harness for damage. If the harness inspection does not reveal a problem, observe the display on the scan tool while moving connectors and wiring harnesses related to the sensor. A change in the scan tool display may indicate the location of the fault. Refer to Wiring Repairs in Wiring Systems for diagnosis and repair.
    •  Inspect the powertrain control module (PCM) and the engine grounds for clean and secure connections. Refer to Wiring Repairs in Wiring Systems for diagnosis and repair.

If the condition is determined to be intermittent, reviewing the Snapshot or Freeze Frame/Failure Records may be useful in determining when the DTC or condition was identified.

Test Description

The numbers below refer to the step numbers on the diagnostic table.

  1. This vehicle is equipped with a PCM which utilizes an Electrically Erasable Programmable Read Only Memory (EEPROM). When the PCM is being replaced, the new PCM must be programmed. Refer to PCM Replacement and Programming Procedures in Powertrain Control Module (PCM) and Sensors.

DTC P0122 - TP Sensor Circuit Low Voltage

Step

Action

Values

Yes

No

1

Did you perform the Powertrain On-Board Diagnostic (OBD) System Check?

--

Go to Step 2

Go to Powertrain On Board Diagnostic (OBD) System Check

2

  1. Install a scan tool.
  2. Turn ON the ignition, with the engine OFF.
  3. With a scan tool, observe the TP voltage parameter in the PCM data list.

Does the scan tool indicate that the TP voltage parameter is less than the specified value?

0.16 V

Go to Step 4

Go to Step 3

3

  1. Turn ON the ignition.
  2. Review and record scan tool Failure Records data.
  3. Operate the vehicle within Failure Records conditions as noted.
  4. Using a scan tool, monitor Specific DTC info for DTC P0122.

Does the scan tool indicate DTC P0122 failed?

--

Go to Step 4

Go to Diagnostic Aids

4

  1. Turn OFF the ignition.
  2. Connect a 3 amp fused jumper wire between the 5 volt reference circuit of the TP sensor and the signal circuit of the TP sensor.
  3. Turn ON the ignition, with the engine OFF.
  4. With a scan tool, observe the TP voltage parameter.

Does the scan tool indicate that the TP voltage parameter is equal to the specified value?

5.0 V

Go to Step 9

Go to Step 5

5

  1. Disconnect the fused jumper wire.
  2. Using a DMM measure the voltage between the 5 volt reference circuit of the TP sensor and the ground circuit of the TP sensor.

Does the voltage measure equal to the specified value?

5.0 V

Go to Step 7

Go to Step 6

6

Test the 5 volt reference circuit of the TP sensor for high resistance or an open and all 5 volt reference A circuits and connected components for a short to ground. Refer to Circuit Testing and Wiring Repairs in Wiring Systems.

Did you find and correct the condition?

--

Go to Step 12

Go to Step 8

7

Test the signal circuit of the TP sensor for a short to ground, a high resistance, or an open. Refer to Circuit Testing and Wiring Repairs in Wiring Systems.

Did you find and correct the condition?

--

Go to Step 12

Go to Step 8

8

Inspect for faulty connections at the harness connector of the PCM. Refer to Testing for Intermittent Conditions and Poor Connections and Connector Repairs in Wiring Systems.

Did you find and correct the condition?

--

Go to Step 12

Go to Step 11

9

Inspect for faulty connections at the harness connector of the TP sensor. Refer to Testing for Intermittent Conditions and Poor Connections and Connector Repairs in Wiring Systems.

Did you find and correct the condition?

--

Go to Step 12

Go to Step 10

10

Replace the TP sensor. Refer to Throttle Position Sensor Replacement .

Did you complete the replacement?

--

Go to Step 12

--

11

Important: The replacement PCM must be programmed.

Replace the PCM.

Refer to Powertrain Control Module Replacement/Programming .

Did you complete the replacement?

--

Go to Step 12

--

12

  1. Use the scan tool in order to record the Failure Records.
  2. Clear DTCs
  3. Operate the vehicle within the Failure Records conditions as noted.

Does the DTC set?

--

Go to Step 4

System OK