GM Service Manual Online
For 1990-2009 cars only

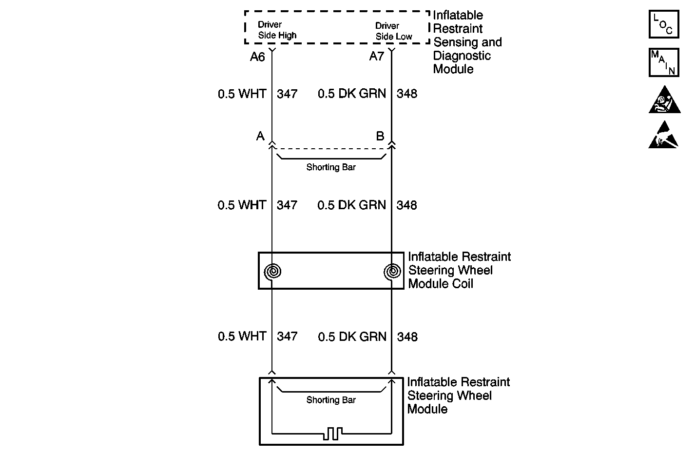
Object Number: 612953  Size: MF
SIR Components
SIR Electrical Diagnosis
Handling ESD Sensitive Parts Notice
SIR Handling Caution

Circuit Description

When you first turn ON the ignition, the inflatable restraint sensing and diagnostic module (SDM) performs tests to diagnose critical malfunctions within itself. Then the SDM performs the following continuous diagnostic tests on the deployment loops:

    • Deployment loop voltage out of range test
    • Deployment loop resistance measurement test

If the voltage out of range test detects a short to voltage condition, the resistance measurement test for that deployment loop will not be performed.

Conditions for Running the DTC

Deployment loop voltage out of range test:

    • Ignition voltage is within the normal operating voltage range.
    • Driver frontal deployment loop is not shorted to voltage.
    • Driver frontal high terminal A6 is less than 2 volts.

Deployment loop resistance measurement test:

    • Ignition voltage is within the normal operating voltage range.
    • Driver frontal deployment loop is not shorted to voltage.
    • Driver frontal deployment loop is not shorted to ground.

Conditions for Setting the DTC

Deployment loop voltage out of range test - Driver frontal deployment loop resistance is at least 6 ohms for 300 milliseconds.

Deployment loop resistance measurement test - Driver frontal deployment loop resistance is more than 4.8 ohms for 300 milliseconds.

Action Taken When the DTC Sets

The SDM commands ON the AIR BAG warning lamp via Class 2 serial data.

Conditions for Clearing the DTC

    • The condition responsible for setting the DTC no longer exists and the Scan Tool Clear DTCs function is used.
    • A history DTC will clear once 255 malfunction free ignition cycles have occurred.

Diagnostic Aids

The following can cause an intermittent condition:

    • The inflatable restraint steering wheel module 2-way connector.
    • The inflatable restraint steering wheel module coil 2-way harness connector terminal A and terminal B.
    • The SDM wiring harness connector terminal A6 and terminal A7.
    • The wire to terminal connections in the driver frontal high circuit.
    • The wire to terminal connections in the driver frontal low circuit.
    • Refer to Testing for Intermittent Conditions and Poor Connections in Wiring Systems.

Test Description

The number(s) below refer to the step number(s) on the diagnostic table.

  1. This step checks the inflatable restraint steering wheel module coil yellow 2-way connector.

  2. This step determines if the inflatable restraint steering wheel module coil or the inflatable restraint steering wheel module is defective.

  3. This step checks to see if the SDM wiring harness connector is OK.

  4. This step checks to see if there is an open or a high resistance in the driver frontal high circuit.

  5. This step determines if there is an open or a high resistance in the driver frontal low circuit or if there is a malfunctioning SDM.

DTC B0026 Driver Frontal Deployment Loop Open

Step

Action

Value(s)

Yes

No

1

Did you perform the SIR Diagnostic System Check?

--

Go to Step 2

Go to Diagnostic System Check - SIR

2

  1. Turn OFF the ignition.
  2. Disconnect the inflatable restraint steering wheel module coil yellow 2-way connector. Refer to Inflatable Restraint Steering Wheel Module Coil Replacement .
  3. Inspect the component and harness sides of the inflatable restraint steering wheel module coil yellow 2-way connector for the following conditions:
  4. • Corrosion
    • Damaged terminals
    • Poor connections/terminal tension

Refer to Testing for Intermittent Conditions and Poor Connections in Wiring Systems.

Does either the component or harness side of the inflatable restraint steering wheel module coil yellow 2-way connector exhibit signs of corrosion, terminal damage, or poor connections?

--

Go to Step 3

Go to Step 4

3

  1. If the component side of the inflatable restraint steering wheel module coil yellow 2-way connector is damaged, the inflatable restraint steering wheel module coil must be replaced. Refer to Inflatable Restraint Steering Wheel Module Coil Replacement .
  2. If the harness side of the inflatable restraint steering wheel module coil yellow 2-way connector is damaged, replace the harness side of the the inflatable restraint steering wheel module coil yellow 2-way connector. Refer to Connector Repairs in Wiring Systems.

Did you complete the repair?

--

Go to Step 16

--

4

  1. Reconnect the inflatable restraint steering wheel module coil yellow 2-way connector.
  2. Verify that the connector position assurance (CPA) is properly installed.
  3. Turn ON the ignition, with the engine OFF.
  4. Use the scan tool to request the SIR DTC display.

Does the scan tool indicate that this DTC is current?

--

Go to Step 5

Go to Diagnostic Aids

5

  1. Turn OFF the ignition.
  2. Install the J 38715-A to the harness side of the inflatable restraint steering wheel module coil yellow 2-way connector.
  3. Turn ON the ignition, with the engine OFF.
  4. Use the scan tool to request the SIR DTC display.

Does the scan tool indicate that this DTC is current?

--

Go to Step 9

Go to Step 6

6

  1. Turn OFF the ignition.
  2. Reconnect the inflatable restraint steering wheel module coil yellow 2-way connector.
  3. Disconnect the inflatable restraint steering wheel module. Refer to Inflatable Restraint Steering Wheel Module Replacement .
  4. Connect the J 38715-A to the upper inflatable restraint steering wheel module coil connector on the steering column.
  5. Turn ON the ignition, with the engine OFF.
  6. Use the scan tool to request the SIR DTC display.

Does the scan tool indicate that this DTC is current?

--

Go to Step 8

Go to Step 7

7

  1. Turn OFF the ignition.
  2. Replace the inflatable restraint steering wheel module. Refer to Inflatable Restraint Steering Wheel Module Replacement .

Did you complete the replacement?

--

Go to Step 16

--

8

  1. Turn OFF the ignition.
  2. Replace the inflatable restraint steering wheel module coil. Refer to Inflatable Restraint Steering Wheel Module Coil Replacement .

Did you complete the replacement?

--

Go to Step 16

--

9

  1. Turn OFF the ignition.
  2. Remove the J 38715-A .
  3. Disconnect the inflatable restraint sensing and diagnostic module (SDM). Refer to Inflatable Restraint Sensing and Diagnostic Module Replacement .
  4. Inspect the SDM wiring harness connector for the following conditions:
  5. • Corrosion
    • Damaged terminals
    • Poor connections/terminal tension

Refer to Testing for Intermittent Conditions and Poor Connections in Wiring Systems.

Does the SDM wiring harness connector exhibit any signs of corrosion, terminal damage, or poor connections?

--

Go to Step 10

Go to Step 11

10

Replace the SDM wiring harness connector. Refer to Connector Repairs in Wiring Systems.

Did you complete the repair?

--

Go to Step 16

--

11

  1. Zero the J 39200 Digital Multimeter (DMM).
  2. Use the DMM to measure the resistance of the driver frontal high circuit between the SDM wiring harness connector and the inflatable restraint steering wheel module coil yellow 2-way connector.

Does the resistance measure less than the specified value?

0.5 ohms

Go to Step 13

Go to Step 12

12

Locate and repair the open or high resistance in the driver frontal high circuit. Refer to Circuit Testing and Wiring Repairs in Wiring systems.

Did you complete the repair?

--

Go to Step 16

--

13

Use the DMM to measure the resistance of the driver frontal low circuit between the SDM wiring harness connector and the inflatable restraint steering wheel module coil yellow 2-way connector.

Does the resistance measure less than the specified value?

0.5 ohms

Go to Step 15

Go to Step 14

14

Locate and repair the open or high resistance in the driver frontal low circuit. Refer to Circuit Testing and Wiring Repairs in Wiring systems.

Did you complete the repair?

--

Go to Step 16

--

15

Replace the SDM. Refer to Inflatable Restraint Sensing and Diagnostic Module Replacement .

Did you complete the replacement?

--

Go to Step 16

--

16

  1. Reconnect all SIR components.
  2. Verify that all components and connectors are properly mounted.
  3. Turn ON the ignition, with the engine OFF.
  4. Use the scan tool in order to clear the DTCs.

Did you complete the action?

--

Go to Diagnostic System Check - SIR

--