GM Service Manual Online
For 1990-2009 cars only
Makes
🢒
Chevrolet
🢒
2001
🢒
Malibu
🢒
Transmission/Transaxle
🢒
Automatic Transaxle - 4T40-E/4T45-E
🢒 Automatic Transmission Controls Schematics
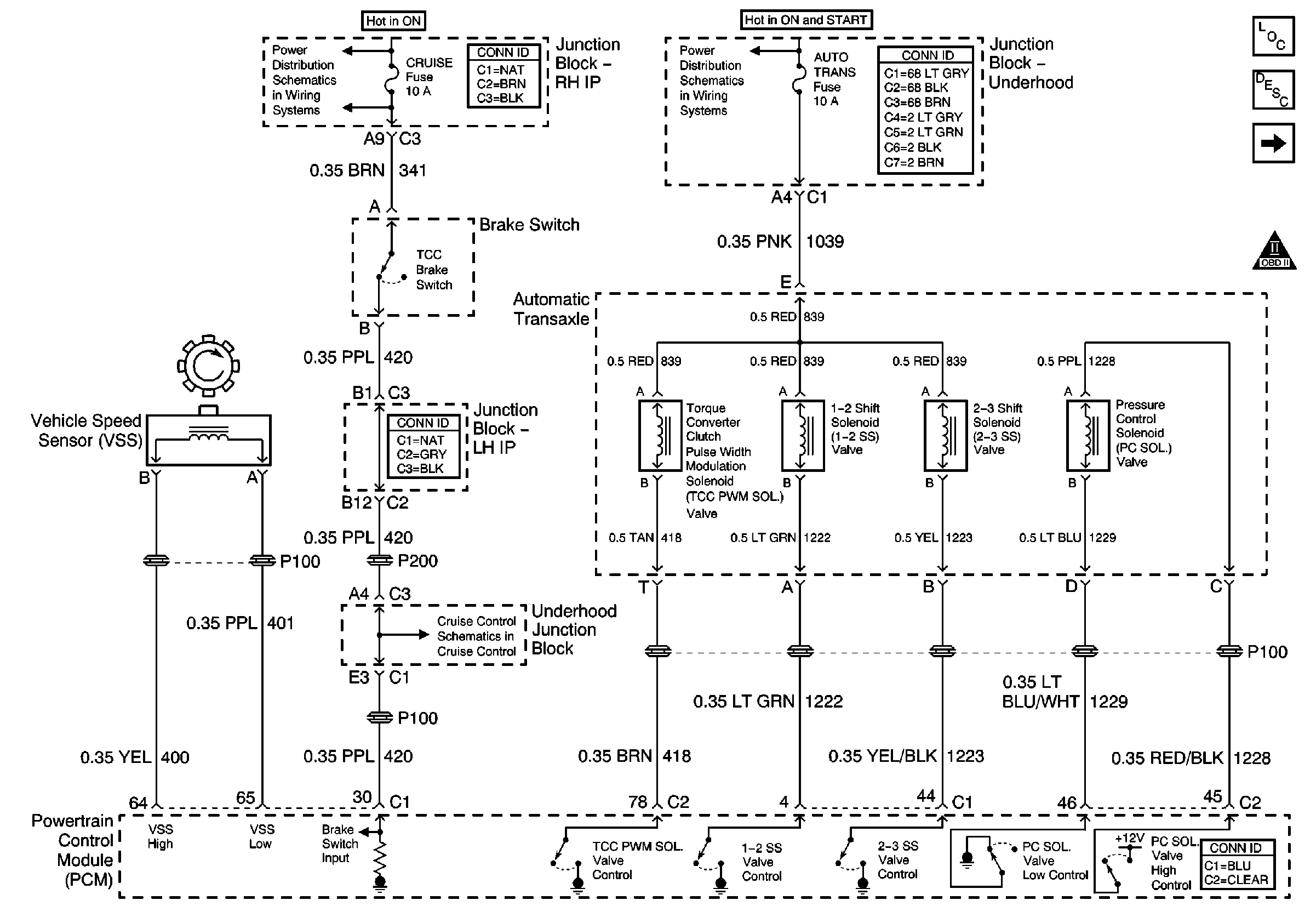
Figure
1:
Shift Solenoids
Master Electrical Component List
Electronic Component Description
Transmission Switches
OBD II Symbol Description Notice
Brake Switch, and Inhibit Signals
IGN MOD, B/U LMP, PCM IGN, F/P INJR, A/C BFC, AUTO TRANS and ABS IGN Fuses
PWR WINDOWS, CRUISE SW, CRUISE, SUNROOF and HVAC BLOWER Fuses
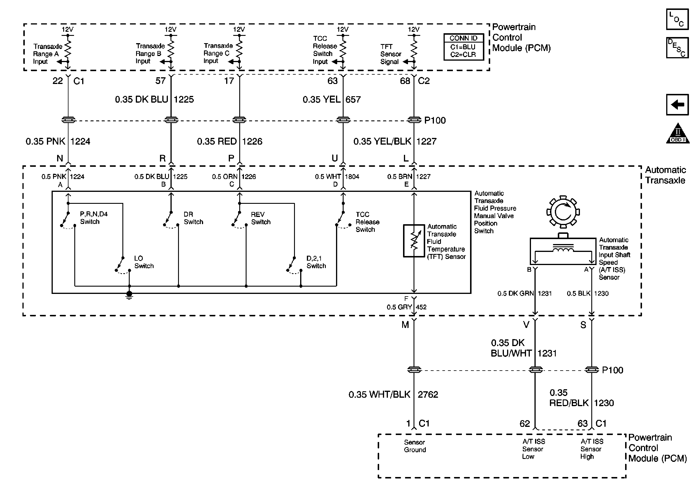
Figure
2:
Transmission Switches
Master Electrical Component List
Electronic Component Description
OBD II Symbol Description Notice
Fuel Injectors