GM Service Manual Online
For 1990-2009 cars only
Makes
🢒
Chevrolet
🢒
2001
🢒
Malibu
🢒 Data Link Communications
Data Link Communications
Data Link Communications
Master Electrical Component List
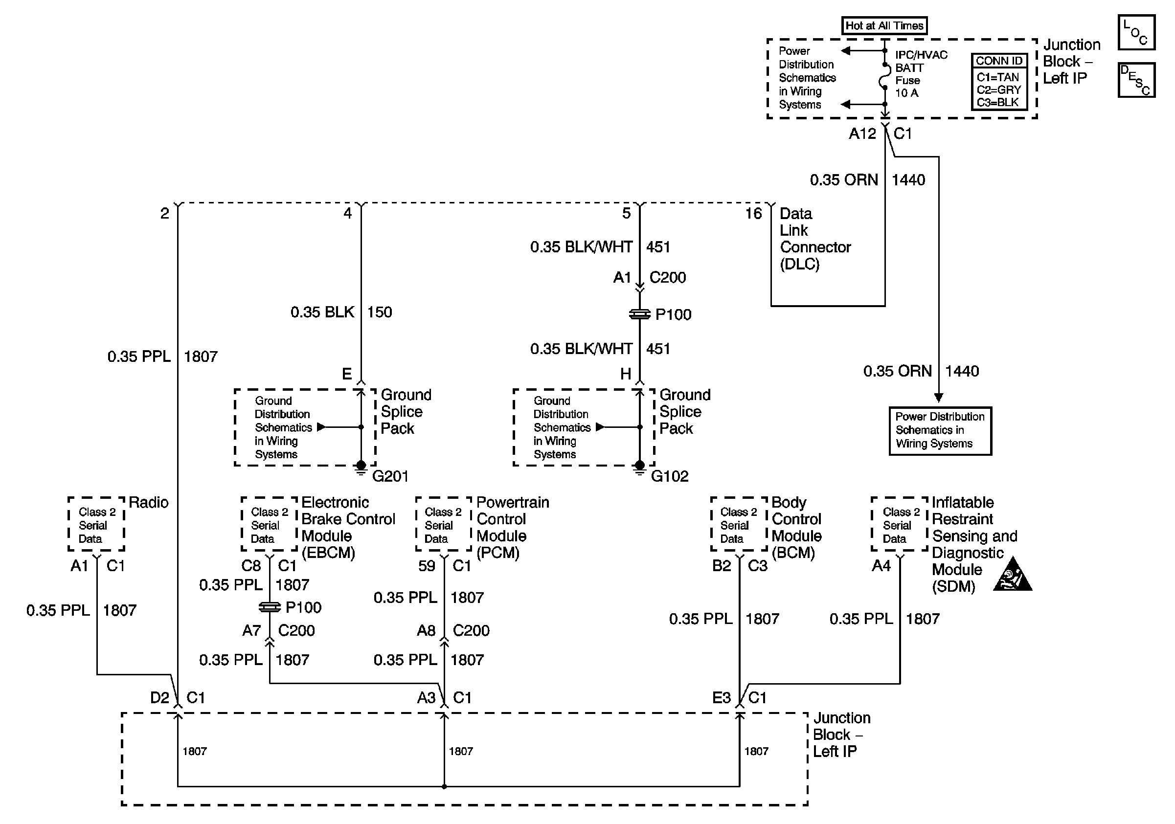
Data Link Communications Description and Operation
LH IP Junction Block BATT 2, STOP LPS, IPC/HVAC BATT, BFC BATT Fuses
LH IP Junction Block BATT 2, STOP LPS, IPC/HVAC BATT, BFC BATT Fuses
Power and Communications
SIR Handling Caution
G102 and G104
G201