GM Service Manual Online
For 1990-2009 cars only

DTC P1818 2.2L


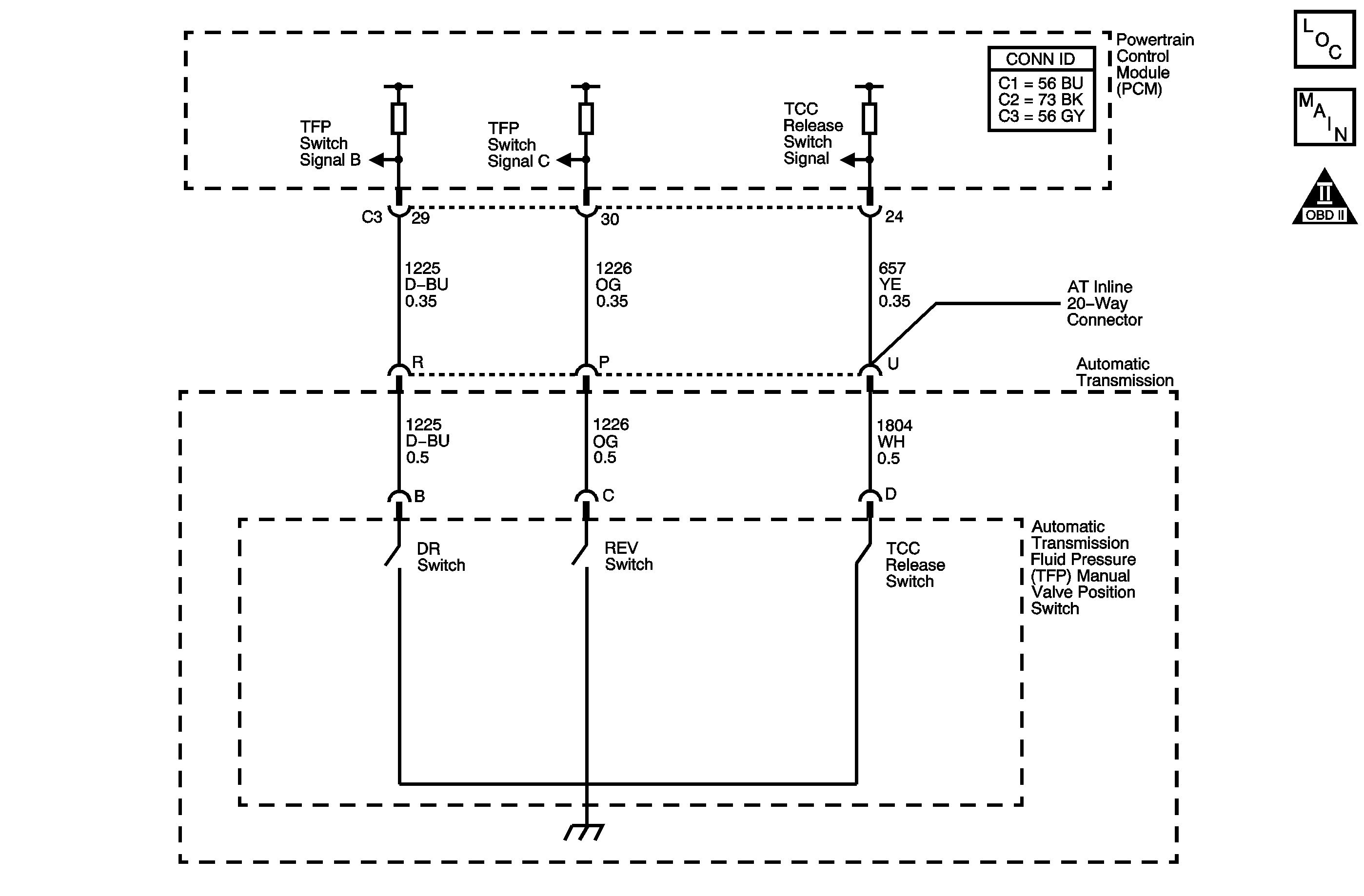
Object Number: 1227878  Size: MF
Master Electrical Component List
Automatic Transmission Controls Schematics
OBD II Symbol Description Notice

Circuit Description

The automatic transmission fluid pressure (TFP) manual valve position switch consists of three pressure switches. Two of the switches are normally-open, and determine gear range selection. The third switch is normally-closed, and detects torque converter clutch (TCC) release fluid pressure. The TFP manual valve position switch also contains the automatic transmission fluid temperature (TFT) sensor. These components are combined into one unit, attached to the control valve body.

The PCM provides battery voltage on the two range signal circuits. By grounding one or more of the switches with fluid pressure from the manual shift valve, the PCM detects the selected gear range. When you disconnect the transmission electrical connector and the ignition is ON, the ground potential for three range signals from the PCM will be removed, and an invalid gear range will be indicated. Refer to Transmission Fluid Pressure Manual Valve Position Switch Logic .

When the PCM detects a drive gear with a REVERSE ratio, DTC P1818 sets. DTC P1818 is a type B DTC.

Conditions for Running the DTC

    • No TP DTCs P0120 or P0220.
    • No VSS DTCs P0502 or P0503.
    • No ISS DTCs P0716 or P0717.
    • No 1-2 SS DTCs P0751, P0752, P0973, or P0974.
    • No 2-3 SS DTCs P0756, P0757, P0976, or P0977.
    • The engine is running for 5 seconds.
    • The OSS is 40 RPM or greater.
    • The TPS is greater than 7 percent.
    • The engine torque is greater than 25 N·m (18 lb ft).

Conditions for Setting the DTC

The PCM detects PARK, NEUTRAL, or a drive range with a REVERSE ratio for 3 seconds.

Action Taken When the DTC Sets

    • The PCM illuminates the malfunction indicator lamp (MIL) during the second consecutive trip in which the Conditions for Setting the DTC are met.
    • The PCM commands maximum line pressure.
    • The PCM disables TAP shift functions.
    • The PCM assumes a D4 shift pattern.
    • The PCM freezes transmission adaptive functions.
    • The PCM records the operating conditions when the Conditions for Setting the DTC are met. The PCM stores this information as Freeze Frame and Failure Records.
    • The PCM stores DTC P1818 in PCM history during the second consecutive trip in which the Conditions for Setting the DTC are met.

Conditions for Clearing the MIL/DTC

    • The PCM turns OFF the MIL during the third consecutive trip in which the diagnostic test runs and passes.
    • A scan tool can clear the MIL/DTC.
    • The PCM clears the DTC from PCM history if the vehicle completes 40 warm-up cycles without an emission-related diagnostic fault occurring.
    • The PCM cancels the DTC default actions when the ignition switch is OFF long enough in order to power down the PCM.

Test Description

The numbers below refer to the step numbers on the diagnostic table.

  1. This step tests the indicated range signal to the manual valve range actually selected.

  2. This step tests for correct voltage from the PCM.

Step

Action

Yes

No

1

Did you perform the Diagnostic System Check - Vehicle?

Go to Step 2

Go to Diagnostic System Check - Vehicle in Vehicle DTC Information

2

Did you perform the Transmission Fluid Checking Procedure?

Go to Step 3

Go to Transmission Fluid Check

3

  1. Install a scan tool.
  2. Turn ON the ignition, with the engine OFF.
  3. Important: Before clearing the DTC, use the scan tool in order to record the Freeze Frame and Failure Records. Using the Clear Info function erases the Freeze Frame and Failure Records from the PCM.

  4. Record the DTC Freeze Frame and Failure Records.
  5. Clear the DTC.
  6. Start the engine and idle at the normal operating temperature.
  7. Select TFP Sw. on the scan tool.
  8. Apply the brake pedal.
  9. Select each transmission range: P, R, N, D4, D3, D2 and D1.

Does each selected transmission range match the scan tool TFP Sw. display?

Go to Intermittent Conditions in Engine Controls - 2.2L

Go to Step 4

4

  1. Inspect the transmission linkage from the gear select lever to the manual valve for proper adjustment.
  2. Adjust the linkage as necessary.

Did the linkage require adjustment?

Go to Step 16

Go to Step 5

5

  1. Turn OFF the ignition.
  2. Disconnect the AT inline 20-way connector. Additional DTCs may set.
  3. Turn ON the ignition, with the engine OFF.

Does the scan tool TFP Sw. Sig. B/Sig. C parameter indicate HI for all range states?

Go to Step 6

Go to Step 9

6

  1. Turn OFF the ignition.
  2. Install the J 44152 jumper harness (20 pins) on the engine side of the AT inline 20-way connector.
  3. Turn ON the ignition, with the engine OFF.
  4. Using the DMM and the J 35616 GM-approved terminal test kit, measure the voltage from the TFP signal B circuit of the J 44152 to ground.
  5. Refer to Automatic Transmission Inline 20-Way Connector End View .

  6. Measure the voltage from the TFP signal C circuit of the J 44152 to ground.

Does the voltage measure ignition voltage at both terminals?

Go to Step 7

Go to Step 10

7

Connect a fused jumper wire from the TFP signal B circuit of the J 44152 to ground while monitoring the scan tool TFP Sw. Sig. B/Sig. C parameter.

Refer to Automatic Transmission Inline 20-Way Connector End View .

When the TFP signal B circuit is grounded, do any other signal circuits indicate LOW?

Go to Step 11

Go to Step 8

8

Connect a fused jumper wire from the TFP signal C circuit of the J 44152 to ground while monitoring the scan tool TFP Sw. Sig. B/Sig. C parameter.

Refer to Automatic Transmission Inline 20-Way Connector End View .

When the TFP signal C circuit is grounded, do any other signal circuits indicate LOW?

Go to Step 11

Go to Step 12

9

Test the signal circuits of the TFP manual valve position switch that did not indicate HI for a short to a ground between the PCM connector C3 and the AT inline 20-way connector.

Refer to Testing for Short to Ground and Wiring Repairs in Wiring Systems.

Did you find and correct a condition?

Go to Step 16

Go to Step 15

10

Test the signal circuits of the TFP manual valve position switch that did not indicate ignition voltage for an open between the PCM connector C3 and the AT inline 20-way connector.

Refer to Testing for Continuity and Wiring Repairs in Wiring Systems.

Did you find and correct a condition?

Go to Step 16

Go to Step 15

11

Test the affected signal circuits of the TFP manual valve position switch for a shorted together condition between the PCM connector C3 and the AT inline 20-way connector.

Refer to Circuit Testing and Wiring Repairs in Wiring Systems.

Did you find and correct a condition?

Go to Step 16

Go to Step 15

12

Test the affected signal circuits of the TFP manual valve position switch for an open or shorted condition between the AT inline 20-way connector and the TFP manual valve position switch.

Refer to Circuit Testing in Wiring Systems.

Did you find the condition?

Go to Step 13

Go to Step 14

13

Replace the automatic transmission wiring harness.

Refer to Wiring Harness Replacement .

Did you complete the replacement?

Go to Step 16

--

14

Replace the TFP manual valve position switch.

Refer to Transmission Fluid Pressure Manual Valve Position Switch Replacement .

Did you complete the replacement?

Go to Step 16

--

15

Replace the PCM.

Refer to Powertrain Control Module Replacement in Engine Controls - 2.2L.

Is the replacement complete?

Go to Step 16

--

16

Perform the following procedure in order to verify the repair:

  1. Select DTC.
  2. Select Clear Info.
  3. Operate the vehicle in each drive range for 1 second.
  4. Select Specific DTC.
  5. Enter DTC P1818.

Has the test run and passed?

Go to Step 17

Go to Step 2

17

With the scan tool, observe the stored information, capture info and DTC info.

Does the scan tool display any DTCs that you have not diagnosed?

Go to Diagnostic Trouble Code (DTC) List - Vehicle in Vehicle DTC Information

System OK

DTC P1818 3.5L


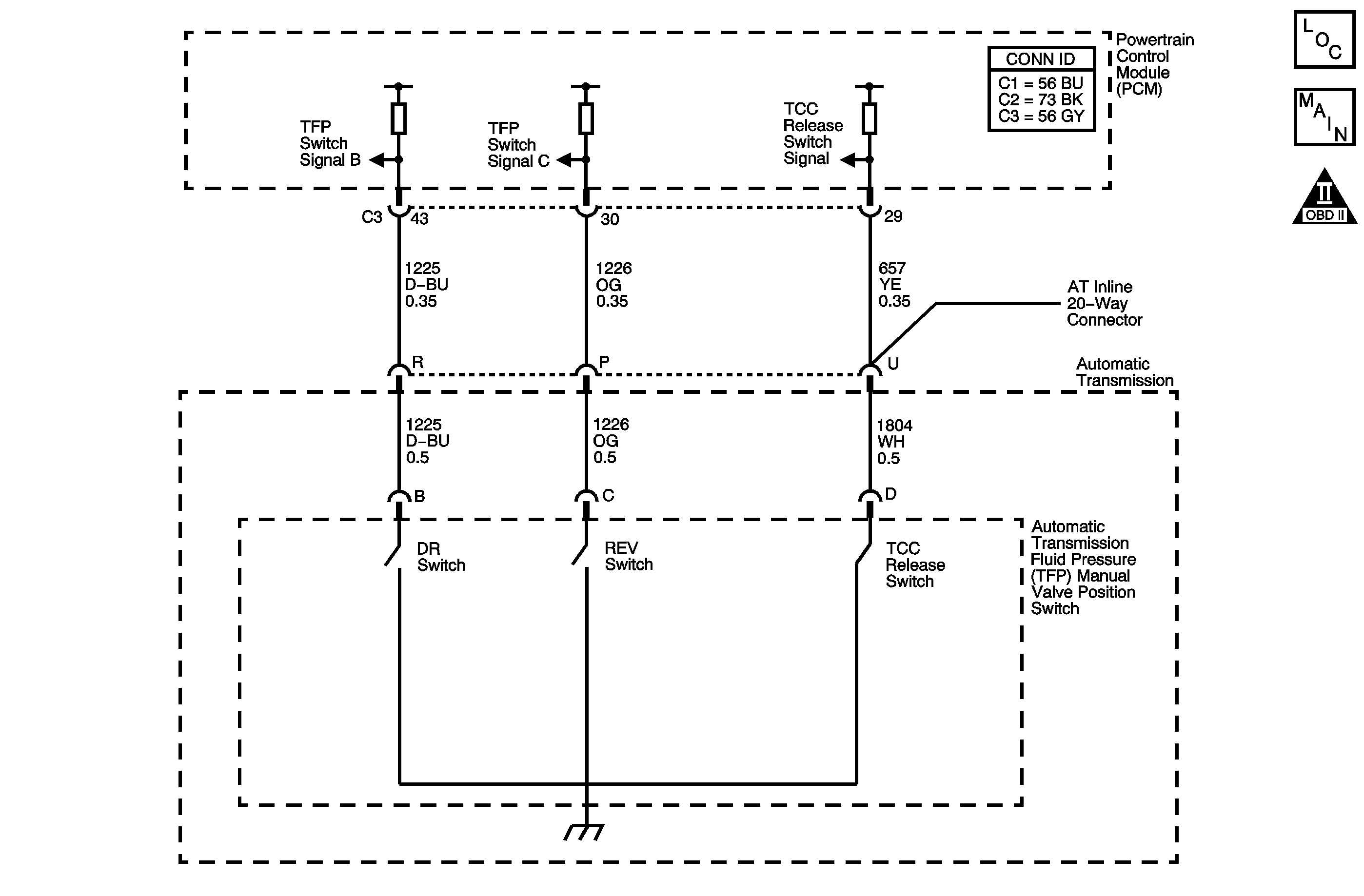
Object Number: 1227882  Size: MF
Master Electrical Component List
Automatic Transmission Controls Schematics
OBD II Symbol Description Notice

Circuit Description

The automatic transmission fluid pressure (TFP) manual valve position switch consists of three pressure switches. Two of the switches are normally-open, and determine gear range selection. The third switch is normally-closed, and detects torque converter clutch (TCC) release fluid pressure. The TFP manual valve position switch also contains the automatic transmission fluid temperature (TFT) sensor. These components are combined into one unit, attached to the control valve body.

The PCM provides battery voltage on the two range signal circuits. By grounding one or more of the switches with fluid pressure from the manual shift valve, the PCM detects the selected gear range. When you disconnect the transmission electrical connector and the ignition is ON, the ground potential for three range signals from the PCM will be removed, and an invalid gear range will be indicated. Refer to Transmission Fluid Pressure Manual Valve Position Switch Logic .

When the PCM detects a drive gear with a REVERSE ratio, DTC P1818 sets. DTC P1818 is a type B DTC.

Conditions for Running the DTC

    • No MAF DTCs P0101, P0102 or P0103.
    • No MAP DTCs P0107 or P0108.
    • No PSA DTCs P1810 or P1816.
    • The engine is running for 5 seconds.
    • The vehicle speed is 5 km/h (3 mph) or greater.
    • The TPS is 10 percent or greater.
    • The engine torque is greater than 34 N·m (25 lb ft).

Conditions for Setting the DTC

The PCM detects a drive range with a REVERSE ratio for 5 seconds.

Action Taken When the DTC Sets

    • The PCM illuminates the malfunction indicator lamp (MIL) during the second consecutive trip in which the Conditions for Setting the DTC are met.
    • The PCM assumes a D4 shift pattern.
    • The PCM freezes transmission adaptive functions.
    • The PCM disables TAP shift functions.
    • The PCM records the operating conditions when the Conditions for Setting the DTC are met. The PCM stores this information as Freeze Frame and Failure Records.
    • The PCM stores DTC P1818 in PCM history during the second consecutive trip in which the Conditions for Setting the DTC are met.

Conditions for Clearing the MIL/DTC

    • The PCM turns OFF the MIL during the third consecutive trip in which the diagnostic test runs and passes.
    • A scan tool can clear the MIL/DTC.
    • The PCM clears the DTC from PCM history if the vehicle completes 40 warm-up cycles without an emission-related diagnostic fault occurring.
    • The PCM cancels the DTC default actions when the ignition switch is OFF long enough in order to power down the PCM.

Test Description

The numbers below refer to the step numbers on the diagnostic table.

  1. This step tests the indicated range signal to the manual valve range actually selected.

  2. This step tests for correct voltage from the PCM.

Step

Action

Yes

No

1

Did you perform the Diagnostic System Check - Vehicle?

Go to Step 2

Go to Diagnostic System Check - Vehicle in Vehicle DTC Information

2

Did you perform the Transmission Fluid Checking Procedure?

Go to Step 3

Go to Transmission Fluid Check

3

  1. Install a scan tool.
  2. Turn ON the ignition, with the engine OFF.
  3. Important: Before clearing the DTC, use the scan tool in order to record the Freeze Frame and Failure Records. Using the Clear Info function erases the Freeze Frame and Failure Records from the PCM.

  4. Record the DTC Freeze Frame and Failure Records.
  5. Clear the DTC.
  6. Start the engine and idle at the normal operating temperature.
  7. Select TFP Sw. on the scan tool.
  8. Apply the brake pedal.
  9. Select each transmission range: P, R, N, D4, D3, D2 and D1.

Does each selected transmission range match the scan tool TFP Sw. display?

Go to Intermittent Conditions in Engine Controls - 3.5L

Go to Step 4

4

  1. Inspect the transmission linkage from the gear select lever to the manual valve for proper adjustment.
  2. Adjust the linkage as necessary.

Did the linkage require adjustment?

Go to Step 16

Go to Step 5

5

  1. Turn OFF the ignition.
  2. Disconnect the AT inline 20-way connector. Additional DTCs may set.
  3. Turn ON the ignition, with the engine OFF.

Does the scan tool TFP Sw. Sig. B/Sig. C parameter indicate HI for all range states?

Go to Step 6

Go to Step 9

6

  1. Turn OFF the ignition.
  2. Install the J 44152 jumper harness (20 pins) on the engine side of the AT inline 20-way connector.
  3. Turn ON the ignition, with the engine OFF.
  4. Using the DMM and the J 35616 GM-approved terminal test kit, measure the voltage from the TFP signal B circuit of the J 44152 to ground.
  5. Refer to Automatic Transmission Inline 20-Way Connector End View .

  6. Measure the voltage from the TFP signal C circuit of the J 44152 to ground.

Does the voltage measure ignition voltage at both terminals?

Go to Step 7

Go to Step 10

7

Connect a fused jumper wire from the TFP signal B circuit of the J 44152 to ground while monitoring the scan tool TFP Sw. Sig. B/Sig. C parameter.

Refer to Automatic Transmission Inline 20-Way Connector End View .

When the TFP signal B circuit is grounded, do any other signal circuits indicate LOW?

Go to Step 11

Go to Step 8

8

Connect a fused jumper wire from the TFP signal C circuit of the J 44152 to ground while monitoring the scan tool TFP Sw. Sig. B/Sig. C parameter.

Refer to Automatic Transmission Inline 20-Way Connector End View .

When the TFP signal C circuit is grounded, do any other signal circuits indicate LOW?

Go to Step 11

Go to Step 12

9

Test the signal circuits of the TFP manual valve position switch that did not indicate HI for a short to a ground between the PCM connector C3 and the AT inline 20-way connector.

Refer to Testing for Short to Ground and Wiring Repairs in Wiring Systems.

Did you find and correct a condition?

Go to Step 16

Go to Step 15

10

Test the signal circuits of the TFP manual valve position switch that did not indicate ignition voltage for an open between the PCM connector C3 and the AT inline 20-way connector.

Refer to Testing for Continuity and Wiring Repairs in Wiring Systems.

Did you find and correct a condition?

Go to Step 16

Go to Step 15

11

Test the affected signal circuits of the TFP manual valve position switch for a shorted together condition between the PCM connector C3 and the AT inline 20-way connector.

Refer to Circuit Testing and Wiring Repairs in Wiring Systems.

Did you find and correct a condition?

Go to Step 16

Go to Step 15

12

Test the affected signal circuits of the TFP manual valve position switch for an open or shorted condition between the AT inline 20-way connector and the TFP manual valve position switch.

Refer to Circuit Testing in Wiring Systems.

Did you find the condition?

Go to Step 13

Go to Step 14

13

Replace the automatic transmission wiring harness.

Refer to Wiring Harness Replacement .

Did you complete the replacement?

Go to Step 16

--

14

Replace the TFP manual valve position switch.

Refer to Transmission Fluid Pressure Manual Valve Position Switch Replacement .

Did you complete the replacement?

Go to Step 16

--

15

Replace the PCM.

Refer to Powertrain Control Module Replacement in Engine Controls - 3.5L.

Is the replacement complete?

Go to Step 16

--

16

Perform the following procedure in order to verify the repair:

  1. Select DTC.
  2. Select Clear Info.
  3. Operate the vehicle in each drive range for 5 seconds.
  4. Select Specific DTC.
  5. Enter DTC P1818.

Has the test run and passed?

Go to Step 17

Go to Step 2

17

With the scan tool, observe the stored information, capture info and DTC info.

Does the scan tool display any DTCs that you have not diagnosed?

Go to Diagnostic Trouble Code (DTC) List - Vehicle in Vehicle DTC Information

System OK