GM Service Manual Online
For 1990-2009 cars only
Makes
🢒
Chevrolet
🢒
2005
🢒
Malibu
🢒 Controlled/Monitored Subsystem References
Controlled/Monitored Subsystem References
Controlled/Monitored Subsystem References
Master Electrical Component List
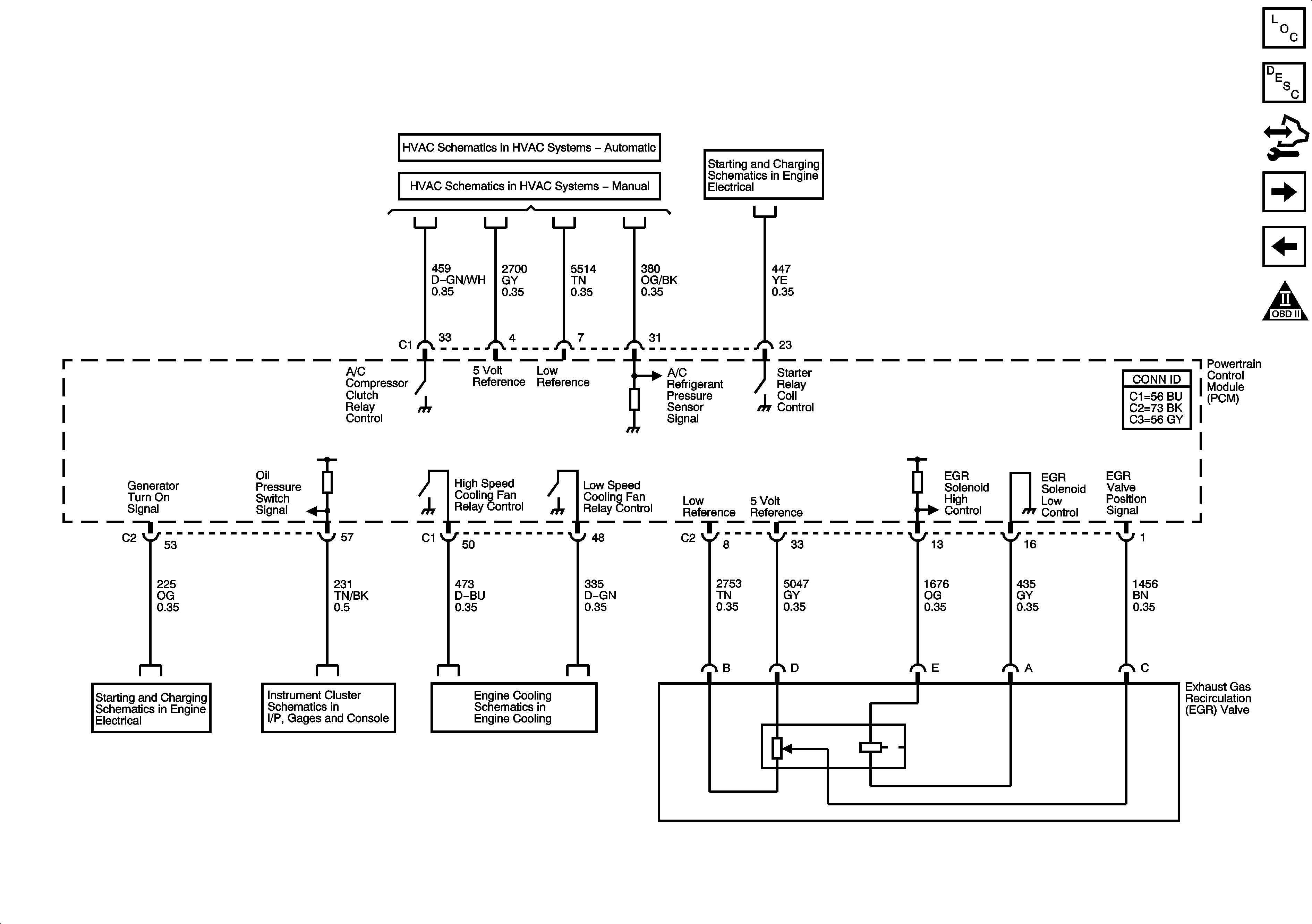
Exhaust Gas Recirculation (EGR) System Description
Control Module References
Transmission Control References
Fuel Controls - Fuel Injectors and EVAP
OBD II Symbol Description Notice
Power, Ground, A/C Compressor Clutch and Blower Motor Controls
Power, Ground, and Blower Motor Controls
Starting
Charging
Indicators
Engine Cooling Fans