GM Service Manual Online
For 1990-2009 cars only
Makes
🢒
Chevrolet
🢒
2005
🢒
Malibu
🢒 Shift Lock Control System
Shift Lock Control System
Master Electrical Component List
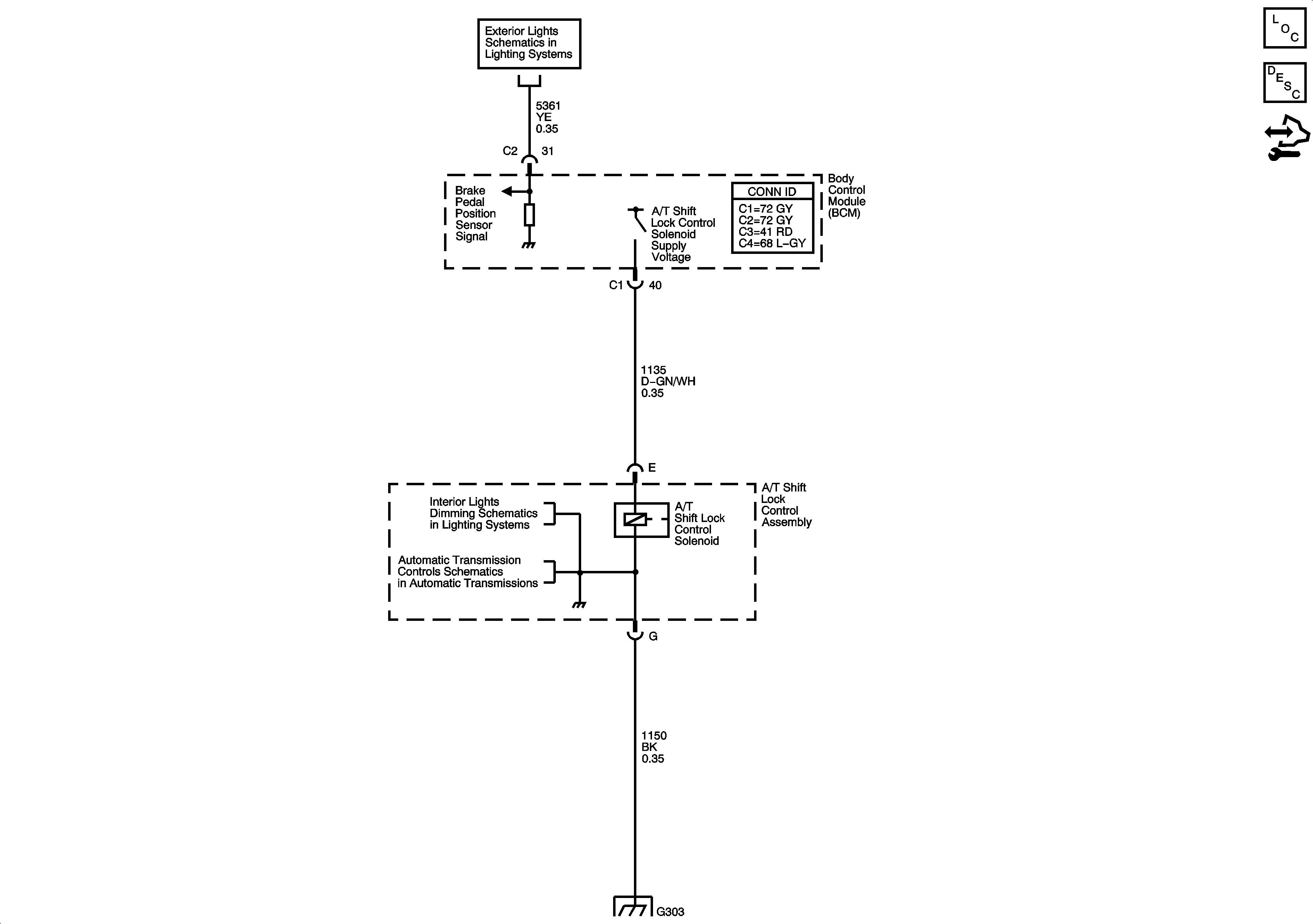
Automatic Transmission Shift Lock Control Description and Operation
Control Module References
Ambient Light Sensor, Brake Pedal Position Sensor, Hazard Switch and Turn Signal/Multifunction Switch
Seats and Center Console
Tap Up/Tap Down
G303