GM Service Manual Online
For 1990-2009 cars only
Makes
🢒
Chevrolet
🢒
2005
🢒
Malibu
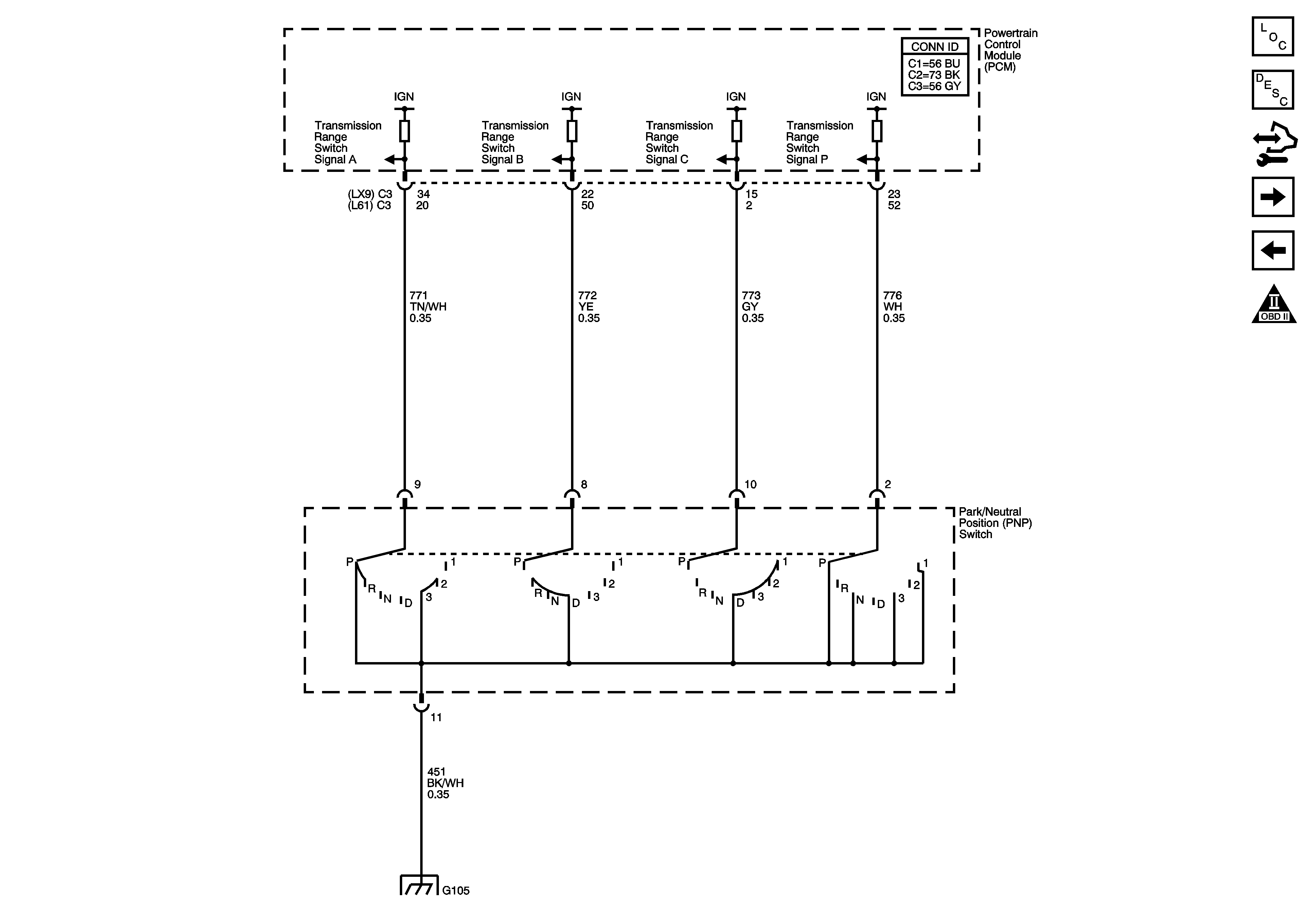
🢒 PNP Switch
PNP Switch
PNP Switch
Master Electrical Component List
Electronic Component Description
Control Module References
Tap Up/Tap Down
Transmission Switches, TFT and A/T ISS Sensor
OBD II Symbol Description Notice
G103, G104 and G105