GM Service Manual Online
For 1990-2009 cars only
Makes
🢒
Chevrolet
🢒
2006
🢒
Malibu
🢒
Steering
🢒
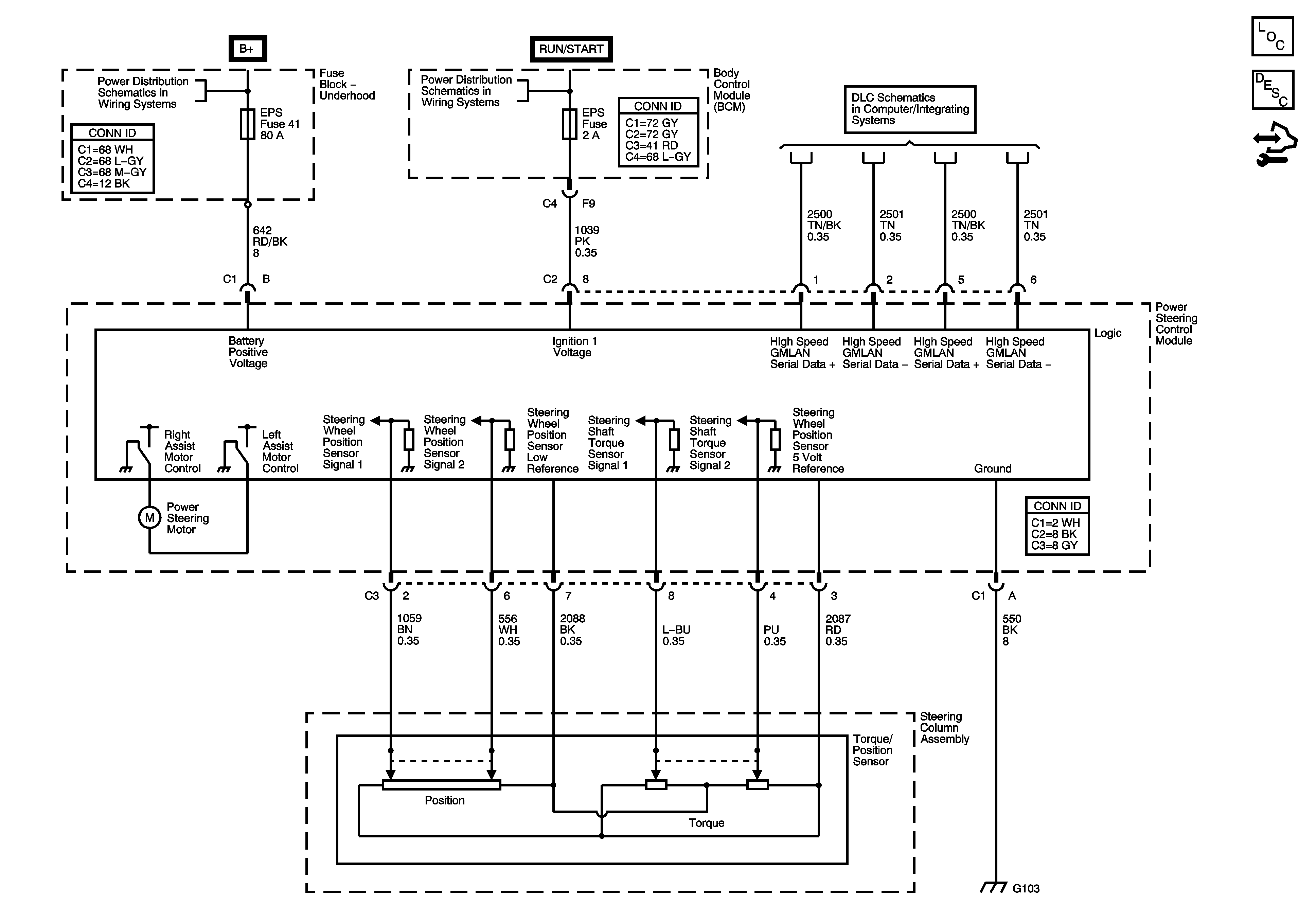
Power Steering System
🢒 Power Steering Schematics
Master Electrical Component List
Power Steering System Description and Operation (Electronic Power Steering)
Control Module References
Underhood Fuse Block, DRL Relay, LO/BEAM Relay, HI/BEAM Relay, ABS, DRL, EPS, IBCM1, IBCM2, LT HI BEAM, LT LOW BEAM, PCM, RT HI BEAM, RT LOW BEAM, TCM Fuses
Underhood Fuse Block, IBCM (RUN/CRANK), Body Control Module (BCM), AIR BAG (IGN), EPS and RUN/CRANK Fuses
Power, Ground, Class 2 and High Speed Serial Data
G103, G104, and G105