GM Service Manual Online
For 1990-2009 cars only
Figure 1:

PCM Power, Grounds, MIL Control, Serial Data


Object Number: 23095  Size: FS
Engine Controls Components
Data Link Connector Diagnosis
Ignition Control
OBD II Symbol Description Notice
Handling ESD Sensitive Parts Notice
Handling ESD Sensitive Parts Notice
Figure 2:

Ignition Control


Object Number: 23097  Size: FS
Engine Controls Components
Electronic Ignition (EI) System
Fuel Injection Control
PCM Power, Grounds, MIL Control, Serial Data
OBD II Symbol Description Notice
Handling ESD Sensitive Parts Notice
Handling ESD Sensitive Parts Notice
Figure 3:

Fuel Pump Control


Object Number: 23100  Size: FS
Engine Controls Components
Fuel Supply Components
A/C Pressure, TP, MAP, ECT, IAT Sensor
Fuel Injection Control
OBD II Symbol Description Notice
Handling ESD Sensitive Parts Notice
Handling ESD Sensitive Parts Notice
Figure 4:

Fuel Injection Control


Object Number: 23101  Size: FS
Engine Controls Components
Fuel Supply Components
Fuel Pump Control
Ignition Control
OBD II Symbol Description Notice
Handling ESD Sensitive Parts Notice
Figure 5:

A/C Pressure, TP, MAP, ECT, IAT Sensor


Object Number: 23108  Size: FS
Engine Controls Components
Information Sensors
EVAP, MAF, EGR Sensors
Fuel Pump Control
OBD II Symbol Description Notice
Handling ESD Sensitive Parts Notice
Handling ESD Sensitive Parts Notice
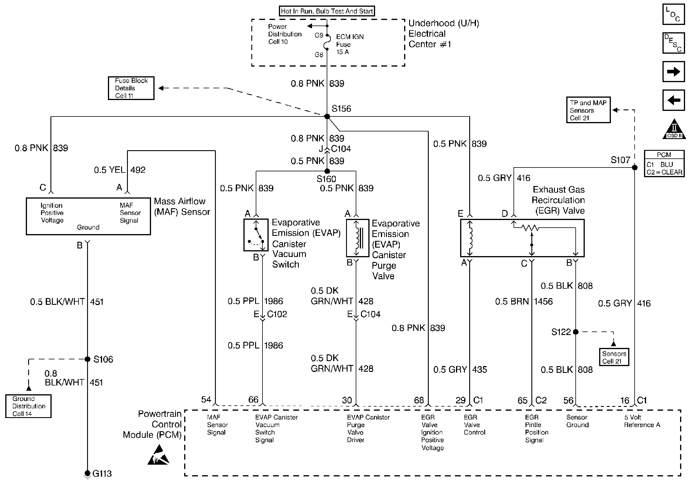
Figure 6:

EVAP, MAF, EGR Sensors


Object Number: 23111  Size: FS
Engine Controls Components
Information Sensors
HO2S Sensors
A/C Pressure, TP, MAP, ECT, IAT Sensor
OBD II Symbol Description Notice
Handling ESD Sensitive Parts Notice
Figure 7:

HO2S Sensors


Object Number: 23112  Size: FS
Engine Controls Components
Information Sensors
IAC Valve, Trans Range Oil Level
EVAP, MAF, EGR Sensors
OBD II Symbol Description Notice
Handling ESD Sensitive Parts Notice
Figure 8:

IAC Vavle, Trans Range Oil Level


Object Number: 23115  Size: FS
Engine Controls Components
Information Sensors
Cruise Control, VSS
HO2S Sensors
OBD II Symbol Description Notice
Handling ESD Sensitive Parts Notice
Figure 9:

Cruise Control, VSS


Object Number: 23118  Size: FS
Engine Controls Components
Information Sensors
TCC, Brake Switch
IAC Valve, Trans Range Oil Level
OBD II Symbol Description Notice
Handling ESD Sensitive Parts Notice
Handling ESD Sensitive Parts Notice
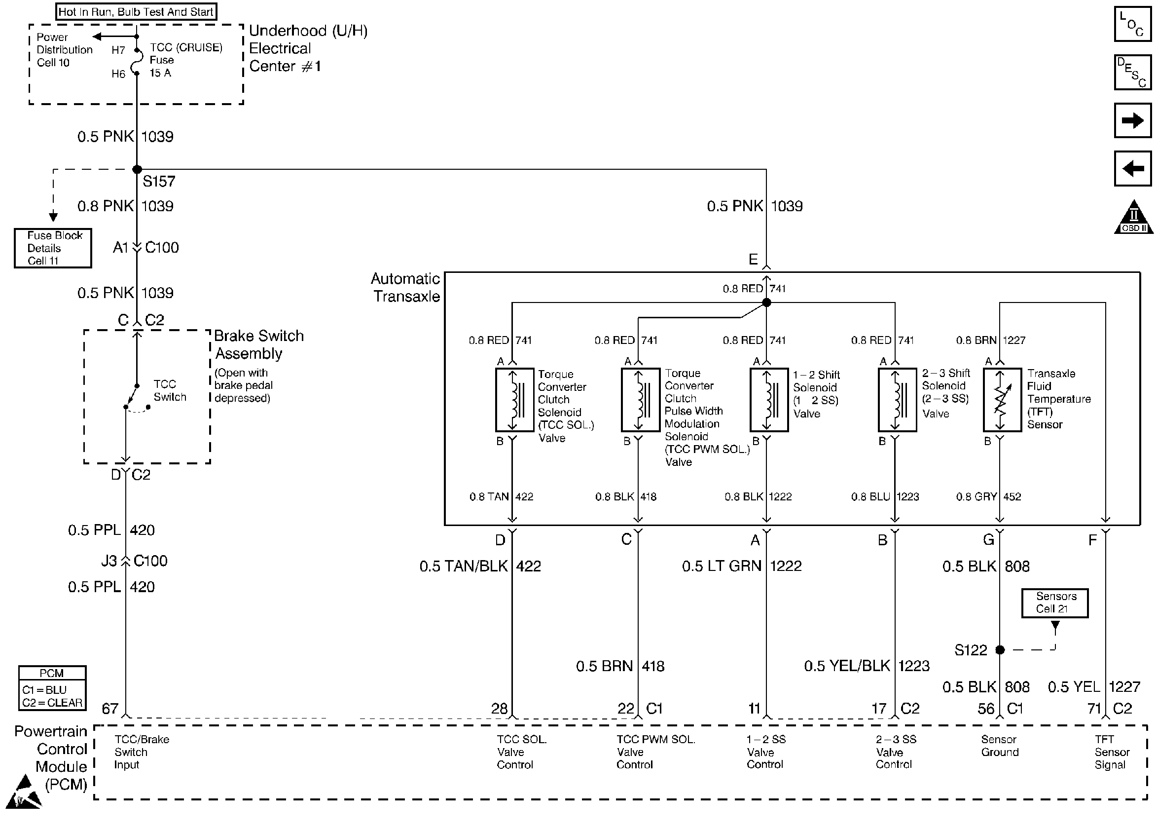
Figure 10:

TCC, Brake Switch


Object Number: 23127  Size: FS
Engine Controls Components
Information Sensors
AIR ,Gen Control Volts Lamp, Low Oil
Cruise Control, VSS
OBD II Symbol Description Notice
Handling ESD Sensitive Parts Notice
Figure 11:

AIR ,Gen Control Volts Lamp, Low Oil


Object Number: 23128  Size: FS
Engine Controls Components
Information Sensors
HAVOC A/C Control
TCC, Brake Switch
OBD II Symbol Description Notice
Handling ESD Sensitive Parts Notice
Handling ESD Sensitive Parts Notice
Figure 12:

HVAC A/C Control


Object Number: 23130  Size: FS
Engine Controls Components
Powertrain Control Module Controlled Air Conditioning
Engine Cooing Fans
AIR ,Gen Control Volts Lamp, Low Oil
OBD II Symbol Description Notice
Handling ESD Sensitive Parts Notice
Figure 13:

Engine Cooing Fans


Object Number: 23139  Size: FS
Engine Controls Components
Electric Cooling Fan
HAVOC A/C Control
OBD II Symbol Description Notice
Handling ESD Sensitive Parts Notice