GM Service Manual Online
For 1990-2009 cars only
Makes
🢒
Chevrolet
🢒
2004
🢒
Monte Carlo
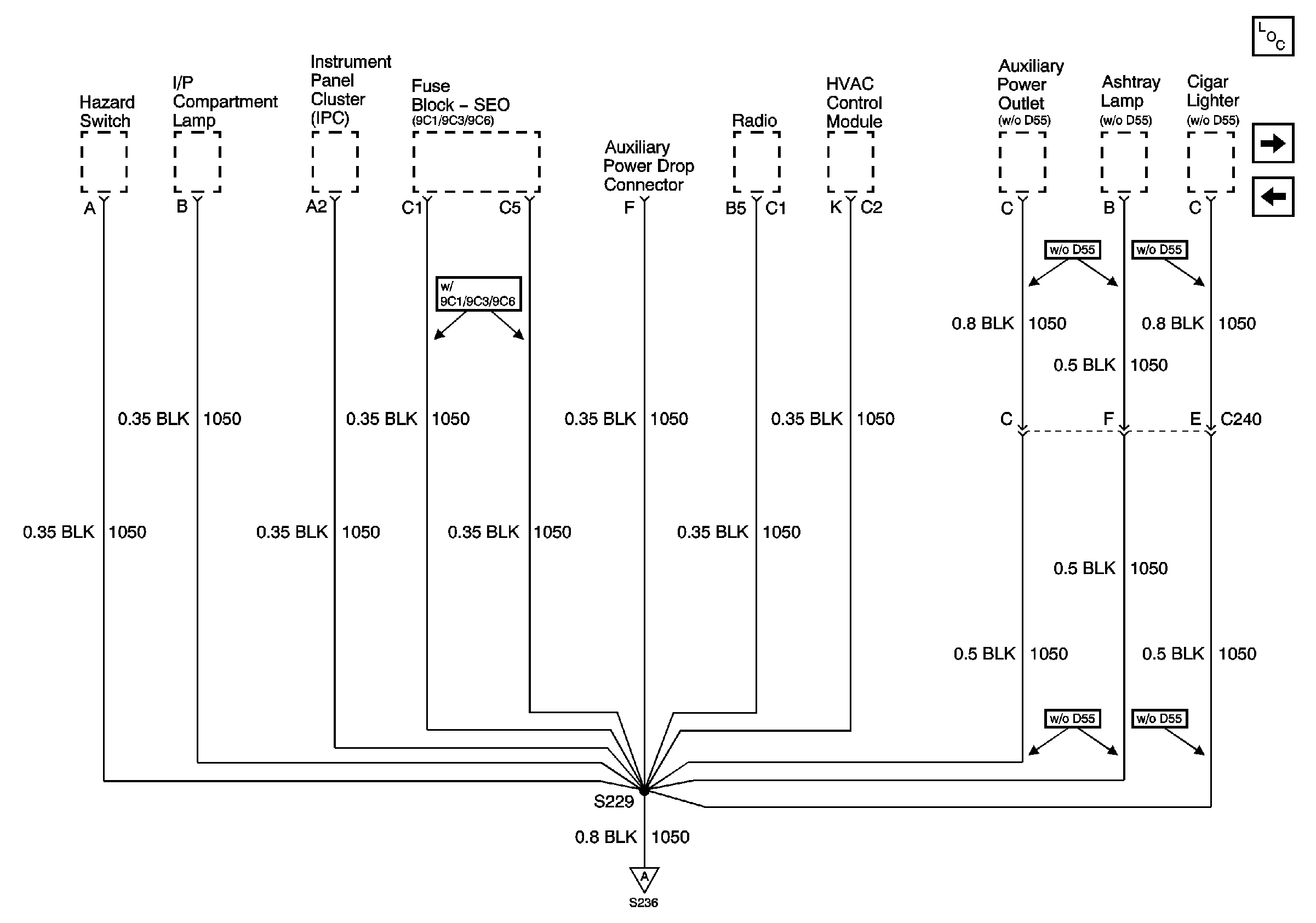
🢒 G201 [2 of 2]
G201 [2 of 2]
G201 (2 of 2) (Early Production)
Master Electrical Component List
G202
G201 [1 of 2]
G201 [1 of 2]