GM Service Manual Online
For 1990-2009 cars only
Makes
🢒
Chevrolet
🢒
2004
🢒
Monte Carlo
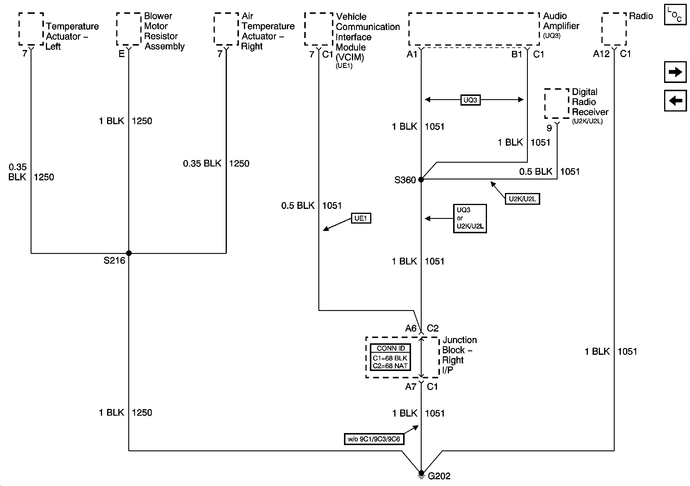
🢒 G202
G202
G202
Master Electrical Component List
G203 [1 of 3]
G201 [2 of 2]