GM Service Manual Online
For 1990-2009 cars only

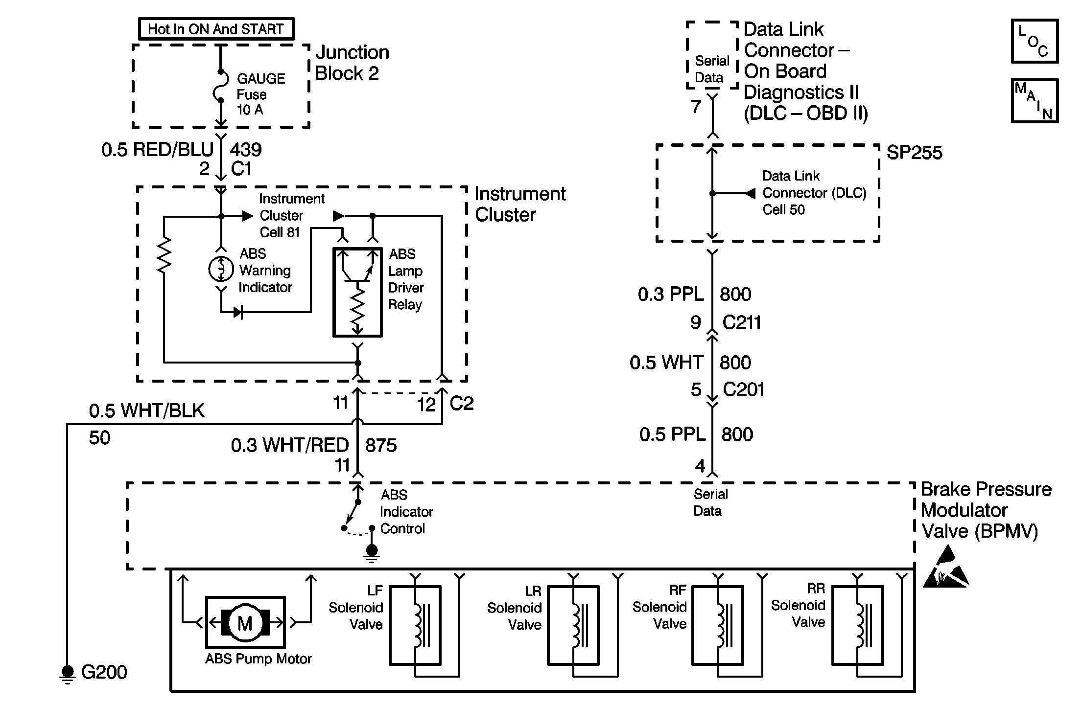
Object Number: 221416  Size: MF
ABS Components
Antilock Brake System Schematics

Circuit Description

The Electronic Brake Control Module (EBCM) turns ON the ABS warning indicator by grounding terminal 11.

The ABS warning indicator is connected to the GAUGE fuse. This circuit has power when the ignition switch is in the ON or START positions.

When the ignition switch is turned to the ON position, the EBCM turns ON the ABS warning indicator for 3 seconds for a bulb check. If the EBCM detects a malfunction, the ABS warning indicator will stay ON in order to warn the driver that the ABS is disabled and needs service.

Diagnostic Aids

Inspect for a short to ground between the EBCM and the instrument cluster.

Inspect the following harness connectors for improperly formed or damaged terminals, or for physical damage to the wiring harness before replacement of the following components:

    • The EBCM electrical connector
    • The instrument panel gage cluster electrical connector

The ABS indicator will remain ON until the vehicle is road tested after the repair of the following Diagnostic Trouble Codes:

    • C0036
    • C0041
    • C0046
    • C0051
    • C0110
    • C0114
    • C0116

Test Description

The number(s) below refer to the step number(s) on the diagnostic table.

  1. The Diagnostic System Check must be the starting point for any ABS related diagnosis.

  2. After repairs that set a certain DTCs (refer to Diagnostic Aids for specific DTCs) even after clearing DTCs the ABS will keep the ABS indicator ON until a road test is performed to confirm proper system operation.

  3. Determines whether there is a short to ground in the ABS indicator circuit or a faulty EBCM.

  4. Refer to Diagnostic Aids for a list of DTCs that need road test confirmation before the ABS indicator is turned OFF.

  5. A short to ground in CKT 875 will keep the ABS indicator ON.

Step

Action

Value(s)

Yes

No

1

Was the Diagnostic System Check performed?

--

Go to Step 2

Go to Diagnostic System Check

2

  1. Turn the ignition switch to the LOCK position.
  2. Disconnect the scan tool if one is connected to the Data Link Connector (DLC).
  3. Turn the ignition switch to the ON position.
  4. Test drive the vehicle at 24 km/h (15 mph) for 30 seconds.
  5. Stop the vehicle.

Is the ABS indicator ON?

--

Go to Step 3

Go to Step 4

3

  1. Turn the ignition switch to the LOCK position.
  2. Disconnect the Electronic Brake Control Module (EBCM) electrical connector.
  3. Turn the ignition switch to the ON position.

Is the ABS indicator ON?

--

Go to Step 5

Go to Step 6

4

The malfunction that caused the Electronic Brake Control Module (EBCM) to turn ON the ABS indicator is no longer present. When a specific DTC is deleted (after the malfunction that set the DTC is corrected or no longer present), the EBCM will keep the ABS indicator ON until the vehicle is road tested for repair confirmation. In other words, the DTC itself is erased but the ABS indicator remains on until the vehicle is road tested after repairs. Refer to Diagnostic Aids for additional information.

Is action complete?

--

Go to Diagnostic System Check

--

5

Repair the short to ground in CKT 875. Refer to Wiring Repairs in Wiring Systems.

Is the repair complete?

--

Go to Diagnostic System Check

--

6

Replace the brake pressure modulator valve assembly. Refer to Brake Pressure Modulator Valve Assembly Replacement .

Is action complete?

--

Go to Diagnostic System Check

--