GM Service Manual Online
For 1990-2009 cars only

Object Number: 221413  Size: SF
ABS Components
Antilock Brake System Schematics

System Description

The Diagnostic System Check is an organized approach to identifying an Antilock Brake System (ABS) malfunction. The Diagnostic System Check must be the starting point for any ABS complaint diagnosis. The Diagnostic System Check directs the service technician to the next logical step in diagnosing the complaint.

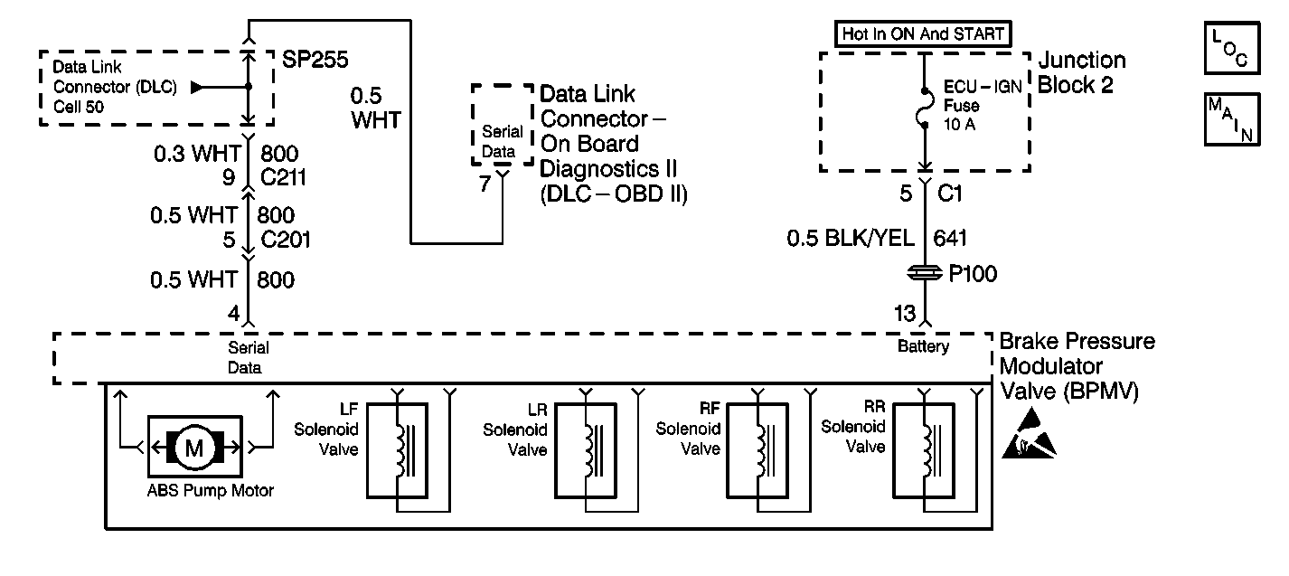
Circuit Description

The Electronic Brake Control Module (EBCM) receives ignition current through terminal 13. The EBCM receives battery current through terminal D (for pump motor) and terminal B (for solenoid valves). The EBCM is grounded through terminals C and A.

The EBCM interfaces with a scan tool through terminal 4 via to Data Link Connector (DLC) terminal 2. A properly set scan tool connected to the DLC can retrieve ABS diagnostic information like Diagnostic Trouble Codes (DTCs) and perform ABS device control for testing purposes.

Diagnostic Aids

Inspect for the following list of items when diagnosing this part of the Antilock Brake System (ABS):

    • An open ECU-IG fuse
    • An open ABS fuse
    • A clean tight G103

The EBCM will not interface with a scan tool if these circuits have excessive resistance:

    • The serial data line (CKT 800)
    • The ignition power circuit (CKT 641)
    • G103 and G200

Ensure that these circuits are in good condition and that no excessive resistance occurs. Also inspect the EBCM electrical connector for poor connector terminal contact.

Test Description

The number(s) below refer to the step number(s) on the diagnostic table.

  1. Tests the ABS warning indicator status. When a Diagnostic Trouble Code (DTC) is stored, the ABS lamp stays ON steady. When the ABS lamp turns ON for 3 seconds then turns OFF, the ABS is OK. If the ABS warning indicator does not turn ON at all, the ABS has an electrical problem (power and or grounds to the EBCM and or the ABS warning indicator).

  2. Test the ABS for possible DTCs set after an ABS stop.

  3. Tests for proper interface between a scan tool and the EBCM.

  4. Tests for any stored History DTCs.

  5. Tests for possible Current DTC.

  6. Determines whether the EBCM has DTCs stored or the ABS has a power and or ground and or ABS warning indicator circuit problem.

  7. Tests the scan tool for proper operation. A malfunctioning will lead to wrong diagnosis.

  8. Tests for an open in the serial data line (PPL wire).

  9. Up to five DTCs can be stored in the EBCM at any given time. In case that there is another DTC and five have already been set the EBCM will replace the least significant DTC with the new DTC.

  10. Only one Current DTC is displayed for the duration of the ignition cycle.

  11. Capture Data contains SNAP SHOT data (wheel speed sensor speeds, ABS status, stoplamp status) from the most recently set DTC.

  12. Directs the technician to the corresponding DTC table in this section for the proper diagnosis of the ABS.

Step

Action

Value(s)

Yes

No

1

  1. Turn the ignition switch to LOCK position.
  2. Inspect the Electronic Brake Control Module (EBCM) electrical connector for proper connection.
  3. Turn the ignition switch to On position while observing the ABS indicator.

Did the ABS indicator turn On for 3 seconds then turn OFF?

--

Go to Step 2

Go to Step 6

2

  1. Test drive vehicle at 24 km/h (15 mph) for 30 seconds.
  2. When driving conditions permit, perform an ABS stop bringing vehicle to complete stop.

Is the ABS indicator ON?

--

Go to Step 3

System OK

3

  1. Connect a scan tool to the Data Link Connector (DLC).
  2. Select S Platform from the Chassis Menu on the scan tool.

Did the scan tool establish communication with the vehicle?

--

Go to Step 4

Go to Step 7

4

  1. Select Diagnostic Trouble codes (DTC) from the Application Menu on the scan tool.
  2. Select Diagnostic Trouble Code Information on the scan tool.
  3. Select History Diagnostic Trouble Codes on the scan tool.

Are any History DTCs stored?

--

Go to Step 9

Go to Step 5

5

Select the Current Diagnostic Trouble Codes on the scan tool.

Are any Current DTCs stored?

--

Go to Step 11

Go to Step 17

6

Is the ABS indicator ON steady?

--

Go to Step 3

Go to Step 13

7

Test the scan tool for proper operation. Refer to the users manual for additional information.

Is the scan tool in good operating condition?

--

Go to Step 8

Go to Step 14

8

  1. Turn the ignition switch to LOCK position.
  2. Disconnect the scan tool from the DLC.
  3. Disconnect the Electronic Brake Control Module (EBCM) electrical connector.
  4. Use J 39200 DMM to measure the resistance between the EBCM electrical connector terminal 4 (harness side) and the DLC terminal 7.

Is the resistance within range specified in the Value(s) column?

0-2 ohms

Go to Step 16

Go to Step 15

9

Gather and record all History DTCs before proceeding with next step.

Is the action complete?

--

Go to Step 10

--

10

  1. Select the Current DTCs on the scan tool.
  2. Gather and record all Current DTC stored (if present) before proceeding with next step.

Is the action complete?

--

Go to Step 11

--

11

  1. Select Capture Data on the scan tool.
  2. Gather and record the capture data before proceeding with next step.

Is the action complete?

--

Go to Step 12

--

12

Go to the corresponding DTC table(s) for further diagnosis and repair of the ABS as follows:

    • Start with the DTC table for the Current DTC if present.
    • When dealing with History DTCs: If more than one History DTC is found start with the lowest DTC number first moving to the higher DTC number in sequence or as otherwise directed in a DTC table.
    • If the scan tool displays an undefined DTC refer to the Table C - Scan Tool Displays Undefined DTCs.

Is the action complete?

--

Go to Step 1

--

13

Refer to the ABS Indicator Inoperative table for further diagnosis.

Is the action complete?

--

Go to Step 1

--

14

Install a known-good scan tool to the DLC.

Is the action complete?

--

Go to Step 3

--

15

Repair an open or a high resistance in CKT  800 between the EBCM and the DLC.

Is the repair complete?

--

Go to Step 1

--

16

  1. Inspect the EBCM electrical connector for poor terminal contact.
  2. If the EBCM electrical connector is OK replace the brake pressure modulator valve assembly. Refer to Brake Pressure Modulator Valve Assembly Replacement .
  3. Repair any damage or poor terminal contact.
  4. Is the action complete?

--

Go to Step 1

--

17

Refer to ABS Indicator Always On for further diagnosis.

Is the action complete?

--

Go to Step 1

--